TOP
|
特許
|
意匠
|
商標
特許ウォッチ
Twitter
他の特許を見る
10個以上の画像は省略されています。
公開番号
2025174330
公報種別
公開特許公報(A)
公開日
2025-11-28
出願番号
2024080604
出願日
2024-05-17
発明の名称
道路基準線生成方法及び道路基準線生成装置
出願人
日産自動車株式会社
代理人
個人
,
個人
,
個人
主分類
G01C
21/26 20060101AFI20251120BHJP(測定;試験)
要約
【課題】車両の操作の際の車両特性に対する乗員の違和感を軽減する。
【解決手段】道路基準線生成方法では、自車両が現在走行している走行領域の地図上の基準点を示す地図ノード点の情報と地図ノード点同士をつなぐ地図リンク線の情報とを地図情報から取得し(S1)、自車両の現在位置及び進行方向を測定し(S2)、測定された現在位置及び進行方向とに基づいて地図ノード点及び地図リンク線を補正する(S6、S8)。地図ノード点の補正において、測定された進行方向又は地図リンク線に対して垂直方向に地図ノード点を補正する(S6)。
【選択図】図7
特許請求の範囲
【請求項1】
自車両が現在走行している走行領域の地図上の基準点を示す地図ノード点の情報と前記地図ノード点同士をつなぐ地図リンク線の情報とを地図情報から取得し、
前記自車両の現在位置及び進行方向を測定し、
測定された前記現在位置及び進行方向とに基づいて前記地図ノード点及び前記地図リンク線を補正し、
前記地図ノード点の補正は、前記測定された進行方向又は前記地図リンク線に対して垂直方向に前記地図ノード点の位置を補正することを特徴とする道路基準線生成方法。
続きを表示(約 1,200 文字)
【請求項2】
前記地図ノード点の情報は、前記地図ノード点の位置における前記走行領域の延在方向を表す角度情報を含み、
隣接する1対の前記地図ノード点のうち、前記自車両の進行方向手前側にある一方の地図ノード点の位置における前記走行領域の延在方向に基づいて、前記自車両の進行方向奥側にある他方の地図ノード点の推定位置を算出し、
算出された前記推定位置との誤差を低減するように前記他方の地図ノード点の位置を補正する、
ことを特徴とする請求項1に記載の道路基準線生成方法。
【請求項3】
前記測定された現在位置及び進行方向の測定精度が高い場合に比べて低い場合に、前記地図ノード点の補正量を小さくすることを特徴とする請求項1に記載の道路基準線生成方法。
【請求項4】
前記地図ノード点の情報は、前記地図ノード点の位置における前記走行領域の延在方向を表す角度情報を含み、
前記測定された進行方向に基づいて、前記測定された現在位置に最も近い前記地図ノード点の前記角度情報を補正することを特徴とする請求項1に記載の道路基準線生成方法。
【請求項5】
前記自車両が車線変更をしている区間において、前記地図ノード点の前記角度情報の補正を禁止することを特徴とする請求項4に記載の道路基準線生成方法。
【請求項6】
前記地図リンク線の交差点となる前記地図ノード点の補正を禁止することを特徴とする請求項1に記載の道路基準線生成方法。
【請求項7】
前記自車両の進行方向を複数回測定した各々の時点において、同一の前記地図ノード点が前記自車両の位置に最も近い場合に、複数回測定された前記進行方向の平均値に基づいて前記同一の地図ノード点を補正することを特徴とする請求項1に記載の道路基準線生成方法。
【請求項8】
車載センサにより検出した道路区画線上の点列の座標を、請求項1~7のいずれか一項に記載の道路基準線生成方法により補正した前記地図リンク線に沿った方向を第1座標軸とし前記地図リンク線に直交する方向を第2座標軸とする基準線座標系に変換し、変換後の点列の座標に基づいて道路区画線を検出することを特徴とする道路区画線検出方法。
【請求項9】
自車両の現在位置及び進行方向を測定する測位装置と、
前記自車両が現在走行している走行領域の地図上の基準点を示す地図ノード点の情報と前記地図ノード点同士をつなぐ地図リンク線の情報とを地図情報から取得する処理と、測定した前記現在位置及び進行方向とに基づいて前記地図ノード点及び前記地図リンク線を補正する処理と、を実行するコントローラと、
を備え、前記コントローラは、前記測定した進行方向又は前記地図リンク線に対して垂直方向に前記地図ノード点の位置を補正する、ことを特徴とする道路基準線生成装置。
発明の詳細な説明
【技術分野】
【0001】
本発明は、道路基準線生成方法及び道路基準線生成装置に関する。
続きを表示(約 1,500 文字)
【背景技術】
【0002】
特許文献1には、車線リンク(車線中央線)を、区画線の認識結果から自動的に生成する車線リンク生成装置が記載されている。
【先行技術文献】
【特許文献】
【0003】
国際公開第2020/080257号パンフレット
【発明の概要】
【発明が解決しようとする課題】
【0004】
特許文献1に記載の車線リンク生成装置は、自車両の推定位置や推定姿勢の誤差を考慮していない。このためこれらの誤差が大きい状況では、車線リンクの精度が低下する虞がある。
本発明は、車両の走行領域を表す地図リンク線の形状を精度良く補正することを目的とする。
【課題を解決するための手段】
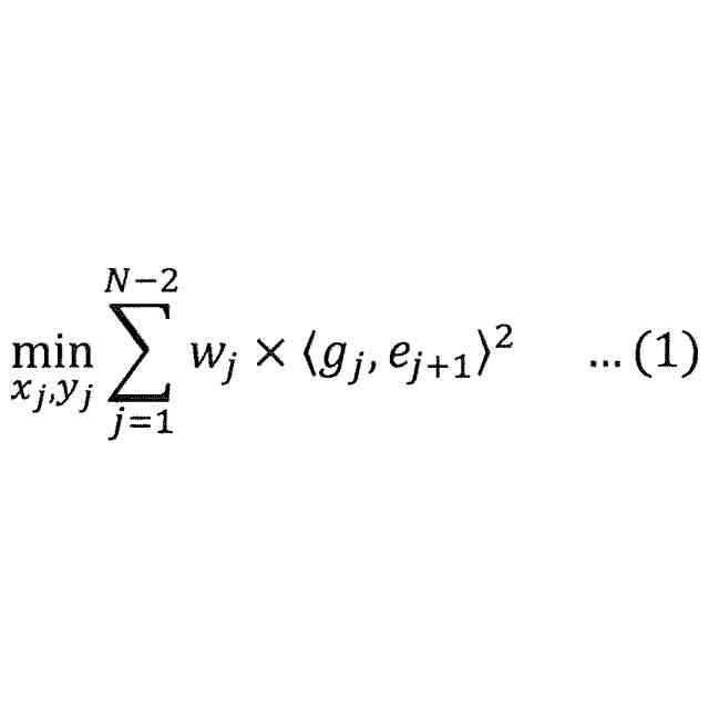
【0005】
本発明の一態様による道路基準線生成方法では、自車両が現在走行している走行領域の地図上の基準点を示す地図ノード点の情報と地図ノード点同士をつなぐ地図リンク線の情報とを地図情報から取得し、自車両の現在位置及び進行方向を測定し、測定された現在位置及び進行方向とに基づいて地図ノード点及び地図リンク線を補正する。地図ノード点の補正において、測定された進行方向又は地図リンク線に対して垂直方向に地図ノード点を補正する。
【発明の効果】
【0006】
本発明によれば、車両の走行領域を表す地図リンク線の形状を精度良く補正できる。
【図面の簡単な説明】
【0007】
実施形態の道路基準線生成装置の一例の概略構成図である。
コントローラの機能構成の一例のブロック図である。
地図情報の一例の模式図である。
(a)及び(b)は地図ノード点及び地図リンク線の補正の一例の模式図である。
地図リンク線の交差点となる地図ノード点の一例の模式図である。
(a)及び(b)は道路区画線検出方法の一例の模式図である。
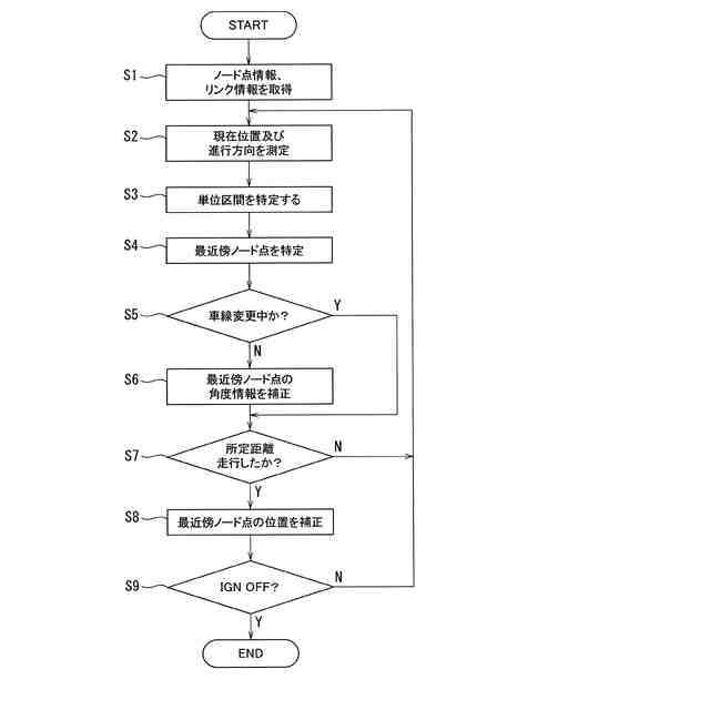
実施形態の道路基準線生成方法の一例のフローチャートである。
【発明を実施するための形態】
【0008】
以下、本発明の実施形態について、図面を参照しつつ説明する。なお、各図面は模式的なものであって、現実のものとは異なる場合がある。また、以下に示す本発明の実施形態は、本発明の技術的思想を具体化するための装置や方法を例示するものであって、本発明の技術的思想は、構成部品の構造、配置等を下記のものに特定するものではない。本発明の技術的思想は、特許請求の範囲に記載された請求項が規定する技術的範囲内において、種々の変更を加えることができる。
【0009】
(構成)
図1は、実施形態の道路基準線生成装置の一例の概略構成図である。自車両1は、自車両1に搭載された測位装置の測定結果に基づいて道路基準線の情報を補正する道路基準線生成装置10を備える。道路基準線とは、車両が走行可能な走行領域(道路や車線等)の態様(位置及び形状等)を示す基準線(例えば道路の中心線)である。
道路基準線生成装置10は、物体センサ11と、測位装置12と、地図データベース(地図DB)13と、コントローラ14を備える。
【0010】
物体センサ11は、自車両1の周辺の物体を検出する車載センサである。物体センサ11は、自車両1の周辺に存在する物体と自車両1との相対位置、自車両1と物体との距離、物体が存在する方向などの自車両1の周辺環境を検出する。物体センサ11は、例えば自車両1の周辺環境を撮影するカメラを含んでよい。
(【0011】以降は省略されています)
この特許をJ-PlatPat(特許庁公式サイト)で参照する
関連特許
日産自動車株式会社
保持機構
1か月前
日産自動車株式会社
電子機器
10日前
日産自動車株式会社
二次電池
1か月前
日産自動車株式会社
電動車両
26日前
日産自動車株式会社
保持機構
1か月前
日産自動車株式会社
吸気装置
4日前
日産自動車株式会社
二次電池
1か月前
日産自動車株式会社
内燃機関
23日前
日産自動車株式会社
積層型電池
1か月前
日産自動車株式会社
面圧付与機構
1か月前
日産自動車株式会社
面圧付与機構
1か月前
日産自動車株式会社
ロータシャフト
18日前
日産自動車株式会社
ロータシャフト
18日前
日産自動車株式会社
電池モジュール
24日前
日産自動車株式会社
電池モジュール
2日前
日産自動車株式会社
電池モジュール
1か月前
日産自動車株式会社
車両用排気部構造
23日前
日産自動車株式会社
リチウム二次電池
23日前
日産自動車株式会社
リチウム二次電池
1か月前
日産自動車株式会社
塗装方法及び自動車
25日前
日産自動車株式会社
全固体電池システム
2日前
日産自動車株式会社
エアレスタイヤ構造
10日前
日産自動車株式会社
ピックアップトラック
4日前
日産自動車株式会社
支援方法及び支援装置
4日前
日産自動車株式会社
エンジンのアンダカバー
1か月前
日産自動車株式会社
パワー半導体モジュール
2日前
日産自動車株式会社
ギヤ装置のブリーザ構造
1か月前
株式会社ニフコ
締結構造
1か月前
日産自動車株式会社
車両用荷室における排熱構造
1か月前
日産自動車株式会社
相乗り可否判定方法及び装置
1か月前
日産自動車株式会社
車両乗り合わせ方法及び装置
3日前
日産自動車株式会社
運転支援方法及び運転支援装置
1か月前
日産自動車株式会社
画像表示方法及び画像表示装置
1か月前
日産自動車株式会社
施錠制御方法及び施錠制御装置
1か月前
日産自動車株式会社
画像処理方法及び画像処理装置
1か月前
日産自動車株式会社
車両制御装置及び車両制御方法
1か月前
続きを見る
他の特許を見る