TOP
|
特許
|
意匠
|
商標
特許ウォッチ
Twitter
他の特許を見る
10個以上の画像は省略されています。
公開番号
2025174318
公報種別
公開特許公報(A)
公開日
2025-11-28
出願番号
2024080572
出願日
2024-05-17
発明の名称
レベル計、レベル計システム、およびレベル計システム用通信アダプタ
出願人
株式会社キーエンス
代理人
弁理士法人森本国際特許事務所
主分類
G01F
23/00 20220101AFI20251120BHJP(測定;試験)
要約
【課題】外部機器との通信が容易なレベル計を提供する。
【解決手段】レベル計10は、レベル決定部と、WEBサーバ51とを備える。レベル決定部は、容器内の媒体のレベルを決定する。WEBサーバ51は、レベル決定部で決定されるレベルを示すモニタWEB画面81を提供するWEBサーバ51を備える。
【選択図】図2
特許請求の範囲
【請求項1】
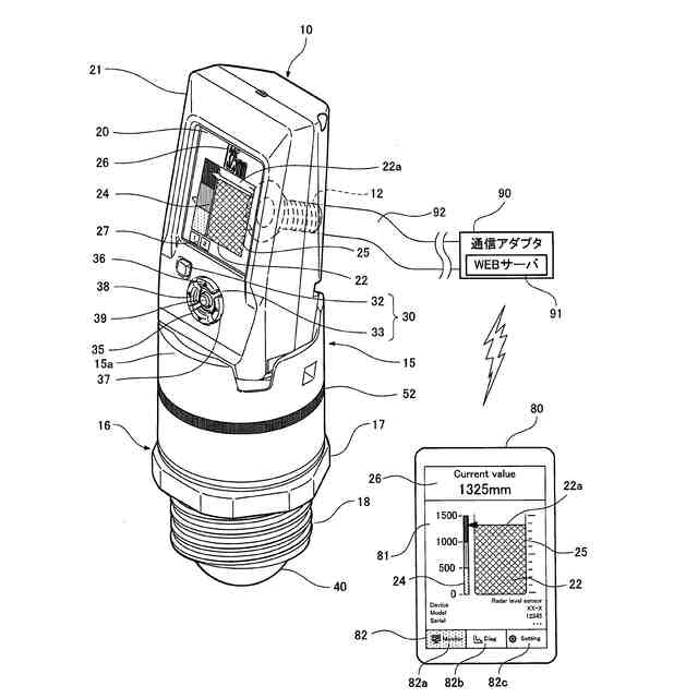
容器内の媒体のレベルに応じた検出信号を生成する検出素子と、
前記容器に関する設定情報を記憶するメモリと、
前記検出素子により生成される検出信号に基づいて距離と信号強度とに関する検出波形を取得すると共に、前記検出波形と前記設定情報とに基づいて前記レベルを決定するレベル決定部と、
前記レベル決定部で決定される前記レベルを示すモニタ画面、および前記設定情報を設定する設定画面を表示する表示部と、
前記設定情報を設定するための操作入力を受け付ける操作部と、
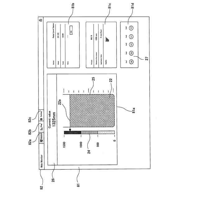
前記レベル決定部で決定される前記レベルを示すモニタWEB画面、および前記設定情報と前記検出波形とを関連付けて表示する診断WEB画面とを提供するWEBサーバと、
を備えるレベル計。
続きを表示(約 1,700 文字)
【請求項2】
前記診断WEB画面は、
前記容器と前記レベル計を模した表示、および前記レベル決定部が決定した前記レベルに応じた表示が行われる容器表示領域と、
前記検出波形に応じた表示が行われる波形表示領域と、
前記設定情報に応じた表示が行われる設定表示領域と、
を含む、請求項1に記載のレベル計。
【請求項3】
前記診断WEB画面は、前記レベル計の操作方法を説明する表示が行われるトラブルシューティング表示領域をさらに含む、請求項2に記載のレベル計。
【請求項4】
前記容器表示領域および前記波形表示領域の表示は、前記設定情報に応じてスケーリングされる、請求項2に記載のレベル計。
【請求項5】
前記容器表示領域および前記波形表示領域の少なくとも一方には、前記設定情報に応じて、容器上面図形、容器下面図形、近傍マスク領域図形、遠方マスク領域図形が表示され、
前記上面図形は、前記レベル計から前記容器の上面までの上面距離を示す図形であり、
前記下面図形は、前記レベル計から前記容器の下面までの下面距離を示す図形であり、
前記近傍マスク領域図形は、前記レベル計による前記レベルの検出対象となる範囲のうち前記レベル計に近い側の近傍境界を示す図形であり、
前記遠方マスク領域図形は、前記レベル計による前記レベルの検出対象となる範囲のうち前記レベル計から遠い側の遠方境界を示す図形である、
請求項2に記載のレベル計。
【請求項6】
前記設定表示領域は、前記上面距離、前記下面距離、前記近傍境界、前記遠方境界の数値を入力する操作を受け付ける設定入力欄を含み、
前記容器上面図形、前記容器下面図形、前記近傍マスク領域図形、前記遠方マスク領域図形の表示は、前記設定入力欄に入力された数値に応じて動的に変化する、請求項5に記載のレベル計。
【請求項7】
前記WEBサーバは、前記設定情報を記述した設定ファイルを受け付けることで、前記レベル計の前記メモリに記憶されている前記設定情報を、前記設定ファイルに記述された内容に更新させる、請求項1に記載のレベル計。
【請求項8】
容器内の媒体のレベルに応じた検出信号を生成する検出素子と、前記容器に関する設定情報を記憶するメモリと、前記検出素子により生成される検出信号に基づいて距離と信号強度とに関する検出波形を取得すると共に、前記検出波形と前記設定情報とに基づいて前記レベルを決定するレベル決定部と、前記レベル決定部で決定される前記レベルを示すモニタ画面、および前記設定情報を設定する設定画面を表示する表示部と、前記設定情報を設定するための操作入力を受け付ける操作部と、を備えるレベル計と、
前記レベル計と通信すると共に、前記レベル決定部で決定される前記レベルを示すモニタWEB画面および前記設定情報と前記検出波形とを関連付けて表示する診断WEB画面とを提供するWEBサーバと、
前記WEBサーバと通信すると共に、前記モニタWEB画面および前記診断WEB画面を表示するWEBブラウザを動作させる通信端末と、
を含むレベル計システム。
【請求項9】
請求項8に記載のレベル計システムにおいて前記レベル計から前記通信端末にかけての通信を中継する、レベル計システム用通信アダプタであって、
前記WEBサーバを備え、
前記レベル計が出力する第1の通信プロトコルの信号を受信して、前記レベル決定部で決定される前記レベル、前記検出波形、前記設定情報を含むレベル計情報を取得し、
前記レベル計情報、前記モニタWEB画面のデータ、前記診断WEB画面のデータを含むWEBブラウザ用情報を、前記通信端末が受け付ける第2の通信プロトコルで前記通信端末へ送信するレベル計システム用通信アダプタ。
【請求項10】
前記通信端末に対して無線通信を行う無線通信インタフェースをさらに備える、請求項9に記載のレベル計システム用通信アダプタ。
発明の詳細な説明
【技術分野】
【0001】
本発明は、収容物のレベルを測定するレベル計、レベル計を含むレベル計システム、およびレベル計システム用通信アダプタに関する。
続きを表示(約 2,000 文字)
【背景技術】
【0002】
液体、粉体、粒体などの、流動性を持つ物質を貯留する容器において、物質の界面の高さ、すなわちレベル(液面レベル、粉体上面レベルなど)を測定するレベル計が用いられることがある。こうしたレベル計は、測定されたレベルをユーザに対して表示する機能を備えている。例えば特許文献1に記載のレベル計は、測定された液面レベルを表示する表示部を備えている。
【先行技術文献】
【特許文献】
【0003】
特開2014-002091号公報
【発明の概要】
【発明が解決しようとする課題】
【0004】
特許文献1のレベル計においては、測定された界面レベルの現在値は、表示部に数値で表示される。ここで、一般的にレベル計が直接計測しているのはレベル計から界面までの距離であり、この距離をレベルに変換するためには、容器に関する情報(容器の高さ等)を適切に設定しなければならない。しかしながら、レベルの現在値が表示されるだけでは、ユーザは、現在設定されている容器に関する情報が、適切に設定されているかどうか、視覚的に把握することができない。
【0005】
また、レベル計に外部機器が接続されることがあるが、その外部機器はレベル計との通信機能を備えたものである必要があった。すなわち、レベル計が信号の入出力を行うための通信プロトコルに対応した外部機器でなければ、レベル計の測定したレベルの状態を表示したり、レベル計の動作設定を変更することに用いたりすることはできなかった。
【0006】
上記の問題に鑑み、本発明は、容器に関する設定が視覚的に把握し易く、かつ外部機器との通信が容易なレベル計、レベル計を含むレベル計システム、およびレベル計システム用通信アダプタを提供することを課題とする。
【課題を解決するための手段】
【0007】
上記課題を解決するため、本発明に係る実施形態の一例としてのレベル計は、検出素子と、メモリと、レベル決定部と、表示部と、操作部と、WEBサーバとを備える。検出素子は、容器内の媒体のレベルに応じた検出信号を生成する。メモリは、容器に関する設定情報を記憶する。レベル決定部は、検出素子により生成される検出信号に基づいて距離と信号強度とに関する検出波形を取得すると共に、検出波形と設定情報とに基づいてレベルを決定する。表示部は、レベル決定部で決定されるレベルを示すモニタ画面、および設定情報を設定する設定画面を表示する。操作部は、設定情報を設定するための操作入力を受け付ける。WEBサーバは、レベル決定部で決定されるレベルを示すモニタWEB画面、および設定情報と検出波形とを関連付けて表示する診断WEB画面とを提供する。
【0008】
また、本発明に係る実施形態の別例としてのレベル計システムは、レベル計と、WEBサーバと、通信端末とを含む。前記レベル計は、容器内の媒体のレベルに応じた検出信号を生成する検出素子と、容器に関する設定情報を記憶するメモリと、検出素子により生成される検出信号に基づいて距離と信号強度とに関する検出波形を取得すると共に、検出波形と設定情報とに基づいてレベルを決定するレベル決定部と、レベル決定部で決定されるレベルを示すモニタ画面、および設定情報を設定する設定画面を表示する表示部と、設定情報を設定するための操作入力を受け付ける操作部と、を備える。前記WEBサーバは、レベル計と通信すると共に、レベル決定部で決定されるレベルを示すモニタWEB画面および設定情報と検出波形とを関連付けて表示する診断WEB画面とを提供する。通信端末は、WEBサーバと通信すると共に、モニタWEB画面および診断WEB画面を表示するWEBブラウザを動作させる。
【0009】
また、本発明に係る実施形態のさらなる別例としてのレベル計システム用通信アダプタは、上述のレベル計システムにおいてレベル計から通信端末にかけての通信を中継する。レベル計システム用通信アダプタは、WEBサーバを備える。またレベル計システム用通信アダプタは、レベル計が出力する第1の通信プロトコルの信号を受信して、レベル決定部で決定されるレベル、検出波形、設定情報を含むレベル計情報を取得し、レベル計情報、モニタWEB画面のデータ、診断WEB画面のデータを含むWEBブラウザ用情報を、通信端末が受け付ける第2の通信プロトコルで通信端末へ送信する。
【発明の効果】
【0010】
本発明によれば、容器に関する設定情報が検出波形と関連付けて表示されるため、設定情報が視覚的に把握し易い。また、WEBサーバによってモニタWEB画面および診断WEB画面が提供されるため、WEBブラウザを備えた外部機器とレベル計との通信が容易である。
【図面の簡単な説明】
(【0011】以降は省略されています)
この特許をJ-PlatPat(特許庁公式サイト)で参照する
関連特許
個人
採尿及び採便具
1か月前
日本精機株式会社
検出装置
24日前
個人
計量機能付き容器
19日前
日本精機株式会社
発光表示装置
2日前
株式会社カクマル
境界杭
9日前
甲神電機株式会社
電流検出装置
24日前
株式会社ミツトヨ
測定器
1か月前
株式会社トプコン
測量装置
1日前
アズビル株式会社
電磁流量計
1か月前
大成建設株式会社
風洞実験装置
19日前
双庸電子株式会社
誤配線検査装置
25日前
日本特殊陶業株式会社
ガスセンサ
1日前
愛知時計電機株式会社
ガスメータ
1か月前
個人
計量具及び計量機能付き容器
19日前
愛知電機株式会社
軸部材の外観検査装置
1か月前
大和製衡株式会社
組合せ計量装置
1か月前
大和製衡株式会社
組合せ計量装置
1か月前
個人
システム、装置及び実験方法
1か月前
日本信号株式会社
距離画像センサ
22日前
個人
非接触による電磁パルスの測定方法
22日前
日本特殊陶業株式会社
ガスセンサ
17日前
株式会社不二越
X線測定装置
22日前
個人
液位検視及び品質監視システム
17日前
日本特殊陶業株式会社
センサ
3日前
トヨタ自動車株式会社
測定システム
1か月前
日本特殊陶業株式会社
センサ
1か月前
株式会社タイガーカワシマ
揚穀装置
1日前
キーコム株式会社
画像作成システム
9日前
株式会社デンソー
電流センサ
1か月前
日東精工株式会社
振動波形検査装置
25日前
理研計器株式会社
ガス検知装置
9日前
株式会社エルメックス
希釈液収容容器
19日前
アンリツ株式会社
X線検査装置
1か月前
株式会社マグネア
磁界検出素子
22日前
株式会社電巧社
試験装置及び試験方法
25日前
住友化学株式会社
電気化学センサ
1か月前
続きを見る
他の特許を見る