TOP
|
特許
|
意匠
|
商標
特許ウォッチ
Twitter
他の特許を見る
10個以上の画像は省略されています。
公開番号
2025174282
公報種別
公開特許公報(A)
公開日
2025-11-28
出願番号
2024080456
出願日
2024-05-16
発明の名称
撮像装置、撮像装置の制御方法
出願人
キヤノン株式会社
代理人
個人
,
個人
,
個人
主分類
G01N
21/3581 20140101AFI20251120BHJP(測定;試験)
要約
【課題】照射角の調整とフォーカス合わせを同時に行うハンディタイプのテラヘルツ撮像装置を提供する。
【解決手段】撮像装置は、テラヘルツ波を照射する発光素子と、反射されたテラヘルツ波を検出する撮像素子と、フォーカスレンズを備え、テラヘルツ波を撮像素子に結像する結像光学系と、発光素子を支持する支持部材と、支持部材の姿勢を変更する姿勢変更手段と、フォーカスレンズの位置を変更するフォーカス変更手段と、設定距離情報が入力される入力手段と、設定距離情報に基づき支持部材の姿勢の変更と、フォーカスレンズの位置の変更とを実行する実行手段を有する。
【選択図】図4
特許請求の範囲
【請求項1】
テラヘルツ波を被写体に照射する発光素子と、
被写体で反射されたテラヘルツ波を検出する撮像素子と、
フォーカスレンズを備え、被写体で反射されたテラヘルツ波を前記撮像素子に結像する結像光学系と、
前記発光素子を支持する支持部材と、
前記支持部材を支持する筐体と、
前記筐体に対する前記支持部材の姿勢を変更する姿勢変更手段と、
前記結像光学系に設けられ、前記フォーカスレンズの位置を変更するフォーカス変更手段と、
前記撮像素子から被写体までの距離の設定値である設定距離情報が入力される入力手段と、
前記設定距離情報に基づき、前記姿勢変更手段による前記支持部材の姿勢の変更と、前記フォーカス変更手段による前記フォーカスレンズの位置の変更と、を実行する実行手段と、を有することを特徴とする撮像装置。
続きを表示(約 2,000 文字)
【請求項2】
テラヘルツ波を被写体に照射する発光素子と、
被写体で反射されたテラヘルツ波を検出する撮像素子と、
フォーカスレンズを備え、被写体で反射されたテラヘルツ波を前記撮像素子に結像する結像光学系と、
前記発光素子を支持する第1の支持部材と、
前記撮像素子と前記結像光学系とを支持する第2の支持部材と、
前記第1の支持部材と前記第2の支持部材とを支持する筐体と、
前記筐体に対する前記第1の支持部材の姿勢を変更する第1の姿勢変更手段と、
前記筐体に対する前記第2の支持部材の姿勢を変更する第2の姿勢変更手段と、
前記結像光学系に設けられ、前記フォーカスレンズの位置を変更するフォーカス変更手段と、
前記撮像素子から被写体までの距離の設定値である設定距離情報が入力される入力手段と、
前記設定距離情報に基づき、前記第1の姿勢変更手段による前記第1の支持部材の姿勢の変更と、前記第2の姿勢変更手段による前記第2の支持部材の姿勢の変更と、前記フォーカス変更手段による前記フォーカスレンズの位置の変更と、を実行する実行手段と、を有することを特徴とする撮像装置。
【請求項3】
前記第1の姿勢変更手段は、前記第1の支持部材を前記筐体に対して回動する第1の回動手段であり、
前記第2の姿勢変更手段は、前記第2の支持部材を前記筐体に対して回動する第2の回動手段であり、
前記実行手段は、前記設定距離情報に基づき、前記第1の回動手段により前記第1の支持部材を回動し、前記第2の回動手段により前記第2の支持部材を回動し、前記フォーカス変更手段により前記フォーカスレンズの位置を変更することを特徴とする請求項2に記載の撮像装置。
【請求項4】
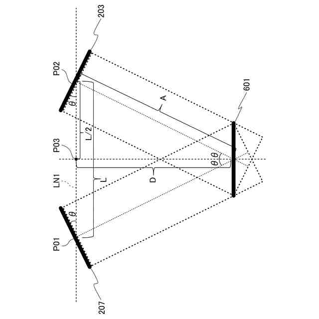
前記第1の支持部材の回動軸は、前記発光素子の中心と前記撮像素子の中心とを結ぶ直線と、前記直線の中点を通り被写体の方向に延びる直線と、を含む平面に直交し、前記発光素子の中心を通る第1の軸であり、
前記第2の支持部材の回動軸は、前記撮像素子の中心を通り、前記第1の軸と平行な第2の軸であり、
前記実行手段が、前記第1の回動手段により前記第1の支持部材を回動する方向は、前記第2の回動手段により前記第2の支持部材を回動する方向と逆方向であり、前記第1の回動手段により前記第1の支持部材を回動する角度は、前記第2の回動手段により前記第2の支持部材を回動する角度と同一であることを特徴とする請求項3に記載の撮像装置。
【請求項5】
前記第1の回動手段は、回転可能な第1の駆動源と、前記第1の駆動源の回転を前記第1の支持部材に伝達する第1の伝達機構と、を有し、
前記第2の回動手段は、回転可能な第2の駆動源と、前記第2の駆動源の回転を前記第2の支持部材に伝達する第2の伝達機構と、を有することを特徴とする、請求項4に記載の撮像装置。
【請求項6】
前記第1の回動手段は、回転可能な第1の駆動源と、前記第1の駆動源の回転を前記第1の支持部材に伝達する第1の伝達機構と、を有し、
前記第2の回動手段は、前記第1の駆動源の回転を前記第2の支持部材に伝達する第2の伝達機構を有することを特徴とする、請求項4に記載の撮像装置。
【請求項7】
前記第1の姿勢変更手段は、前記第1の支持部材の位置を移動する第1の移動手段であり、
前記第2の姿勢変更手段は、前記第2の支持部材の位置を移動する第2の移動手段であり、
前記実行手段は、前記設定距離情報に基づき、前記第1の移動手段により前記第1の支持部材の位置を移動し、前記第2の移動手段により前記第2の支持部材の位置を移動し、前記フォーカス変更手段により前記フォーカスレンズの位置を変更することを特徴とする請求項2に記載の撮像装置。
【請求項8】
前記第1の支持部材の移動方向と前記第2の支持部材の移動方向とは、前記発光素子の中心と前記撮像素子の中心とを結ぶ直線と、前記直線の中点を通り被写体の方向に延びる第1の直線と、を含む平面に平行かつ前記第1の直線に交差する方向であり、
前記第1の移動手段による前記発光素子の中心の移動方向及び移動距離は、前記第2の移動手段による前記撮像素子の中心の移動方向及び移動距離と、前記第1の直線について線対称の関係にあることを特徴とする請求項7に記載の撮像装置。
【請求項9】
前記撮像素子で撮像した画像を表示する表示手段をさらに有することを特徴とする請求項1又は2に記載の撮像装置。
【請求項10】
前記入力手段は、ユーザが前記設定距離情報を入力可能な操作部であることを特徴とする請求項1又は2に記載の撮像装置。
(【請求項11】以降は省略されています)
発明の詳細な説明
【技術分野】
【0001】
本発明は、テラヘルツ波を利用した撮像装置に関するものである。
続きを表示(約 2,800 文字)
【背景技術】
【0002】
昨今、空港などにおいて、隠し持った危険物による犯罪を防ぐことが課題となっており、危険物を検出する技術が求められている。その検査技術の一つとして、テラヘルツ波を利用した撮像装置が知られている。ここでテラヘルツ波とは、一般的に30GHz以上30THz以下の周波数を有する電磁波として定義されていて、波長が長いために衣服等に対し透過性を有している。テラヘルツ撮像装置としては大型で据え置きを前提としたゲートタイプの撮像装置以外に、従来のボディチェックを非接触で代替することを目的としたハンディタイプの撮像装置も望まれている。
【0003】
特許文献1では公共の場でのボディチェック等の秘匿物検査を目的として、照明部からテラヘルツ波を被写体に向けて照射し、被写体で反射したテラヘルツ波を撮像部で取得する構成が開示されている。この先行例を用いてハンディタイプのテラヘルツ撮像装置を構成しようとすると、次のような課題が発生する。
【先行技術文献】
【特許文献】
【0004】
特開2021-81443号公報
【発明の概要】
【発明が解決しようとする課題】
【0005】
テラヘルツ波は被写体表面の凹凸よりも相対的に波長が長いため、被写体の表面に照射されたテラヘルツ波は表面で散乱されず正反射する。このため、被写体で正反射したテラヘルツ波がカメラ部に入ってくるように、照明の角度を設定する必要がある。ハンディタイプはユーザが撮影範囲を適宜変更し得るため、被写体と撮像装置の距離は一定とは限らない。例えば被写体を遠くから撮影して、被写体の全体を確認した後、被写体に撮像装置を近づけて、被写体の一部を大きく撮影することなどが考えられる。したがって、被写体と撮像装置の距離が変わる度に、照明の角度を調整しなおす必要がある。
【0006】
また、被写体と撮像装置の距離が変わるとフォーカスも合わせ直す必要がある。したがってユーザは、照明角の調整と、フォーカス合わせを両方行う必要があり、狙った通りの画像を撮影できるまでに時間がかかってしまう。より具体的に説明すると、まずユーザは照明が被写体に当たるよう照明角を調節しなければならないが、正しく照明が当たるまでは被写体がカメラに映らないため、フォーカスを前もって合わせることができない。つまり、照明角を合わせられたとしても、フォーカス合わせができていないボケた被写体が映る。ボケた被写体では、意図通りの範囲が撮影できているかの判断が困難であるため、フォーカスを合わせたのちに、再度照明角の微調整が必要になってしまう。したがって、ユーザの意図通りの撮影を行えるまでに時間がかかってしまう。
【課題を解決するための手段】
【0007】
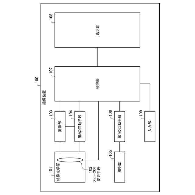
上記課題を解決するために、本発明の一態様に係る撮像装置は、テラヘルツ波を被写体に照射する発光素子と、被写体で反射されたテラヘルツ波を検出する撮像素子と、フォーカスレンズを備え、被写体で反射されたテラヘルツ波を前記撮像素子に結像する結像光学系と、前記発光素子を支持する支持部材と、前記支持部材を支持する筐体と、前記筐体に対する前記支持部材の姿勢を変更する姿勢変更手段と、前記結像光学系に設けられ、前記フォーカスレンズの位置を変更するフォーカス変更手段と、前記撮像素子から被写体までの距離の設定値である設定距離情報が入力される入力手段と、前記設定距離情報に基づき、前記姿勢変更手段による前記支持部材の姿勢の変更と、前記フォーカス変更手段による前記フォーカスレンズの位置の変更と、を実行する実行手段と、を有する。
【発明の効果】
【0008】
本発明によれば、テラヘルツ撮像装置において、照明角の調整とフォーカス合わせを同時に行うことができ、ユーザの意図通りの撮影を開始できるまでの時間を短縮することができる。
【図面の簡単な説明】
【0009】
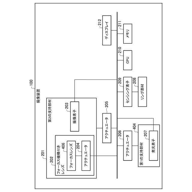
実施形態1の撮像装置の機能ブロックを示す図である。
実施形態1の撮像装置のハード構成を示す図である。
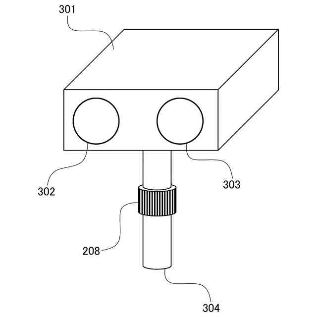
実施形態1の撮像装置の外観を示す図である。
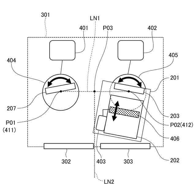
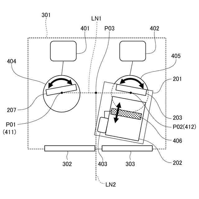
実施形態1の撮像装置の内部構成を上から見た説明図である。
実施形態1の第2の支持部材の回動手段を説明する図である。
実施形態1の発光素子と撮像素子と被写体の位置関係を説明する図である。
実施形態1の発光素子と撮像素子と被写体の位置関係を説明する図である。
実施形態1の発光素子と撮像素子と被写体の位置関係を説明する図である。
実施形態1の撮像装置の動作フローを示す図である。
実施形態1の撮像装置の表示手段の一例を説明する図である。
実施形態2の撮像装置の内部構成を上から見た説明図である。
実施形態2の第1の支持部材及び第2の支持部材の回動手段を説明する図である。
実施形態3の機能ブロックを示す図である。
実施形態3の撮像装置の内部構成を上から見た説明図である。
実施形態3の支持部材の回動手段を説明する図である。
実施形態3の被写体の移動前後の発光素子と撮像素子の位置関係を説明する図である。
実施形態3の被写体の移動前後の発光素子と撮像素子の位置関係を説明する図である。
実施形態3の被写体の移動前後の発光素子と撮像素子の位置関係を説明する図である。
実施形態3の被写体の移動前後の発光素子と撮像素子の位置関係を説明する図である。
実施形態4の撮像装置の機能ブロックを示す図である。
実施形態4の撮像装置のハード構成を示す図である。
実施形態4の撮像装置の外観を示す図である。
実施形態4の撮像装置の内部構成を上から見た説明図である。
実施形態4の発光素子、撮像素子、被写体、測距センサの位置関係を説明する図である。
実施形態5の撮像装置の外観を示す図である。
【発明を実施するための形態】
【0010】
以下に、本発明を実施するための形態について詳細に説明する。なお、以下に説明する実施の形態は、本発明を実現するための一例であり、本発明が適用される装置の構成や各種条件によって適宜修正又は調整されるべきものであり、本発明は以下の実施の形態に限定されるものではない。また、全ての図において同一の機能を有するものは同一の数字を付け、その繰り返しの説明は省略する。
<実施形態1>
(機能構成)
(【0011】以降は省略されています)
この特許をJ-PlatPat(特許庁公式サイト)で参照する
関連特許
キヤノン株式会社
容器
1か月前
キヤノン株式会社
容器
1か月前
キヤノン株式会社
トナー
1か月前
キヤノン株式会社
トナー
22日前
キヤノン株式会社
雲台装置
22日前
キヤノン株式会社
撮像装置
1日前
キヤノン株式会社
表示装置
1日前
キヤノン株式会社
表示装置
1日前
キヤノン株式会社
撮像装置
1日前
キヤノン株式会社
撮像装置
1か月前
キヤノン株式会社
現像容器
1か月前
キヤノン株式会社
現像装置
1か月前
キヤノン株式会社
記録装置
22日前
キヤノン株式会社
撮像装置
3日前
キヤノン株式会社
電子機器
22日前
キヤノン株式会社
定着装置
15日前
キヤノン株式会社
表示装置
1日前
キヤノン株式会社
記録装置
22日前
キヤノン株式会社
現像装置
1か月前
キヤノン株式会社
現像装置
1か月前
キヤノン株式会社
表示装置
1か月前
キヤノン株式会社
定着装置
9日前
キヤノン株式会社
記録装置
15日前
キヤノン株式会社
定着装置
15日前
キヤノン株式会社
定着装置
9日前
キヤノン株式会社
現像容器
1か月前
キヤノン株式会社
撮像装置
23日前
キヤノン株式会社
撮像装置
17日前
キヤノン株式会社
定着装置
15日前
キヤノン株式会社
電子機器
22日前
キヤノン株式会社
電子機器
17日前
キヤノン株式会社
測距装置
24日前
キヤノン株式会社
撮像装置
9日前
キヤノン株式会社
撮像装置
9日前
キヤノン株式会社
撮像装置
1か月前
キヤノン株式会社
発光装置
1日前
続きを見る
他の特許を見る