TOP
|
特許
|
意匠
|
商標
特許ウォッチ
Twitter
他の特許を見る
10個以上の画像は省略されています。
公開番号
2025174227
公報種別
公開特許公報(A)
公開日
2025-11-28
出願番号
2024080375
出願日
2024-05-16
発明の名称
姿勢調整機構及び画像処理システム
出願人
キヤノン株式会社
代理人
弁理士法人大塚国際特許事務所
主分類
G03B
17/56 20210101AFI20251120BHJP(写真;映画;光波以外の波を使用する類似技術;電子写真;ホログラフイ)
要約
【課題】姿勢調整機構において、姿勢調整作業を短時間かつ精密に行うことを可能にする。
【解決手段】支持する機器の姿勢を調整する姿勢調整機構。第一部材と、第二部材と、第三部材とを備える。第二部材は、第一回転軸部材を介して、第一部材に対して、第一の回転方向に回転可能に軸支される。第三部材は、ウォームホイールと第一のウォームとを含むウォームギアを介して、第二部材に対して、第一の回転方向に回転可能に軸支される。
【選択図】図2
特許請求の範囲
【請求項1】
支持する機器の姿勢を調整する姿勢調整機構であって、第一部材と、第二部材と、第三部材とを備え、
前記第二部材は、第一回転軸部材を介して、前記第一部材に対して、第一の回転方向に回転可能に軸支され、
前記第三部材は、ウォームホイールと第一のウォームとを含むウォームギアを介して、前記第二部材に対して、前記第一の回転方向に回転可能に軸支される
ことを特徴とする、姿勢調整機構。
続きを表示(約 1,200 文字)
【請求項2】
前記第一回転軸部材は、前記第一部材又は前記第二部材に対する外力に従って前記第二部材が前記第一部材に対して前記第一の回転方向に回転可能なように、前記第一部材と前記第二部材とを接続することを特徴とする、請求項1に記載の姿勢調整機構。
【請求項3】
前記第二部材と前記第一部材とを互いに固定するための固定機構をさらに備えることを特徴とする、請求項2に記載の姿勢調整機構。
【請求項4】
前記ウォームギアが、前記第一のウォームの軸を挟持することにより前記第一のウォームの回転を固定する第一のウォーム固定機構をさらに備えることを特徴とする、請求項1に記載の姿勢調整機構。
【請求項5】
前記第二部材は、前記第一の回転方向の回転軸に垂直であり、互いに接続された一対の第二側板を有し、
前記第三部材は、前記第一の回転方向の回転軸に垂直であり、互いに接続された一対の第三側板を有し、
前記第二側板の一方と前記第三側板の一方とが前記ウォームギアを介して接続され、
前記第二側板の他方と前記第三側板の他方とが前記第一の回転方向の回転軸に従う第二回転軸部材を介して接続されている
ことを特徴とする、請求項1に記載の姿勢調整機構。
【請求項6】
前記ウォームホイールは、前記第一の回転方向の回転軸と同心となるように、前記第三側板の前記一方に固定され、
前記第一のウォームは、前記ウォームホイールと噛み合うように前記第二側板の前記一方に固定されている
ことを特徴とする、請求項5に記載の姿勢調整機構。
【請求項7】
前記第一部材は、前記第一の回転方向の回転軸に垂直であり、互いに接続された一対の第一側板を有し、
前記第一側板の一方は前記第一の回転方向の回転軸に沿って前記第二側板の前記一方に対して回転可能に接続されており、前記第一側板の他方は前記第一の回転方向の回転軸に沿って前記第二側板の前記他方に対して回転可能に接続されている
ことを特徴とする、請求項5に記載の姿勢調整機構。
【請求項8】
前記第一側板の前記一方と前記第二側板の前記一方とを接続する第一回転軸部材を備え、
前記ウォームホイールは、前記第一回転軸部材の周りに、前記第二側板の前記一方に対して回転可能に接続されることを特徴とする、請求項7に記載の姿勢調整機構。
【請求項9】
前記第二部材に対する前記第一部材の回転軸と、前記第二部材に対する前記第三部材の回転軸とが一致することを特徴とする、請求項1に記載の姿勢調整機構。
【請求項10】
前記ウォームギアが、前記第一のウォームとは異なる、前記ウォームホイールと噛み合うことができる第二のウォームを含むことを特徴とする、請求項1に記載の姿勢調整機構。
(【請求項11】以降は省略されています)
発明の詳細な説明
【技術分野】
【0001】
本開示は姿勢調整機構及び画像処理システムに関し、特に、ウォームギアを介して被調整機器の姿勢調整を行う姿勢調整機構に関する。
続きを表示(約 1,700 文字)
【背景技術】
【0002】
被調整機器の姿勢調整を行う姿勢調整機構が知られている。このような姿勢調整機構は、被調整機器を搭載することができる。そして、姿勢調整機構は、少なくとも1軸以上の回転方向において搭載された被調整機器の姿勢を調整し、調整後の姿勢を維持することができる。被調整機器としては、例えばカメラ又はレーザー発光器等の光学機器が挙げられる。
【0003】
また、歯車機構を備える姿勢調整機構が知られている。このような姿勢調整機構は、異なる歯数を有し互いに噛み合う歯車を用いる。このような機構により、被調整側の回転速度を下げ、精密な姿勢調整を行う事が可能となる。例えば、特許文献1が開示する姿勢調整機構は、ギアを介して駆動用モータの回転を減速しながらパン回転軸部材に伝達することにより、パン回転軸部材に搭載されたカメラユニットの姿勢を調整している。また、特許文献2も、歯車を介してモータの回転を伝達することによりカメラをチルトさせるチルト機構を開示している。
【先行技術文献】
【特許文献】
【0004】
特開2022-178942号公報
特開2010-107772号公報
【発明の概要】
【発明が解決しようとする課題】
【0005】
歯車機構を備える姿勢調整機構を用いた姿勢調整においては、歯車機構により被調整側の回転速度が下がる。このため、姿勢を大きく変更する場合に必要な時間が増加する。また、被調整機器の姿勢を変更する機会が少ない場合は、低コストで構成可能な手動式の姿勢調整機構を用いることがある。手動式の姿勢調整機構を用いる場合、手動で姿勢調整を行った後に、調整後の姿勢を固定する操作が行われる。特に、このような手動式の姿勢調整機構を採用する場合には、被調整側の回転速度の低下に伴い、姿勢を大きく変更するために必要な作業時間及び負担が大きくなりやすい。
【0006】
本開示は、姿勢調整機構において、姿勢調整作業を短時間かつ精密に行うことを可能にすることを目的とする。
【課題を解決するための手段】
【0007】
本開示の一実施形態に係る姿勢調整機構は以下の構成を備える。すなわち、支持する機器の姿勢を調整する姿勢調整機構であって、第一部材と、第二部材と、第三部材とを備え、前記第二部材は、第一回転軸部材を介して、前記第一部材に対して、第一の回転方向に回転可能に軸支され、前記第三部材は、ウォームホイールと第一のウォームとを含むウォームギアを介して、前記第二部材に対して、前記第一の回転方向に回転可能に軸支されることを特徴とする。
【発明の効果】
【0008】
姿勢調整機構において、姿勢調整作業を短時間かつ精密に行うことができる。
【図面の簡単な説明】
【0009】
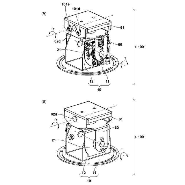
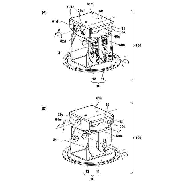
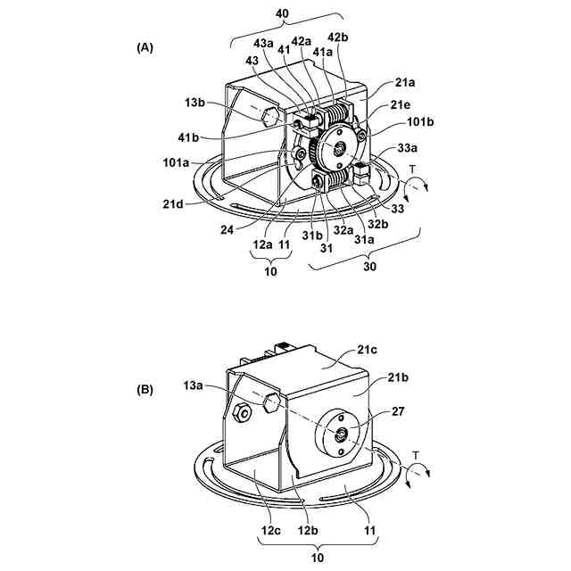
カメラユニットを搭載した姿勢調整機構の外観図。
一実施形態に係る姿勢調整機構の斜視図。
第一の回転部及び第二の回転部の概略図。
第一の回転部及び第二の回転部の概略図。
第一の回転部及び第二の回転部の概略図。
ウォームギアの例を示す図。
ウォームギアにおけるバックラッシを説明する図。
一実施形態に係る姿勢調整機構の斜視図。
第二の回転部の概略図。
第二の回転部の概略図。
一実施形態に係るシステムの構成例を示す図。
【発明を実施するための形態】
【0010】
以下、添付図面を参照して実施形態を詳しく説明する。なお、以下の実施形態は特許請求の範囲を限定するものではない。実施形態には複数の特徴が記載されているが、これらの複数の特徴の全てが必須のものとは限らず、また、複数の特徴は任意に組み合わせられてもよい。さらに、添付図面においては、同一若しくは同様の構成に同一の参照番号を付し、重複した説明は省略する。
(【0011】以降は省略されています)
この特許をJ-PlatPat(特許庁公式サイト)で参照する
関連特許
個人
表示装置
1か月前
個人
雨用レンズカバー
1か月前
キヤノン株式会社
撮像装置
1日前
日本精機株式会社
車両用投射装置
1か月前
キヤノン株式会社
撮像装置
1か月前
キヤノン株式会社
撮像装置
1か月前
キヤノン株式会社
撮像装置
1か月前
株式会社リコー
画像形成装置
1か月前
株式会社リコー
画像形成装置
1か月前
株式会社リコー
画像形成装置
24日前
株式会社リコー
画像形成装置
15日前
株式会社リコー
画像形成装置
1か月前
キヤノン株式会社
画像形成装置
1か月前
キヤノン株式会社
画像形成装置
9日前
キヤノン株式会社
トナー
1か月前
キヤノン株式会社
画像形成装置
1か月前
キヤノン株式会社
トナー
1か月前
キヤノン株式会社
トナー
1か月前
スタンレー電気株式会社
照明装置
1か月前
キヤノン株式会社
レンズキャップ
1か月前
沖電気工業株式会社
画像形成装置
1か月前
キヤノン株式会社
現像装置
1か月前
沖電気工業株式会社
画像形成装置
1か月前
レーザーテック株式会社
光源装置
17日前
アイホン株式会社
カメラシステム
1か月前
株式会社電気印刷研究所
静電印刷用積層体
1か月前
ブラザー工業株式会社
画像形成装置
1か月前
ブラザー工業株式会社
画像形成装置
1か月前
古野電気株式会社
装置
1か月前
キヤノン株式会社
画像形成装置
4日前
シャープ株式会社
画像形成装置
1か月前
キヤノン株式会社
画像形成装置
1か月前
キヤノン株式会社
画像形成装置
4日前
キヤノン株式会社
画像形成装置
1か月前
キヤノン株式会社
画像形成装置
24日前
キヤノン株式会社
画像形成装置
15日前
続きを見る
他の特許を見る