TOP
|
特許
|
意匠
|
商標
特許ウォッチ
Twitter
他の特許を見る
10個以上の画像は省略されています。
公開番号
2025174226
公報種別
公開特許公報(A)
公開日
2025-11-28
出願番号
2024080374
出願日
2024-05-16
発明の名称
記録装置及びその制御方法
出願人
キヤノン株式会社
代理人
弁理士法人大塚国際特許事務所
主分類
B41J
2/01 20060101AFI20251120BHJP(印刷;線画機;タイプライター;スタンプ)
要約
【課題】両面印刷を一層適切に実現するのに有利な技術を提供する。
【解決手段】本発明に係る記録装置は、記録媒体を搬送する第1搬送手段と、前記第1搬送手段で搬送された記録媒体の第1面および前記第1面の反対の第2面にインクを吐出して記録する記録手段と、前記記録手段により記録された記録媒体を搬送する第2搬送手段と、前記記録手段により前記第1面に記録された記録媒体の表裏を反転させ、前記記録手段により前記第2面に記録するために記録媒体を前記第1搬送手段に搬送する反転搬送手段と、を備え、前記記録手段が前記第1面に記録する際の搬送方向上流側の端部領域を第1端部領域として、前記記録手段が前記第1面に記録された記録媒体の前記第2面に記録する際に、前記第1搬送手段は、記録媒体の搬送速度を前記第1端部領域のインク吐出量に応じて変更する。
【選択図】図4
特許請求の範囲
【請求項1】
記録媒体を搬送する第1搬送手段と、
前記第1搬送手段で搬送された記録媒体の第1面および前記第1面の反対の第2面にインクを吐出して記録する記録手段と、
前記記録手段により記録された記録媒体を搬送する第2搬送手段と、
前記記録手段により前記第1面に記録された記録媒体の表裏を反転させ、前記記録手段により前記第2面に記録するために記録媒体を前記第1搬送手段に搬送する反転搬送手段と、を備え、
前記記録手段が前記第1面に記録する際の搬送方向上流側の端部領域を第1端部領域として、
前記記録手段が前記第1面に記録された記録媒体の前記第2面に記録する際に、前記第1搬送手段は、記録媒体の搬送速度を前記第1端部領域のインク吐出量に応じて変更する
ことを特徴とする記録装置。
続きを表示(約 1,600 文字)
【請求項2】
前記第1搬送手段は、前記反転搬送手段からの記録媒体が前記第2搬送手段に到達するまでの間、記録媒体の搬送速度を前記第1端部領域のインク吐出量に応じて変更する
ことを特徴とする請求項1記載の記録装置。
【請求項3】
前記第1端部領域のインク吐出量が基準量より大きい場合、前記第1搬送手段は前記第1面に記録された記録媒体の搬送速度を小さくする
ことを特徴とする請求項1記載の記録装置。
【請求項4】
前記記録手段は、前記第1および前記第2搬送手段の少なくとも一方による記録媒体の間欠搬送と交互に記録媒体に対する走査記録を行うシリアルヘッドであり、記録媒体の搬送速度は記録媒体の間欠搬送量に対応する
ことを特徴とする請求項3記載の記録装置。
【請求項5】
前記第1搬送手段は、前記記録手段に対して前記搬送方向上流側に配され、
前記第2搬送手段は、前記記録手段に対して前記搬送方向下流側に配される
ことを特徴とする請求項1記載の記録装置。
【請求項6】
前記記録手段により記録されるべき記録媒体を支持するプラテンと、
前記記録手段と前記第2搬送手段との間に配され記録媒体を前記プラテン側に規制するための拍車と、を更に備え、
前記プラテンに対向する方向で見たとき、前記第1端部領域は、前記記録手段により前記第2面に記録される際の記録媒体が前記第2搬送手段に到達する直前のタイミングにおいて前記拍車の全部と重なるように設定される
ことを特徴とする請求項5記載の記録装置。
【請求項7】
前記第1および前記第2搬送手段の少なくとも一方を駆動するための駆動手段と、前記駆動手段の温度を検出する検出手段と、を更に備え、
前記第1搬送手段は、前記記録手段が記録を開始可能な位置に記録媒体が到達したタイミングから、前記記録手段が実際に記録を開始するタイミングまでの間に亘って、待機時間として記録媒体の搬送を中断して待機し、該待機時間は、前記検出手段の検出結果に基づいて設定される
ことを特徴とする請求項1記載の記録装置。
【請求項8】
前記待機時間は、前記検出手段により検出された前記駆動手段の温度が基準温度に達している場合、そうでない場合より長く設定される
ことを特徴とする請求項7記載の記録装置。
【請求項9】
前記待機時間は、前記第1面に記録する場合と前記第2面に記録する場合との其々について個別に設定される
ことを特徴とする請求項8記載の記録装置。
【請求項10】
記録媒体を搬送する第1搬送手段と、
前記第1搬送手段で搬送された記録媒体の第1面および前記第1面の反対の第2面にインクを吐出して記録する記録手段と、
前記記録手段により記録された記録媒体を搬送する第2搬送手段と、
前記記録手段により前記第1面に記録された記録媒体の表裏を反転させ、前記記録手段により前記第2面に記録するために記録媒体を前記第1搬送手段に搬送する反転搬送手段と、を備える記録装置の制御方法であって、
前記記録手段により前記記録媒体の前記第1面に記録するステップと、
前記第1面に記録された前記記録媒体を前記反転搬送手段により表裏反転させるステップと、
前記記録手段により前記記録媒体の前記第2面に記録するステップと、を含み、
前記記録手段が前記第1面に記録する際の搬送方向上流側の端部領域を第1端部領域として、
前記第2面に記録するステップでは、前記第1搬送手段による記録媒体の搬送速度を前記第1端部領域のインク吐出量に応じて変更する
ことを特徴とする記録装置の制御方法。
(【請求項11】以降は省略されています)
発明の詳細な説明
【技術分野】
【0001】
本発明は、記録装置、主に両面印刷が可能なプリンタに関する。
続きを表示(約 1,800 文字)
【背景技術】
【0002】
インクジェットプリンタ等に代表される記録装置には、記録媒体(シート等の紙材)に対する記録の位置ズレの防止のため、該記録媒体が適切な姿勢で搬送されることが一般に求められる。
【先行技術文献】
【特許文献】
【0003】
特開平11-245457号公報
【発明の概要】
【発明が解決しようとする課題】
【0004】
記録媒体の表面を記録した後に更に裏面を記録する両面印刷の場合には、裏面を記録する際の記録媒体の姿勢が表面の記録態様によって変わる可能性があり、一層適切な記録の実現のため、更なる工夫が求められる。尚、特許文献1には、記録装置において記録媒体の浮上りを抑制可能なプラテンの構造が記載されているが、両面印刷の場合の上記課題については認識されていない。
【0005】
本発明は、発明者による上記課題の認識を契機として為されたものであり、両面印刷を適切に実現するのに有利な技術を提供することを目的とする。
【課題を解決するための手段】
【0006】
本発明の一つの側面は記録装置にかかり、前記記録装置は、
記録媒体を搬送する第1搬送手段と、
前記第1搬送手段で搬送された記録媒体の第1面および前記第1面の反対の第2面にインクを吐出して記録する記録手段と、
前記記録手段により記録された記録媒体を搬送する第2搬送手段と、
前記記録手段により前記第1面に記録された記録媒体の表裏を反転させ、前記記録手段により前記第2面に記録するために記録媒体を前記第1搬送手段に搬送する反転搬送手段と、を備え、
前記記録手段が前記第1面に記録する際の搬送方向上流側の端部領域を第1端部領域として、
前記記録手段が前記第1面に記録された記録媒体の前記第2面に記録する際に、前記第1搬送手段は、記録媒体の搬送速度を前記第1端部領域のインク吐出量に応じて変更する
ことを特徴とする。
【発明の効果】
【0007】
本発明によれば、両面印刷を適切に実現可能となる。
【図面の簡単な説明】
【0008】
実施形態に係る記録装置の内部構造の一例を示す斜視図。
搬送経路を説明するための記録装置の断面模式図。
記録装置のシステム構成の一例を示すブロック図。
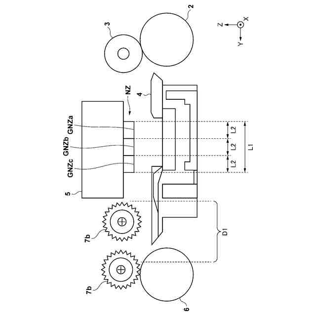
記録装置の記録部の構成を示す側面模式図。
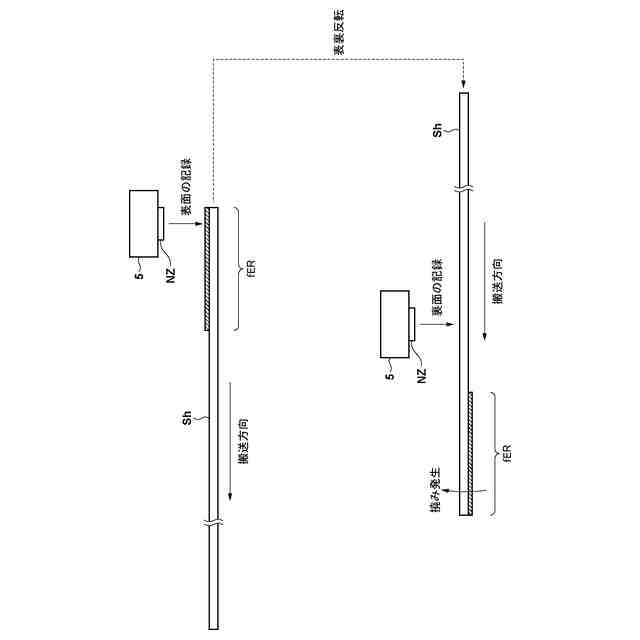
シートの表面側および裏面側のそれぞれの記録領域を説明するための模式図。
記録制御の方法の一例を示すフローチャート。
表面後端部領域のインク吐出量を評価する方法の一例を示す模式図。
通常モードおよび低速モードにおける記録態様を示す模式図。
記録開始までの待機時間を説明するための図。
1回分の走査記録におけるシートの搬送速度および記録ヘッドの走査速度の変化の相対関係を説明するためのタイミングチャート。
【発明を実施するための形態】
【0009】
以下、添付図面を参照して実施形態を詳しく説明する。なお、以下の実施形態は特許請求の範囲に係る発明を限定するものでない。実施形態には複数の特徴が記載されているが、これらの複数の特徴の全てが発明に必須のものとは限らず、また、複数の特徴は任意に組み合わせられてもよい。さらに、添付図面においては、同一若しくは同様の構成に同一の参照番号を付し、重複した説明は省略する。
【0010】
≪第1実施形態≫
<記録装置の全体構成について>
図1は、第1実施形態に係る記録装置50の内部構造の一例を示す斜視図である。記録装置50は、本実施形態では、記録媒体にインクを吐出して記録する記録ヘッド5を備えるインクジェットプリンタとする。ここでいう記録は、記録媒体に吐出されたインクにより画像を形成することを指し、画像の概念には、文字、数字、記号、図形、写真等が含まれる他、それらの間に形成されうる空白も含まれうる。記録媒体の典型例としてはカットシート等の紙材が挙げられ、以下の説明では単にシートと表現される。
(【0011】以降は省略されています)
この特許をJ-PlatPat(特許庁公式サイト)で参照する
関連特許
キヤノン株式会社
容器
1か月前
キヤノン株式会社
容器
1か月前
キヤノン株式会社
トナー
1か月前
キヤノン株式会社
トナー
1か月前
キヤノン株式会社
トナー
1か月前
キヤノン株式会社
トナー
1か月前
キヤノン株式会社
トナー
22日前
キヤノン株式会社
トナー
1か月前
キヤノン株式会社
現像装置
1か月前
キヤノン株式会社
撮影装置
1か月前
キヤノン株式会社
雲台装置
22日前
キヤノン株式会社
撮像装置
1日前
キヤノン株式会社
表示装置
1日前
キヤノン株式会社
撮像装置
22日前
キヤノン株式会社
撮像装置
9日前
キヤノン株式会社
測距装置
1か月前
キヤノン株式会社
定着装置
9日前
キヤノン株式会社
現像装置
1か月前
キヤノン株式会社
定着装置
1か月前
キヤノン株式会社
電子機器
17日前
キヤノン株式会社
記録装置
1か月前
キヤノン株式会社
現像装置
1か月前
キヤノン株式会社
記録装置
1か月前
キヤノン株式会社
記録装置
1か月前
キヤノン株式会社
撮像装置
1か月前
キヤノン株式会社
撮像装置
1か月前
キヤノン株式会社
定着装置
15日前
キヤノン株式会社
表示装置
1か月前
キヤノン株式会社
撮像装置
3日前
キヤノン株式会社
記録装置
15日前
キヤノン株式会社
定着装置
15日前
キヤノン株式会社
現像容器
1か月前
キヤノン株式会社
電子機器
1か月前
キヤノン株式会社
定着装置
9日前
キヤノン株式会社
現像容器
1か月前
キヤノン株式会社
定着装置
15日前
続きを見る
他の特許を見る