TOP
|
特許
|
意匠
|
商標
特許ウォッチ
Twitter
他の特許を見る
公開番号
2025174177
公報種別
公開特許公報(A)
公開日
2025-11-28
出願番号
2024080295
出願日
2024-05-16
発明の名称
自動運転支援方法、及び自動運転支援装置
出願人
日産自動車株式会社
代理人
弁理士法人樹之下知的財産事務所
主分類
G08G
1/16 20060101AFI20251120BHJP(信号)
要約
【課題】管制員の作業負担の軽減、及び作業効率の向上を図れる自動運転支援方法、及び自動運転支援装置を提供する。
【解決手段】管制装置20は、自動運転により走行する車両が停止した際に、当該車両から送信される、車両への支援を要求する旨の支援要請情報を受信し、複数の車両から支援要請情報を受信した場合に、車両の停止が自然に解消される可能性に応じて、各車両に対する支援の優先度を設定する。
【選択図】図10
特許請求の範囲
【請求項1】
コンピュータにより自動運転により走行する車両の運転支援を行う自動運転支援方法であって、
前記コンピュータは、
前記車両が停止した際に、前記車両から送信される、前記車両への支援を要求する旨の支援要請情報を受信する要請受信ステップと、
複数の前記車両から前記支援要請情報を受信した場合に、前記車両の停止が自然に解消される可能性に応じて、各前記車両に対する支援の優先度を設定する優先度設定ステップと、
を実施する、自動運転支援方法。
続きを表示(約 1,300 文字)
【請求項2】
前記優先度設定ステップにおいて、前記車両の停止が自然に解消される可能性として、前記車両の走行経路と、前記車両の走行経路を封鎖する封鎖車両の走行経路とが交錯している場合に、前記封鎖車両の走行経路の進行先の車線の閉塞状態と、前記車両の走行経路の進行先の車線の閉塞状態に基づいて、前記優先度を設定する、
請求項1に記載の自動運転支援方法。
【請求項3】
前記優先度設定ステップにおいて、前記封鎖車両の走行経路における進行先の車線が閉塞している場合に、前記封鎖車両の走行経路における進行先の車線が閉塞していない場合に比べて、前記車両の前記優先度を高くする、
請求項2に記載の自動運転支援方法。
【請求項4】
前記優先度設定ステップにおいて、前記車両の走行経路における進行先の車線が閉塞していない場合に、前記車両の走行経路における進行先の車線が閉塞している場合に比べて、前記優先度を高くする、
請求項2に記載の自動運転支援方法。
【請求項5】
前記車両が停止した停止位置を取得する位置取得ステップをさらに実施し、
前記優先度設定ステップでは、前記停止位置に基づいて優先度を設定し、前記停止位置に基づく優先度の設定で、同一の優先度となる複数の前記車両がある場合に、前記車両の停止が自然に解消される可能性に基づいた前記優先度をさらに設定する、
請求項1に記載の自動運転支援方法。
【請求項6】
前記優先度設定ステップにおいて、前記車両の周辺に存在する他車両の走行経路と、前記車両の走行経路とが交錯する地点を交錯地点とし、前記停止位置に基づく優先度として、前記交錯地点から前記車両までの距離が近いほど、前記優先度を高くする、
請求項5に記載の自動運転支援方法。
【請求項7】
前記優先度設定ステップにおいて、前記車両の周辺に存在する他車両の走行経路と、前記車両の走行経路とが交錯する地点を交錯地点とし、前記停止位置に基づく優先度として、前記車両が前記交錯地点の内部に侵入している領域が大きいほど、前記優先度を高くする、
請求項5に記載の自動運転支援方法。
【請求項8】
前記優先度設定ステップにおいて、前記車両が片側1車線の道路で停止する場合に、前記車両が片側2車線以上を有する道路で停止する場合に比べて、前記優先度を高くする、
請求項5に記載の自動運転支援方法。
【請求項9】
前記優先度設定ステップにおいて、前記車両が片側2車線以上の道路の左端の車線で停止している場合、前記車両が当該道路の前記左端の車線以外の前記車線で停止する場合に比べて、前記優先度を低くする、
請求項5に記載の自動運転支援方法。
【請求項10】
前記コンピュータは、
前記優先度が高い順に、前記車両からの前記支援要請情報の受信を管制員に通知する通知ステップを、さらに実施する、
請求項1に記載の自動運転支援方法。
(【請求項11】以降は省略されています)
発明の詳細な説明
【技術分野】
【0001】
本発明は、自動運転を支援する自動運転支援方法、及び自動運転支援装置に関する。
続きを表示(約 2,100 文字)
【背景技術】
【0002】
自動運転を支援するシステムとして、例えば自動運転を行う車両が所定の条件を満たした場合に、管制員が自動運転を支援するシステムが知られている(例えば特許文献1参照)。
特許文献1のシステムは、自動運転を実施する車両において何らかの異常が発生した場合に、車両からサーバに異常を知らせる。これにより、サーバは、車両から受信した位置に基づいて車両を追跡し、車両から異常を知らせる通知を受信すると、異常に対応した走行指示を車両に送信する。この際、サーバは、車両に発生した異常に対して設定された危険度、及び許容時間に基づいて、走行指示を送信する車両の優先度を設定する。
【先行技術文献】
【特許文献】
【0003】
特開2020-102159号公報
【発明の概要】
【発明が解決しようとする課題】
【0004】
特許文献1のシステムでは、車両で検出される異常に対応する危険度、及び許容時間に基づいて、走行指示の送信を優先する車両の優先度を設定する。しかしながら、このシステムでは、車両の周辺状況を十分に考慮していない。例えば、交差点で右折対向車に対して車両が停止している状況において、周辺車線の閉塞状態によらず、同一の危険度となる。したがって、同状況の車両が複数ある場合では、これらの車両の間で優先度を設定することができない。この場合、管制員が各車両の状況を確認して、再度優先順位を設定し直す必要があり、管制員の作業負担が増大し、作業効率性も低下する。
【0005】
本発明は、管制員の作業負担の軽減、及び作業効率の向上を図れる自動運転支援方法、及び自動運転支援装置を提供することを目的とする。
【課題を解決するための手段】
【0006】
本開示の一態様に係る自動運転支援方法は、自動運転により走行する車両が停止した際に、当該車両から送信される、車両への支援を要求する旨の支援要請情報を受信し、複数の車両から支援要請情報を受信した場合に、車両の停止が自然に解消される可能性に応じて、各車両に対する支援の優先度を設定する。
【発明の効果】
【0007】
同一の交通状況で複数の支援要請情報を受信した場合でも、その中で、自然に解消される可能性が低い車両に高い優先度が設定されるため、管制員が、各車両の状況を確認して優先すべき車両を再判断する作業が不要となり、管制員の負担軽減、及び作業効率性の向上を図れる。
【図面の簡単な説明】
【0008】
本開示の一実施形態に係る自動運転支援システムの概略構成を示す図。
本実施形態の車両の概略構成を示すブロック図。
本実施形態の管制装置の概略構成を示すブロック図。
車両の走行経路と、封鎖車両の走行経路とが交錯する交錯地点の一例を示す図。
(A)は交差点の内部に、車両前方の一部が進入してスタックする車両の一例であり、(B)は、交差点の内部に、車両の半分以上が進入してスタックする車両の一例を示す図。
(A)は交差点に、近い位置でスタックする車両の一例であり、(B)は、交差点から遠い位置でスタックする車両の一例を示す図。
車両10のスタック位置の道路または車線に基づいて優先度を設定する場合の例を示す図。
本実施形態において、スタックの自然解消の可能性に基づいた優先度を説明するための図。
本実施形態において、スタックの自然解消の可能性に基づいた優先度を説明するための図。
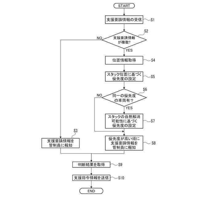
本実施形態の自動運転支援方法を示すフローチャート。
【発明を実施するための形態】
【0009】
以下、本開示に係る一実施形態の自動運転支援方法、及び自動運転支援装置について説明する。
図1は、本実施形態の自動運転支援装置である管制装置20を備えた自動運転支援システムの概略構成を示す図である。
図1に示すように、本実施形態の自動運転支援システム1は、車両10と、管制装置20とが、例えばインターネット等の無線通信回線を介して通信可能に接続されたシステムである。
【0010】
まず、本実施形態の自動運転支援システム1の概要について説明する。
自動運転支援システム1において、車両10は、コンピュータにより構成されたコントローラ16が搭載され、当該コントローラ16による制御により自動運転が可能に構成された自動運転車両である。このような車両10の自動運転は、周囲検出センサ111により周囲の物体を検出し、周囲の物体との衝突を避けるように走路を設定することで実施される。例えば、周囲検出センサ111により検出される車線の区分線に基づいて車両10を走行させる走路を設定し、先行車両が検出された場合に、先行車両に対して一定の車間距離を維持した状態で追従して車両10を走行させる。
(【0011】以降は省略されています)
この特許をJ-PlatPat(特許庁公式サイト)で参照する
関連特許
日産自動車株式会社
二次電池
1か月前
日産自動車株式会社
吸気装置
4日前
日産自動車株式会社
電動車両
26日前
日産自動車株式会社
電子機器
10日前
日産自動車株式会社
内燃機関
23日前
日産自動車株式会社
ロータシャフト
18日前
日産自動車株式会社
ロータシャフト
18日前
日産自動車株式会社
電池モジュール
2日前
日産自動車株式会社
電池モジュール
1か月前
日産自動車株式会社
電池モジュール
24日前
日産自動車株式会社
リチウム二次電池
23日前
日産自動車株式会社
車両用排気部構造
23日前
日産自動車株式会社
エアレスタイヤ構造
10日前
日産自動車株式会社
塗装方法及び自動車
25日前
日産自動車株式会社
全固体電池システム
2日前
日産自動車株式会社
ピックアップトラック
4日前
日産自動車株式会社
支援方法及び支援装置
4日前
日産自動車株式会社
エンジンのアンダカバー
1か月前
日産自動車株式会社
パワー半導体モジュール
2日前
株式会社ニフコ
締結構造
1か月前
日産自動車株式会社
相乗り可否判定方法及び装置
1か月前
日産自動車株式会社
車両用荷室における排熱構造
1か月前
日産自動車株式会社
車両乗り合わせ方法及び装置
3日前
日産自動車株式会社
情報提供方法及び情報提供装置
10日前
日産自動車株式会社
車両制御装置及び車両制御方法
3日前
日産自動車株式会社
施錠制御方法及び施錠制御装置
1か月前
日産自動車株式会社
運転支援方法及び運転支援装置
1か月前
日産自動車株式会社
運転支援方法及び運転支援装置
1か月前
日産自動車株式会社
車両制御装置及び車両制御方法
3日前
日産自動車株式会社
情報処理装置及び情報処理方法
2日前
日産自動車株式会社
衝突回避方法、及び衝突回避装置
23日前
日産自動車株式会社
物体検出方法、及び物体検出装置
23日前
日産自動車株式会社
車両制御方法および車両制御装置
1か月前
日産自動車株式会社
車両制御方法および車両制御装置
1か月前
日産自動車株式会社
車両制御方法および車両制御装置
1か月前
日産自動車株式会社
車両制御システム及び車両制御方法
3日前
続きを見る
他の特許を見る