TOP
|
特許
|
意匠
|
商標
特許ウォッチ
Twitter
他の特許を見る
公開番号
2025173999
公報種別
公開特許公報(A)
公開日
2025-11-28
出願番号
2024079950
出願日
2024-05-16
発明の名称
回路基板及び回路基板の製造方法
出願人
FICT株式会社
代理人
弁理士法人綿貫国際特許・商標事務所
主分類
H05K
3/46 20060101AFI20251120BHJP(他に分類されない電気技術)
要約
【課題】ガラスを基材とした基板を用いた高機能且つ高品質の回路基板及び回路基板の製造方法を提供する。
【解決手段】絶縁基材がガラスで構成されたガラスコア基板と、ガラス基材の第1表面又は第2表面の少なくともいずれか一方にコイル状に形成された金属層を有するアンテナ・インダクタ基板と、ガラス基材の第1表面又は第2表面の少なくともいずれか一方にグランドとして形成されたグランド金属層を有するグランド基板と、ガラス基材とヒートスプレッダとを有するヒートスプレッダ基板と、ガラス基材の内部又は第1表面若しくは第2表面に形成された光導波路を有する光導波路基板と、ガラス基材内部又は第1表面若しくは第2表面に設けられたキャパシタを有するキャパシタ基板と、インターポーザ基板と、のうち少なくとも2種以上の基板を積層して構成された回路基板。
【選択図】 図9
特許請求の範囲
【請求項1】
絶縁基材がガラスで構成されたガラス基材と、前記ガラス基材の第1表面と第2表面それぞれにパターン化された金属層と、対向する前記金属層同士を電気的接続するビアと、を有するガラスコア基板と、
絶縁基材がガラスで構成されたガラス基材と、前記ガラス基材の第1表面と第2表面それぞれにパターン化された金属層と、対向する前記金属層同士を電気的接続するビアと、前記第1表面又は前記第2表面の少なくともいずれか一方にコイル状に形成された金属層と、を有するアンテナ・インダクタ基板と、
絶縁基材がガラスで構成されたガラス基材と、前記ガラス基材の第1表面と第2表面それぞれにパターン化された金属層と、対向する前記金属層同士を電気的接続するビアと、前記第1表面又は前記第2表面の少なくともいずれか一方にグランドとして形成されたグランド金属層と、を有するグランド基板と、
絶縁基材がガラスで構成されたガラス基材と、前記ガラス基材の第1表面と第2表面それぞれにパターン化された金属層と、対向する前記金属層同士を電気的接続するビアと、ヒートスプレッダと、を有するヒートスプレッダ基板と、
絶縁基材がガラスで構成されたガラス基材と、前記ガラス基材内部又は第1表面若しくは第2表面に形成された光導波路と、を有する光導波路基板と、
絶縁基材がガラスで構成されたガラス基材と、前記ガラス基材の第1表面と第2表面それぞれにパターン化された金属層と、対向する前記金属層同士を電気的接続するビアと、前記ガラス基材内部又は第1表面若しくは第2表面に設けられたキャパシタと、を有するキャパシタ基板と、
前記ガラスコア基板の前記第1表面又は前記第2表面のうち一方側に半導体チップを搭載可能か、又は前記ガラスコア基板の前記第1表面若しくは前記第2表面のうち少なくともいずれか一方に半導体チップを搭載するためのインターポーザが積層されたインターポーザ基板と、
のうち少なくとも2種以上の基板を積層して構成された回路基板。
続きを表示(約 1,400 文字)
【請求項2】
前記キャパシタ基板のキャパシタは、前記第1表面又は前記第2表面に積層された樹脂製の絶縁基材内に設けられていることを特徴とする請求項1記載の回路基板。
【請求項3】
前記インターポーザ基板の前記ガラスコア基板の前記第1表面若しくは前記第2表面のうち少なくともいずれか一方に積層されたインターポーザは、ガラス製の基材が積層されて構成されていることを特徴とする請求項1記載の回路基板。
【請求項4】
前記インターポーザ基板の前記ガラスコア基板の前記第1表面若しくは前記第2表面のうち少なくともいずれか一方に積層されたインターポーザは、樹脂製の基材が積層されて構成されていることを特徴とする請求項1記載の回路基板。
【請求項5】
絶縁基材がガラスで構成されたガラス基材と、前記ガラス基材の第1表面と第2表面それぞれにパターン化された金属層と、対向する前記金属層同士を電気的接続するビアと、を有するガラスコア基板と、
絶縁基材がガラスで構成されたガラス基材と、前記ガラス基材の第1表面と第2表面それぞれにパターン化された金属層と、対向する前記金属層同士を電気的接続するビアと、前記第1表面又は前記第2表面の少なくともいずれか一方にコイル状に形成された金属層と、を有するアンテナ・インダクタ基板と、
絶縁基材がガラスで構成されたガラス基材と、前記ガラス基材の第1表面と第2表面それぞれにパターン化された金属層と、対向する前記金属層同士を電気的接続するビアと、前記第1表面又は前記第2表面の少なくともいずれか一方にグランドとして形成されたグランド金属層と、を有するグランド基板と、
絶縁基材がガラスで構成されたガラス基材と、前記ガラス基材の第1表面と第2表面それぞれにパターン化された金属層と、対向する前記金属層同士を電気的接続するビアと、ヒートスプレッダと、を有するヒートスプレッダ基板と、
絶縁基材がガラスで構成されたガラス基材と、前記ガラス基材内部又は第1表面若しくは第2表面に形成された光導波路と、を有する光導波路基板と、
絶縁基材がガラスで構成されたガラス基材と、前記ガラス基材の第1表面と第2表面それぞれにパターン化された金属層と、対向する前記金属層同士を電気的接続するビアと、前記ガラス基材内部又は第1表面若しくは第2表面に設けられたキャパシタと、を有するキャパシタ基板と、
前記ガラスコア基板の前記第1表面又は前記第2表面のうち一方側に半導体チップを搭載可能か、又は前記ガラスコア基板の前記第1表面若しくは前記第2表面のうち少なくともいずれか一方に半導体チップを搭載するためのインターポーザが積層されたインターポーザ基板と、
のうち少なくとも2種以上の基板を選択し、選択された各基板の積層順を決定する工程と、
決定した積層順における最下層の基板に半硬化の樹脂基材を積層する工程、積層した樹脂基材に貫通孔を形成する工程、前記貫通孔に導電性ペーストを充填する工程、次の基板を積層する工程を含む接着層積層工程と、
選択した全ての基板を積層した後に、全体を圧着して前記樹脂基材と前記導電性ペーストとを硬化させる工程と、を含むことを特徴とする回路基板の製造方法。
発明の詳細な説明
【技術分野】
【0001】
本発明は、ガラスを基材とする回路基板及び回路基板の製造方法に関する。
続きを表示(約 1,900 文字)
【背景技術】
【0002】
ガラスは、比誘電率、誘電正接、熱膨張率及び吸水性が低く、表面粗さが小さく、ヤング率が大きいという回路基板を構成する他の絶縁材料と比較して極めて有利な特性を有している。
このため、回路基板の基材をガラスとする試みが従来より行われている。
【0003】
例えば、特許文献1(特開2018-116951号公報)には、積層されたガラス基板と樹脂基板とを有する回路基板が開示されている。
特許文献1においてガラス基板は、貫通孔と、その貫通孔の内壁に設けられた金属層と、その金属層の内側に設けられた導電性樹脂とを有している。樹脂基板は、ガラス基板の貫通孔と対向する開口端が金属層の内側に位置する貫通孔と、貫通孔内に設けられてガラス基板の導電性樹脂と接続された導電性樹脂とを有している。
特許文献1の回路基板は、このような構成によって、ガラス基板と樹脂基板とのビア接続部に発生する応力を抑え、その応力に起因したガラス基板のクラック、それによる回路基板の性能及び信頼性の低下を抑えることができるとしている。
【先行技術文献】
【特許文献】
【0004】
特開2018-116951号公報
【発明の概要】
【発明が解決しようとする課題】
【0005】
上述した特許文献1では、ガラス基板と樹脂基板とを積層させて回路基板を構成しているが、ガラスの特性を生かしてさらに高機能且つ高品質の回路基板を提供したいという要望がある。
【0006】
そこで、本発明は上記課題を解決すべくなされ、その目的とするところは、ガラスを基材とした基板を用いた高機能且つ高品質の回路基板及び回路基板の製造方法を提供することにある。
【課題を解決するための手段】
【0007】
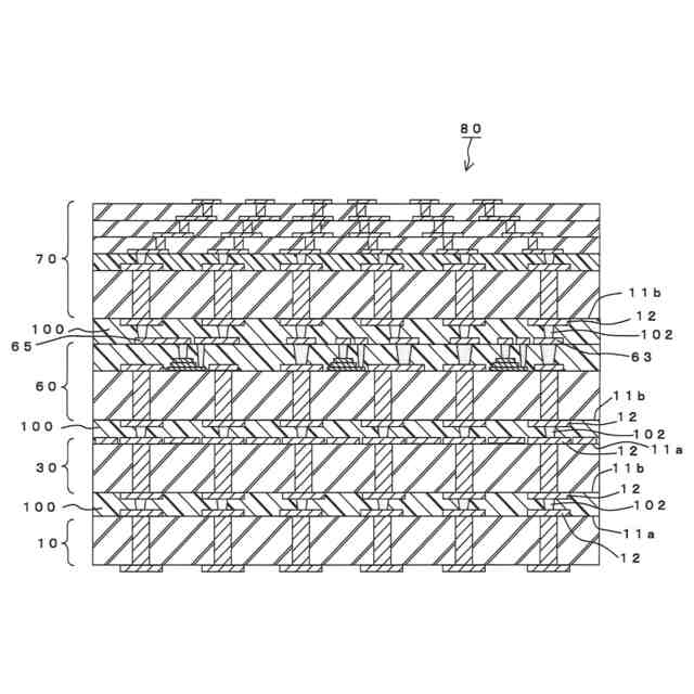
本発明にかかる回路基板によれば、絶縁基材がガラスで構成されたガラス基材と、前記ガラス基材の第1表面と第2表面それぞれにパターン化された金属層と、対向する前記金属パッド同士を電気的接続するビアと、を有するガラスコア基板と、絶縁基材がガラスで構成されたガラス基材と、前記ガラス基材の第1表面と第2表面それぞれにパターン化された金属層と、対向する前記金属パッド同士を電気的接続するビアと、前記第1表面又は前記第2表面の少なくともいずれか一方にコイル状に形成された金属層と、を有するアンテナ・インダクタ基板と、絶縁基材がガラスで構成されたガラス基材と、前記ガラス基材の第1表面と第2表面それぞれにパターン化された金属層と、対向する前記金属パッド同士を電気的接続するビアと、前記第1表面又は前記第2表面の少なくともいずれか一方にグランドとして形成されたグランド金属層と、を有するグランド基板と、絶縁基材がガラスで構成されたガラス基材と、前記ガラス基材の第1表面と第2表面それぞれにパターン化された金属層と、対向する前記金属パッド同士を電気的接続するビアと、ヒートスプレッダと、を有するヒートスプレッダ基板と、絶縁基材がガラスで構成されたガラス基材と、前記ガラス基材内部に形成された光導波路と、を有する光導波路基板と、絶縁基材がガラスで構成されたガラス基材と、前記ガラス基材の第1表面と第2表面それぞれにパターン化された金属層と、対向する前記金属パッド同士を電気的接続するビアと、前記ガラス基材内部又は前記第1表面若しくは前記第2表面に設けられたキャパシタと、を有するキャパシタ基板と、前記ガラスコア基板の前記第1表面又は前記第2表面のうちの少なくともいずれか一方に、半導体チップを搭載するためのインターポーザが積層されたインターポーザ基板と、のうち少なくとも2種以上の基板を積層して構成されたことを特徴としている。
この構成によれば、ガラス基材で構成された様々な機能を有するガラス基板を複数組み合わせて高機能且つ高品質の回路基板として提供できる。
【0008】
また、前記キャパシタ基板のキャパシタは、前記第1表面又は前記第2表面に積層された樹脂製の絶縁基材内に設けられていることを特徴としてもよい。
【0009】
また、前記インターポーザ基板のインターポーザは、ガラス製の基材が積層されて構成されていることを特徴としてもよい。
【0010】
また、前記インターポーザ基板のインターポーザは、樹脂製の基材が積層されて構成されていることを特徴としてもよい。
(【0011】以降は省略されています)
この特許をJ-PlatPat(特許庁公式サイト)で参照する
関連特許
FICT株式会社
多層基板、多層基板の製造方法、及び電子機器
5日前
個人
電気式バーナー
1か月前
愛知電機株式会社
装柱金具
2か月前
日本精機株式会社
回路基板
1日前
日星電気株式会社
面状ヒータ
26日前
イビデン株式会社
配線基板
2か月前
個人
静電気中和除去装置
1か月前
株式会社デンソー
電子装置
12日前
シャープ株式会社
加熱機器
1か月前
株式会社デンソー
電子装置
2か月前
株式会社デンソー
電子装置
1か月前
サクサ株式会社
開き角度規制構造
2か月前
株式会社レクザム
剥離装置
2か月前
日本精機株式会社
車両表示装置用回路基板
5日前
日産自動車株式会社
電子基板
1日前
日産自動車株式会社
電子機器
20日前
富士フイルム株式会社
積層体
2か月前
株式会社デンソー
電子制御装置
1か月前
豊田合成株式会社
制御ユニット
12日前
富士電子工業株式会社
誘導加熱コイル
2か月前
富士電子工業株式会社
誘導加熱コイル
2か月前
TDK株式会社
接合構造
12日前
センスネットシステム株式会社
回路基板
2か月前
東芝ライテック株式会社
照明装置
2か月前
象印マホービン株式会社
電子レンジ
1か月前
マクセルイズミ株式会社
誘導加熱調理装置
1か月前
矢崎総業株式会社
箱状体
1か月前
矢崎総業株式会社
箱状体
1か月前
矢崎総業株式会社
箱状体
1か月前
象印マホービン株式会社
電磁調理器
7日前
象印マホービン株式会社
電磁調理器
7日前
象印マホービン株式会社
電磁調理器
7日前
象印マホービン株式会社
電磁調理器
7日前
マクセルイズミ株式会社
誘導加熱調理装置
1か月前
矢崎総業株式会社
箱状体
2か月前
矢崎総業株式会社
箱状体
2か月前
続きを見る
他の特許を見る