TOP
|
特許
|
意匠
|
商標
特許ウォッチ
Twitter
他の特許を見る
10個以上の画像は省略されています。
公開番号
2025173736
公報種別
公開特許公報(A)
公開日
2025-11-28
出願番号
2024079454
出願日
2024-05-15
発明の名称
衣類処理システム
出願人
東芝ライフスタイル株式会社
代理人
弁理士法人サトー
主分類
D06F
33/32 20200101AFI20251120BHJP(繊維または類似のものの処理;洗濯;他に分類されない可とう性材料)
要約
【課題】ユーザに対して効果的かつ有効に衣類処理装置のメンテナンスの実行を促す報知を実行できる衣類処理システムを提供する。
【解決手段】衣類処理システムは、衣類を収容する洗濯槽と、ユーザに対して各種の情報を報知するための報知部と、を備える衣類処理装置と、衣類処理装置と通信可能に接続された外部端末と、衣類処理装置に関するメンテナンスの実行を促す情報を報知部又は外部端末の少なくともいずれかを用いて報知するメンテナンス報知を実行可能な報知処理部と、を備え、報知処理部は、衣類処理装置の運転の開始前にメンテンナンス報知を実行する場合、外部端末を用いてメンテナンス報知を行わない。
【選択図】図2
特許請求の範囲
【請求項1】
衣類を収容する洗濯槽と、ユーザに対して各種の情報を報知するための報知部と、を備える衣類処理装置と、
前記衣類処理装置と通信可能に接続された外部端末と、
前記衣類処理装置に関するメンテナンスの実行を促す情報を前記報知部又は前記外部端末の少なくともいずれかを用いて報知するメンテナンス報知を実行可能な報知処理部と、を備え、
前記報知処理部は、前記衣類処理装置の運転の開始前に前記メンテンナンス報知を実行する場合、前記外部端末を用いて前記メンテナンス報知を行わない、
衣類処理システム。
続きを表示(約 1,100 文字)
【請求項2】
前記報知処理部は、前記運転の終了時に前記メンテナンス報知を行う場合、前記運転が終了した旨を前記ユーザに報知するとともに前記メンテナンス報知を行う、
請求項1に記載の衣類処理システム。
【請求項3】
前記報知処理部は、前記報知部又は前記外部端末において前記運転が終了した旨を示す情報と同一領域内に前記メンテナンス報知を表示させる、
請求項2に記載の衣類処理システム。
【請求項4】
前記報知処理部は、前記運転の終了時に前記メンテナンス報知を行う場合、通常よりも前記衣類処理装置の電源をオフするまでの時間を長くする、
請求項1に記載の衣類処理システム。
【請求項5】
前記報知処理部は、前記運転の開始前に前記報知部を用いて前記メンテナンス報知を行う場合、前記衣類処理装置の電源投入後の表示において、前記運転の設定に関する操作の受け付けを制限する、
請求項1に記載の衣類処理システム。
【請求項6】
前記メンテナンス報知に関する表示は、前記メンテナンスの実行に関する操作キーを含んでいる、
請求項1に記載の衣類処理システム。
【請求項7】
前記報知処理部は、前記操作キーの操作がされた場合、前記外部端末にメンテナンスの実行に関する設定画面を表示させる、
請求項6に記載の衣類処理システム。
【請求項8】
前記報知処理部は、前記メンテナンス報知を含む複数の種類の報知を予め設定された優先度に基づいて実行可能であり、
前記メンテナンス報知は、前記衣類処理装置の異常を報知するための異常報知の次に高い優先度に設定されている、
請求項1に記載の衣類処理システム。
【請求項9】
前記メンテナンスの実行は、前記洗濯槽を洗浄する槽洗浄運転の実行を含んでおり、
前記報知処理部は、前記運転が実行された回数の累積値である運転回数及び前回の前記槽洗浄運転を実行してからの経過期間のいずれか一方がそれぞれの設定値に達した場合に前記メンテナンス報知を実行する、
請求項1に記載の衣類処理システム。
【請求項10】
前記洗濯槽内の衣類の取り出しの有無を検知する衣類取出し検知部を更に備え、
前記報知処理部は、前記運転の終了時に第1のメンテナンス報知を行った後に、前記衣類取り出し検知部によって前記洗濯槽内の衣類の取り出しが検知された場合に、前記第1のメンテナンス報知とは異なる態様である第2のメンテナンス報知を行う、
請求項1に記載の衣類処理システム。
(【請求項11】以降は省略されています)
発明の詳細な説明
【技術分野】
【0001】
本発明の実施形態は、衣類処理システムに関する。
続きを表示(約 2,500 文字)
【背景技術】
【0002】
従来、衣類処理装置の一例である洗濯機と通信可能な携帯端末にメンテナンス情報を表示可能な洗濯機通信システムが知られている。この洗濯機通信システムでは、運転回数によって携帯端末にメンテナンス情報を表示することで、ユーザが洗濯機の表示を見なくてもメンテナンス情報を得ることを可能にしている。これにより、ユーザのメンテナンス不足による非効率な運転を軽減でき、運転性能を向上させることが図られている。
【先行技術文献】
【特許文献】
【0003】
特開2014-18268号公報
【発明の概要】
【発明が解決しようとする課題】
【0004】
ところで、従来構成では、携帯端末にメンテナンス情報を表示することで、ユーザのメンテナンスを促すことが図られているが、洗濯機の表示と携帯端末などの外部端末を効果的に連携させることで、ユーザに対してメンテナンス情報を知らせることは考慮されていない。このため、従来構成では、携帯端末を用いたメンテナンス情報の表示がユーザにとって効果が薄い時期あるいは不要な時期に行われる場合があり、効果的かつ有効にユーザに対してメンテナンスの実行を促すことが難しかった。
【0005】
そこで、ユーザに対して効果的かつ有効に衣類処理装置のメンテナンスの実行を促す報知を実行できる衣類処理システムを提供する。
【課題を解決するための手段】
【0006】
本実施形態に係る衣類処理システムは、衣類を収容する洗濯槽と、ユーザに対して各種の情報を報知するための報知部と、を備える衣類処理装置と、前記衣類処理装置と通信可能に接続された外部端末と、前記衣類処理装置に関するメンテナンスの実行を促す情報を前記報知部又は前記外部端末の少なくともいずれかを用いて報知するメンテナンス報知を実行可能な報知処理部と、を備え、前記報知処理部は、前記衣類処理装置の運転の開始前に前記メンテンナンス報知を実行する場合、前記外部端末を用いて前記メンテナンス報知を行わない。
【図面の簡単な説明】
【0007】
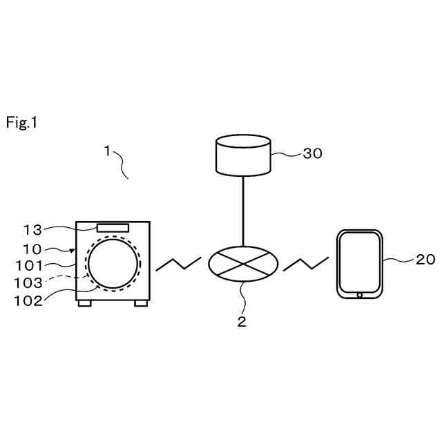
一実施形態による洗濯システムの一例を概略的に示す図
一実施形態による洗濯システムの構成例を概略的に示すブロック図
一実施形態による洗濯システムについて、ホーム画面に表示される内容の一例を示す図
一実施形態による洗濯システムについて、お手入れ設定画面に表示される内容の一例を示す図
一実施形態による洗濯システムについて、お手入れ設定画面において設定ボタンが操作された場合に表示される内容の一例を示す図
一実施形態による洗濯システムについて、槽洗浄に関するメンテナンス報知の実行時期の設定内容の一例を示す図
一実施形態による洗濯システムについて、槽洗浄に関するメンテナンス報知の実行時期に対する報知対象の一例を示す図
一実施形態による洗濯システムについて、ホーム画面に表示されるポップアップ画面の一例を示す図
一実施形態による洗濯システムについて、ポップアップ画面において実行内容設定キーが操作された場合に表示される実行内容設定画面の一例を示す図
一実施形態による洗濯システムについて、実行内容設定画面において運転選択キーが操作された場合に表示される詳細設定画面の一例を示す図
一実施形態による洗濯システムについて、外部端末に表示される実行内容設定画面の一例を示す図
一実施形態による洗濯システムについて、ホーム画面に表示されるポップアップ画面の他の例を示す図
一実施形態による洗濯システムについて、運転終了画面に表示される内容の一例を示す図
一実施形態による洗濯システムについて、第2のメンテナンス報知が実行された場合に運転終了画面に表示される内容の一例を示す図
一実施形態による洗濯システムについて、複数種類の報知における報知の優先度の一例を示す図
一実施形態による洗濯システムについて、運転終了時にメンテナンス報知が実行される場合の制御内容の一例を示すフローチャート
一実施形態による洗濯システムについて、操作表示部をタッチパネルディスプレイ以外の構成にした場合の一例を示す図
【発明を実施するための形態】
【0008】
以下、一実施形態による衣類処理システムについて、図面を参照しながら説明する。なお、以下の実施形態において、構成要素などに付された第1、第2、・・・との語句は、類似した構成要素を単に区別するためのものであり、構成要素間の優劣や時間的要素を意味するものではない。
【0009】
図1に示す衣類処理装置の一例である洗濯機10は、洗濯物に対して洗い、すすぎ、脱水、乾燥などの処理を施すことができる。洗濯機10は、例えば横軸又は斜め軸型のドラム式洗濯機である。洗濯機10は、縦軸型の洗濯機であっても良い。洗濯機10は、1つ又は複数の外部の装置20、30と通信可能に接続されて洗濯システム1を構成する。洗濯システム1は、衣類処理システムの一例である。洗濯システム1は、洗濯機10と外部の装置20、30とを、図示しないアクセスポイント及びネットワーク2などの電気通信回線を介して相互に通信可能に接続して構成されている。
【0010】
洗濯機10は、図1及び図2に示すように、外箱101、扉102、洗濯槽103、衣類処理部11、自動投入装置12、操作表示部13、通信部14、衣類取り出し検知部15、及び洗濯機制御部16を備えている。外箱101は、例えばステンレス鋼板などの金属又は樹脂材などの組合せによって中空箱状に形成されている。外箱101は、洗濯機10の外郭を構成している。外箱101は、前面側の中央部分に外箱101の内部と外部とを連通する図示しない開口部を有している。開口部は、衣類を投入するための投入口である。扉102は、外箱101の前面側に設けられて、当該開口部を開閉する。
(【0011】以降は省略されています)
この特許をJ-PlatPat(特許庁公式サイト)で参照する
関連特許
個人
洗濯機
10日前
個人
洗濯装置
3か月前
個人
洗濯物干しハンガー
26日前
セーレン株式会社
複合表皮材
10日前
東レ株式会社
繊維断面の検査方法
1か月前
株式会社青柳
染め加工方法
2か月前
株式会社アライホーム
物干装置
10日前
有限会社高田紙器製作所
紙製洗濯バサミ
3か月前
東レ株式会社
樹脂含浸繊維束の製造方法
3か月前
東レ株式会社
ゴム補強用合成繊維コード
2か月前
東レ株式会社
炭素繊維シートの製造方法
3か月前
株式会社槌屋
加飾用表皮材
1か月前
花王株式会社
洗浄剤組成物
4か月前
株式会社大阪ソーダ
撥水撥油性繊維処理剤
2か月前
株式会社創和
ボックス状洗濯ネット
2か月前
リンナイ株式会社
衣類乾燥機
1か月前
個人
ポリエステル染色物の製造方法
1か月前
個人
洗濯用洗剤容器の蓋
3か月前
リンテック株式会社
耐水性基材
1か月前
シャープ株式会社
洗濯機
3か月前
アイリスオーヤマ株式会社
洗濯機
26日前
松本油脂製薬株式会社
繊維用処理剤及びその利用
3か月前
大阪瓦斯株式会社
衣類乾燥機
3か月前
大阪瓦斯株式会社
衣類乾燥機
3か月前
大阪瓦斯株式会社
衣類乾燥機
3か月前
ダイニック株式会社
ターポリン、及びその製造方法
1か月前
シャープ株式会社
洗濯機
3か月前
シャープ株式会社
洗濯機
3か月前
個人
開閉角度調整可能な角型折畳みピンチハンガー
3か月前
東芝ライフスタイル株式会社
洗濯機
2か月前
東レ株式会社
抗菌性アクリル系繊維およびその製造方法
2か月前
株式会社wash-plus
ランドリーシステム
26日前
東芝ライフスタイル株式会社
洗濯機
2か月前
個人
パイプ用係止、固定装置及び洗濯バサミ取り付け具
3か月前
株式会社コーワ
乾燥機のフィルター清掃装置及び乾燥機
1か月前
シャープ株式会社
衣類処理システム
3か月前
続きを見る
他の特許を見る