TOP
|
特許
|
意匠
|
商標
特許ウォッチ
Twitter
他の特許を見る
公開番号
2025173693
公報種別
公開特許公報(A)
公開日
2025-11-28
出願番号
2024079368
出願日
2024-05-15
発明の名称
塗膜剥離装置
出願人
株式会社サタケ
代理人
個人
,
個人
,
個人
,
個人
,
個人
,
個人
,
個人
,
個人
,
個人
,
個人
主分類
B29B
17/02 20060101AFI20251120BHJP(プラスチックの加工;可塑状態の物質の加工一般)
要約
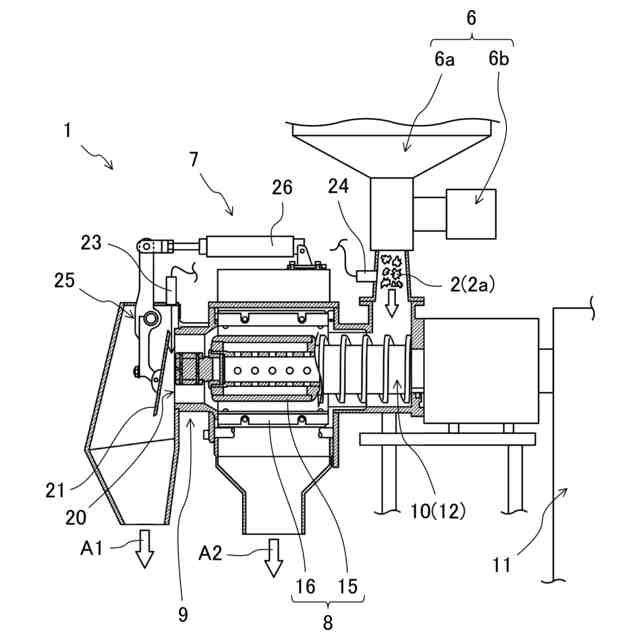
【課題】装置の内部における樹脂材の固着を自動的かつ効果的に抑制できる塗膜剥離装置を提供する。
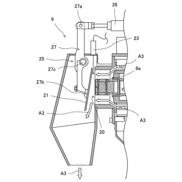
【解決手段】本発明の塗膜剥離装置は、粉砕された樹脂材2の外面に含まれる塗膜を研削する塗膜研削部8と、塗膜が研削された樹脂材2を吐出する吐出部9とを含む。吐出部9は、吐出口20と、吐出口20を塞ぐことができる抵抗蓋21と、樹脂材2の表面温度を非接触で測定する第1温度センサ23と、表面温度が特定の閾値を超えたときに、抵抗蓋21を駆動させて、吐出口20における抵抗蓋21の開口度を増加させる蓋駆動装置25とを含む。
【選択図】図1
特許請求の範囲
【請求項1】
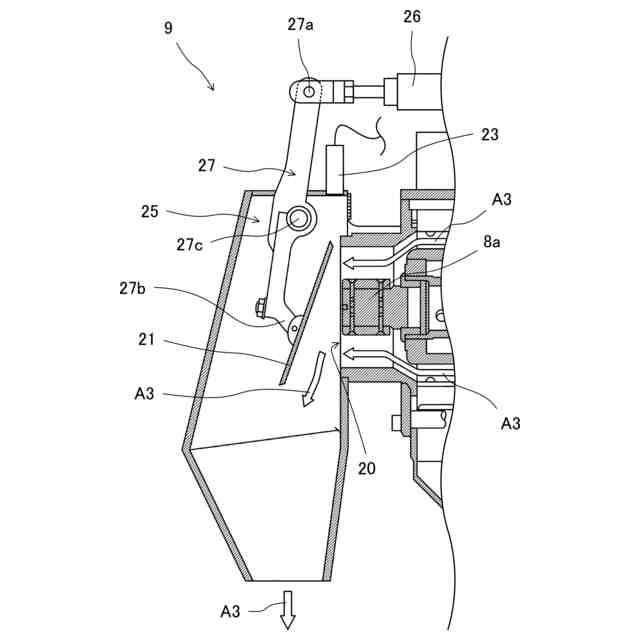
粉砕された樹脂材の表面に付着している塗膜を研削する塗膜研削部と、
前記塗膜が研削された前記樹脂材を前記塗膜研削部から吐出する吐出口を有する吐出部とを含み、
前記吐出部は、
前記吐出口に対して開閉駆動することで前記吐出口の開口度を変更可能な抵抗蓋と、
前記樹脂材の表面温度を非接触で測定可能な第1温度センサと、
前記表面温度が特定の閾値を超えたときに、前記抵抗蓋を駆動させて、前記吐出口の開口度を増加させる蓋駆動装置とを含む、
塗膜剥離装置。
続きを表示(約 650 文字)
【請求項2】
請求項1に記載の塗膜剥離装置において、
前記蓋駆動装置は、前記抵抗蓋を駆動させるエアシリンダを含む、塗膜剥離装置。
【請求項3】
請求項1又は2に記載の塗膜剥離装置において、
前記塗膜研削部を駆動させる駆動モータと、前記第1温度センサで測定された温度が特定の閾値を超えたときに、前記駆動モータの動作電流を小さくするモータ制御部とを含む、塗膜剥離装置。
【請求項4】
請求項1又は2に記載の塗膜剥離装置において、
前記塗膜研削部に送風可能な送風部と、前記第1温度センサで測定された温度が特定の閾値を超えたときに、前記送風部を動作させる送風制御部とを含む、塗膜剥離装置。
【請求項5】
請求項1又は2に記載の塗膜剥離装置において、
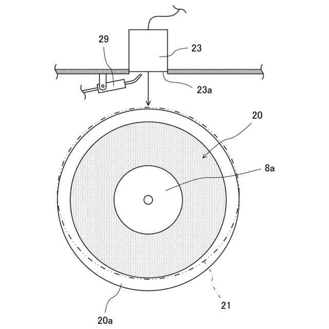
前記第1温度センサは、前記吐出口の上方に設けられている、塗膜剥離装置。
【請求項6】
請求項5に記載の塗膜剥離装置において、
前記第1温度センサは、温度測定のための赤外線を発出する発出面を含み、
前記吐出部は、前記発出面を清掃できるエアブロアを含む、塗膜剥離装置。
【請求項7】
請求項1又は2に記載の塗膜剥離装置において、
前記塗膜研削部よりも上流側において前記樹脂材の表面温度を測定可能な第2温度センサを含み、
前記蓋駆動装置は、前記第2温度センサの測定温度も踏まえて、前記抵抗蓋を駆動させる、塗膜剥離装置。
発明の詳細な説明
【技術分野】
【0001】
本発明は、塗膜剥離装置に関する。
続きを表示(約 1,300 文字)
【背景技術】
【0002】
近年、使用済みの樹脂材をリサイクルすることが強く要求されている。リサイクルしようとする樹脂材が塗装されている場合は、樹脂材の表面に付着している塗膜を除去する必要がある。
【0003】
例えば、下記特許文献1には、樹脂材の塗膜剥離装置が提案されている。前記装置は、剥離筒と、剥離筒の内部に配された剥離ロールとを含んでいる。剥離ロールは、剥離筒の内周面との間に間隙を形成するように配設されている。前記装置は、剥離筒と剥離ロールとの間に樹脂材が供給された状態で剥離ロールを回転させることにより、樹脂材の塗膜を研削することができるとされている。
【先行技術文献】
【特許文献】
【0004】
特開2010-179603号公報
【発明の概要】
【発明が解決しようとする課題】
【0005】
上記特許文献1に記載されるような塗膜剥離装置では、効率良く樹脂材の塗膜を研削する観点から、装置内部の温度がある程度高い状態で運転するのが望ましい。もっとも、装置内部で研削される樹脂材は、特定の温度(例えば、120~130℃)を超えると、必要以上に軟化し、最悪の場合には、樹脂材の粉砕片同士がタール状に固着してしまうこともある。このような樹脂材の固着が発生すると、装置を停止させる必要があり、かつ、復旧に大きな手間が必要となる。しかも、かかる樹脂材の固着は、特定の温度を超えたときに急激に進行する傾向があることから、オペレータが装置の内部を頻繁に監視する必要があり、そのことが大きな負担となっている。
【0006】
本発明は、以上のような実状に鑑み案出されたもので、装置の内部における樹脂材の固着を自動的かつ効果的に抑制できる塗膜剥離装置を提供することを主たる目的としている。
【課題を解決するための手段】
【0007】
第1の発明は、粉砕された樹脂材の表面に付着している塗膜を研削する塗膜研削部と、前記塗膜が研削された前記樹脂材を前記塗膜研削部から吐出する吐出口を有する吐出部とを含み、前記吐出部は、前記吐出口に対して開閉駆動することで前記吐出口の開口度を変更可能な抵抗蓋と、前記樹脂材の表面温度を非接触で測定可能な第1温度センサと、前記表面温度が特定の閾値を超えたときに、前記抵抗蓋を駆動させて、前記吐出口の開口度を増加させる蓋駆動装置とを含む、塗膜剥離装置である。
【0008】
第2の発明は、第1の発明において、前記蓋駆動装置は、前記抵抗蓋を駆動させるエアシリンダを含むことを特徴とする。
【0009】
第3の発明は、第1又は第2の発明において、前記塗膜研削部を駆動させる駆動モータと、前記第1温度センサで測定された温度が特定の閾値を超えたときに、前記駆動モータの動作電流を小さくするモータ制御部とを含むことを特徴とする。
【0010】
第4の発明は、第1又は第2の発明において、前記塗膜研削部に送風可能な送風部と、前記第1温度センサで測定された温度が特定の閾値を超えたときに、前記送風部を動作させる送風制御部とを含むことを特徴とする。
(【0011】以降は省略されています)
この特許をJ-PlatPat(特許庁公式サイト)で参照する
関連特許
株式会社サタケ
塗膜剥離装置
4日前
株式会社サタケ
醸造用精米機
1か月前
株式会社サタケ
粉粒体回収装置
6日前
株式会社サタケ
種子の消毒装置
2か月前
株式会社サタケ
粒状物の乾燥装置
1か月前
株式会社サタケ
共同乾燥調製施設
1か月前
株式会社サタケ
循環式穀物乾燥機
2か月前
株式会社サタケ
測定装置および選別装置
1か月前
株式会社サタケ
精白米中の土砂混入率の検査方法
1か月前
株式会社サタケ
集塵機における圧力計測配管の取付構造
2か月前
個人
気泡緩衝材減容装置
2か月前
豊田鉄工株式会社
金型
4か月前
CKD株式会社
型用台車
11か月前
シーメット株式会社
光造形装置
11か月前
東レ株式会社
フィルムの製造方法
4か月前
株式会社 型善
射出成形型
13日前
グンゼ株式会社
ピン
11か月前
東レ株式会社
フィルムの製造方法
8か月前
東レ株式会社
フィルムの製造方法
5か月前
株式会社エフピコ
賦形シート
27日前
株式会社FTS
ロッド
10か月前
東レ株式会社
フィルムの製造方法。
4か月前
株式会社カワタ
計量混合装置
6か月前
日機装株式会社
加圧システム
7か月前
東レ株式会社
複合成形体の製造方法
1か月前
個人
樹脂可塑化方法及び装置
10か月前
東レ株式会社
樹脂フィルムの製造方法
6か月前
株式会社漆原
シートの成形方法
6か月前
NOK株式会社
樹脂ゴム複合体
3か月前
トヨタ自動車株式会社
射出装置
9か月前
株式会社FTS
成形装置
11か月前
株式会社FTS
セパレータ
10か月前
株式会社不二越
射出成形機
6か月前
株式会社不二越
射出成形機
7か月前
株式会社コスメック
射出成形装置
6か月前
株式会社不二越
射出成形機
3か月前
続きを見る
他の特許を見る