TOP
|
特許
|
意匠
|
商標
特許ウォッチ
Twitter
他の特許を見る
公開番号
2025173692
公報種別
公開特許公報(A)
公開日
2025-11-28
出願番号
2024079367
出願日
2024-05-15
発明の名称
二重効用乾燥システム
出願人
株式会社KMコーポレーション
代理人
個人
主分類
F26B
23/00 20060101AFI20251120BHJP(乾燥)
要約
【課題】被乾燥物の乾燥に伴い発生する廃蒸気の熱を有効に利用することにより、エネルギーロスを削減してコスト高を招くことなく、被乾燥物の乾燥効率をよりいっそう高めることができる二重効用乾燥システムを提供する。
【解決手段】被乾燥物が最初に投入される前段乾燥機10Aと、前段乾燥機10Aにより乾燥中の被乾燥物が移送されて乾燥を完結する後段乾燥機10Bと、を備える。前段乾燥機10Aに高圧蒸気を導入して被乾燥物を乾燥させると共に、前段乾燥機10Aによる被乾燥物の乾燥に伴い発生した廃蒸気を後段乾燥機10Bに導入して、後段乾燥機10Bによる被乾燥物の最終乾燥に利用する。
【選択図】図1
特許請求の範囲
【請求項1】
2つの乾燥機を連ねて被乾燥物を連続して乾燥させる二重効用乾燥システムであって、
被乾燥物が最初に投入される前段乾燥機と、前段乾燥機により乾燥中の被乾燥物が移送されて乾燥を完結する後段乾燥機と、を備え、
前段乾燥機に高圧蒸気を導入して被乾燥物を乾燥させると共に、前段乾燥機による被乾燥物の乾燥に伴い発生した廃蒸気を後段乾燥機に導入して、後段乾燥機による被乾燥物の最終乾燥に利用可能であることを特徴とする二重効用乾燥システム。
続きを表示(約 1,000 文字)
【請求項2】
2つの乾燥機を連ねて被乾燥物を連続して乾燥させる二重効用乾燥システムであって、
被乾燥物が最初に投入される前段乾燥機と、前段乾燥機により乾燥中の被乾燥物が移送されて乾燥を完結する後段乾燥機と、を備え、
後段乾燥機に高圧蒸気を導入して被乾燥物を最終乾燥させると共に、後段乾燥機による被乾燥物の最終乾燥に伴い発生した廃蒸気を前段乾燥機に導入して、前段乾燥機による被乾燥物の予熱乾燥に利用可能であることを特徴とする二重効用乾燥システム。
【請求項3】
請求項1に記載の二重効用乾燥システムにおいて、前記廃蒸気が導入される後段乾燥機は、被乾燥物が供給される内部が真空状態に設定されたことを特徴とする二重効用乾燥システム。
【請求項4】
請求項2に記載の二重効用乾燥システムにおいて、前記廃蒸気が導入される前段乾燥機は、被乾燥物が供給される内部が真空状態に設定されたことを特徴とする二重効用乾燥システム。
【請求項5】
2つの乾燥機を連ねて被乾燥物を連続して乾燥させる二重効用乾燥システムであって、
被乾燥物が最初に投入される前段乾燥機と、前段乾燥機により乾燥中の被乾燥物が移送されて乾燥を完結する後段乾燥機と、を備え、
前段乾燥機に高圧蒸気を導入して被乾燥物を乾燥させると共に、前段乾燥機による被乾燥物の乾燥に伴い発生した廃蒸気を後段乾燥機に導入して、後段乾燥機による被乾燥物の最終乾燥に利用する潜熱回収モードに設定可能であり、
後段乾燥機に高圧蒸気を導入して被乾燥物を最終乾燥させると共に、後段乾燥機による被乾燥物の最終乾燥に伴い発生した廃蒸気を前段乾燥機に導入して、前段乾燥機による被乾燥物の予熱乾燥に利用する予熱利用モードに設定可能であり、
潜熱回収モードと予熱利用モードの何れかのモードに切替可能としたことを特徴とする二重効用乾燥システム。
【請求項6】
前段乾燥機および後段乾燥機は、縦型の円筒形状をなし被乾燥物を受け入れる本体槽と、該本体槽内で略鉛直な中心線に沿って延びる回転軸に設けられた回転巻上羽根と、を備え、
前記本体槽の内壁は、該本体槽の外周に沿って設けられたジャケット内に導入された蒸気により加熱される伝熱面をなし、
前記回転巻上羽根の回転駆動により、前記本体槽内の被乾燥物は前記伝熱面に遠心力と慣性力により薄膜状に押し付けられながら上昇する構成であることを特徴とする請求項1,2,3,4または5に記載の乾燥システム。
発明の詳細な説明
【技術分野】
【0001】
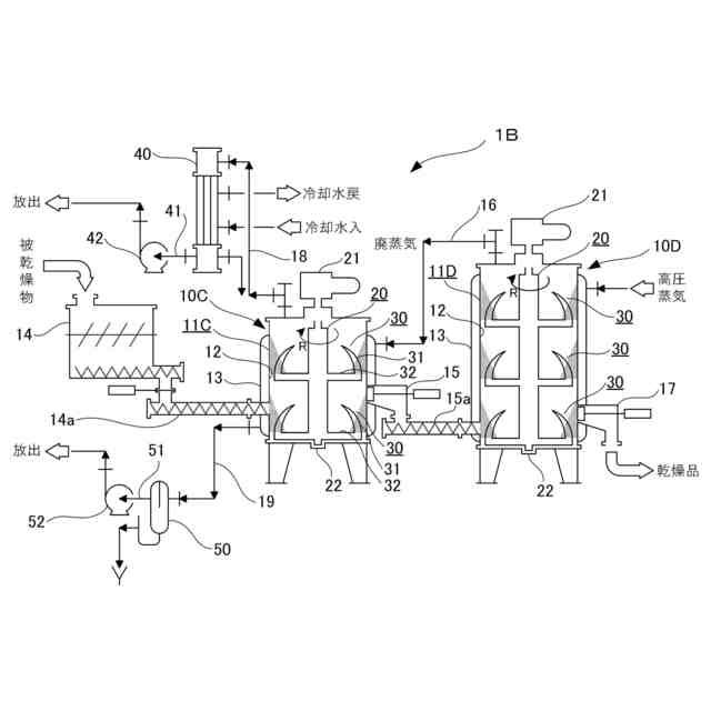
本発明は、2つの乾燥機を連ねて被乾燥物を連続して乾燥させる二重効用乾燥システムに関する。
続きを表示(約 1,700 文字)
【背景技術】
【0002】
従来より、食品廃棄物、汚泥、スラッジ、あるいは産業廃棄物等の高含水の様々な形態の被乾燥物を乾燥させる乾燥装置が知られている。特に本出願人は、サイクロンドライヤーと称する独自の乾燥装置の開発により、理想の乾燥条件を実現することができる乾燥装置を既に提案している(例えば特許文献1,2参照)。
【0003】
このような乾燥装置は、縦型の円筒形状の本体槽内に被乾燥物を投入して、鉛直な回転軸に取り付けたサイクロンフィンと称される回転巻上羽根の回転により巻き上げられるように構成されている。かかる構成により、回転巻上羽根が回転すると、被乾燥物が遠心力によって本体槽の内壁にある伝熱面に薄膜状に押し付けられ、後から巻き上げられる被乾燥物が先に巻き上げられた被乾燥物を上方へ順に押し上げる作用と相俟って、被乾燥物を効率良く乾燥させることができる。
【0004】
本体槽の伝熱面における熱源としては、一般に本体槽の外周を囲むジャケットに高圧蒸気を供給し、蒸気の潜熱を利用し被乾燥物に含まれている水分を蒸発させている。この蒸発の時点で被乾燥物の蒸発の効率を上げるために、例えば本体槽内に外部からキャリアーエアーを導入し、蒸発した廃蒸気と共に本体槽外に排出する使用方法も行なっていた。ここでの廃蒸気は、エアーと混合した廃ガスとなるので、この廃ガスから潜熱を利用することはできなかった。
【先行技術文献】
【特許文献】
【0005】
特許第2840639号公報
特許第2958869号公報
【発明の概要】
【発明が解決しようとする課題】
【0006】
前述した乾燥装置では、高圧蒸気を伝熱面の熱源にすると共に、本体槽内に外部からキャリアーエアーを導入し、回転巻上羽根の回転により被乾燥物を遠心力と慣性力により、伝熱面に被乾燥物を薄膜状に接触させ蒸発させていた。ところが実際は、外部からキャリアーエアーを導入しなくても被乾燥物の乾燥が可能であることが判明した。また、外部からキャリアーエアーを導入することなく、被乾燥物からの水分のみを蒸気として蒸発させた場合、排気は水蒸気のみとなり完全な常圧水蒸気となる。
【0007】
この時点での常圧水蒸気の潜熱は、充分な熱量を保持しているにも関わらず、今現在まではこの蒸気を単なる廃蒸気として処理し、有効活用することはなかった。すなわち、本体槽外に排出された廃蒸気は、例えば間接コンデンサーにより数百から数千キロカロリーのクーリングタワーにて冷却し、そのまま凝集水として排出しており、多大なエネルギーロスとなっていた。
【0008】
本発明は、前述したような従来の技術が有する問題点に着目してなされたものであり、被乾燥物の乾燥に伴い発生する廃蒸気の熱を有効に利用することにより、エネルギーロスを削減してコスト高を招くことなく、被乾燥物の乾燥効率をよりいっそう高めることができる二重効用乾燥システムを提供することを目的としている。
【課題を解決するための手段】
【0009】
前述した目的を達成するため、本発明の一態様は、
2つの乾燥機を連ねて被乾燥物を連続して乾燥させる二重効用乾燥システムであって、
被乾燥物が最初に投入される前段乾燥機と、前段乾燥機により乾燥中の被乾燥物が移送されて乾燥を完結する後段乾燥機と、を備え、
前段乾燥機に高圧蒸気を導入して被乾燥物を乾燥させると共に、前段乾燥機による被乾燥物の乾燥に伴い発生した廃蒸気を後段乾燥機に導入して、後段乾燥機による被乾燥物の最終乾燥に利用する潜熱回収モードに設定可能であることを特徴とする。
【発明の効果】
【0010】
本発明に係る二重効用乾燥システムによれば、被乾燥物の乾燥に伴い発生する廃蒸気の熱を有効に利用することにより、エネルギーロスを削減してコスト高を招くことなく、被乾燥物の乾燥効率をよりいっそう高めることができる。
【図面の簡単な説明】
(【0011】以降は省略されています)
この特許をJ-PlatPat(特許庁公式サイト)で参照する
関連特許
個人
ハンディ傘乾燥丸め器
2か月前
株式会社サタケ
循環式穀物乾燥機
2か月前
株式会社サタケ
粒状物の乾燥装置
1か月前
株式会社ダイソー
乾熱減容処理装置
3か月前
株式会社チノー
乾燥システム
4か月前
株式会社カワタ
粉粒体処理装置
1か月前
株式会社クレブ
ブーツ乾燥装置
9か月前
東レエンジニアリング株式会社
乾燥装置
1か月前
東レ株式会社
塗膜付きシートの加熱装置
6か月前
東レエンジニアリング株式会社
乾燥装置
3か月前
エイ・エス・デイ株式会社
乾燥装置
3か月前
株式会社サタケ
穀物乾燥機
3か月前
株式会社ヨシカワ
乾燥装置
3か月前
株式会社ヒメジ理化イノテック
乾燥装置
27日前
大東電子株式会社
傘水滴除去装置
10か月前
クリーン・テクノロジー株式会社
乾燥装置
9か月前
クリーン・テクノロジー株式会社
乾燥装置
25日前
クリーン・テクノロジー株式会社
乾燥装置
10か月前
株式会社ワカミヤ商会
乾燥装置
5か月前
高砂工業株式会社
凍結乾燥装置
8か月前
アントム株式会社
搬送式乾燥炉
7か月前
株式会社カワタ
粉粒体処理容器および乾燥装置
1か月前
セイコーエプソン株式会社
乾燥機
6か月前
株式会社カワタ
粉粒体処理装置および乾燥方法
1か月前
株式会社大川原製作所
乾燥システム
8か月前
クリーン・テクノロジー株式会社
熱風式乾燥装置
9か月前
個人
常服乾燥装置
2か月前
株式会社大川原製作所
乾燥システム
8か月前
株式会社マクニカ
乾熱減容処理装置
3か月前
株式会社アサヒテクノ
乾燥装置及び乾燥方法
6か月前
特殊電極株式会社
塗装乾燥装置および塗装乾燥方法
8か月前
カワサキ機工株式会社
ネット型乾燥装置
5か月前
株式会社KMコーポレーション
二重効用乾燥システム
4日前
株式会社ワコーシステムコントロール
乾燥装置
1か月前
トヨタ自動車株式会社
乾燥装置
1か月前
株式会社ショウワテクノ
コンテナ容器脱水装置
9か月前
続きを見る
他の特許を見る