TOP
|
特許
|
意匠
|
商標
特許ウォッチ
Twitter
他の特許を見る
公開番号
2025173676
公報種別
公開特許公報(A)
公開日
2025-11-28
出願番号
2024079342
出願日
2024-05-15
発明の名称
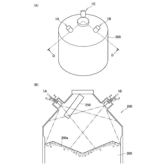
高炉炉況状態測定装置並びに高炉の操業方法
出願人
株式会社WADECO
代理人
弁理士法人栄光事務所
主分類
C21B
7/24 20060101AFI20251120BHJP(鉄冶金)
要約
【課題】炉況の状態を監視するにあたり、装入物の表面プロフィールや、炉内の温度分布及びガス濃度分布を単一の測定装置により、かつ、正確に測定する。
【解決手段】本発明は、高炉内部に向けてレーザ光による走査を行い、堆積している装入物の表面プロフィールと、装入物の面上空間における温度分布及びガス濃度分布とを測定する装置であって、前記レーザ光を照射し、受光する投受光手段を備える高炉炉況状態測定装置に関する。また、前記の高炉炉況状態測定装置を用い、装入物の表面プロフィールと、装入物の面上空間の温度分布及びガス濃度分布から、操業条件を調整しながら操業する高炉の操業方法に関する。
【選択図】図1
特許請求の範囲
【請求項1】
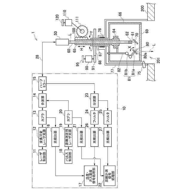
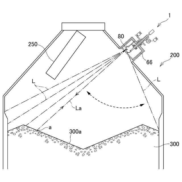
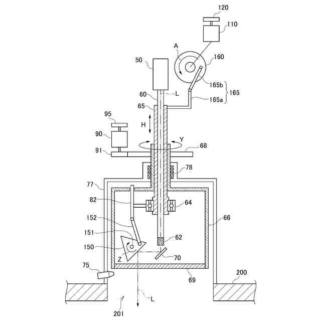
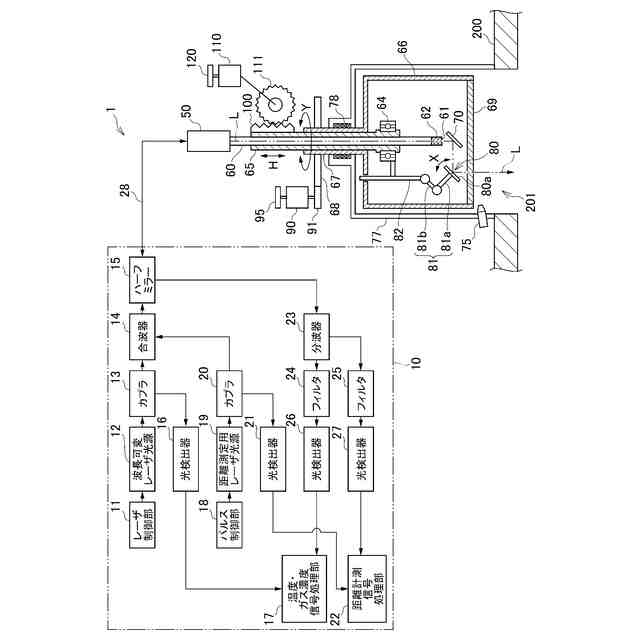
高炉の内部に向けてレーザ光による走査を行い、堆積している装入物の表面プロフィールと、装入物の面上空間における温度分布及びガス濃度分布とを測定する装置であって、
前記レーザ光を照射し、受光する投受光手段を備えることを特徴とする、高炉炉況状態測定装置。
続きを表示(約 880 文字)
【請求項2】
温度分布及びガス濃度分布を測定するための波長可変レーザ光源と、装入物の表面プロファイルを測定するための距離計用レーザ光源とが、異なる波長であることを特徴とする、請求項1に記載の高炉炉況状態測定装置。
【請求項3】
前記波長可変レーザ光源から発せられる波長可変レーザ光と、前記距離計用レーザ光源から発せられる距離計用レーザ光とを合成した合成レーザ光について、同一の光路を伝搬させることを特徴とする、請求項2に記載の高炉炉況状態測定装置。
【請求項4】
前記合成レーザ光の受光レベルが高い位置を選び、その位置の距離及び前記合成レーザ光の軸線上の温度とガス濃度を測定することを特徴とする、請求項3に記載の高炉炉況状態測定装置。
【請求項5】
前記高炉の複数箇所に配置され、前記装入物の3次元表面プロフィール、並びに前記高炉の温度及びガス濃度の3次元分布を測定することを特徴とする、請求項1~3のいずれか1項に記載の高炉炉況状態測定装置。
【請求項6】
前記合成レーザ光による走査を一時停止し、停止位置にて繰り返して測定を行い、得られたデータを平均処理することを特徴とする、請求項3に記載の高炉炉況状態測定装置。
【請求項7】
前記合成レーザ光による走査を一時停止し、停止位置にて繰り返して測定を行い、得られたデータを平均処理することを特徴とする、請求項4に記載の高炉炉況状態測定装置。
【請求項8】
請求項1に記載の高炉炉況状態測定装置を用い、前記装入物の表面プロフィールと、前記装入物の面上空間の温度分布及びガス濃度分布から、操業条件を調整しながら操業することを特徴とする、高炉の操業方法。
【請求項9】
請求項4に記載の高炉炉況状態測定装置を用い、前記レーザ光の受光レベルが高い位置を選び、前記装入物までの距離及び前記レーザ光の軸線上の温度とガス濃度から、操業条件を調整しながら操業することを特徴とする、高炉の操業方法。
発明の詳細な説明
【技術分野】
【0001】
本発明は、高炉の炉況状態を示す指標である高炉内の装入物の表面プロフィール、並びに装入物の面上空間の温度分布及びガス濃度分布を測定する装置に関する。また、本発明は、高炉の操業方法に関する。
続きを表示(約 1,900 文字)
【背景技術】
【0002】
高炉において、炉況の状態を監視することは、安定操業を維持するうえで非常に重要である。特に、鉄鉱石やコークス(以下、まとめて「装入物」という。)の堆積状態を示す表面プロフィールと、装入物の面上空間の温度分布及びガス濃度分布とは密接な関係があり、これらを監視し得られた情報を関連付けて解析することで、炉況状態を早期に、且つ的確に把握することができる。
【0003】
従来は、マイクロ波やミリ波などの電磁波を用いて装入物の堆積状態を測定する装入物表面プロフィール測定装置(特許文献1参照)、高炉円周上に音波センサを配置し、音波の伝搬速度から炉頂空間の温度分布を測定する炉頂温度分布測定装置(特許文献2参照)、ガス採取管及び熱電対を挿入して炉頂部のガスを測定するガス分析装置(特許文献3参照)など様々な測定装置を用いて炉況状態を監視している。
【先行技術文献】
【特許文献】
【0004】
特許第6857933号公報
特開2019-183262号公報
特開平8-193209号公報
【発明の概要】
【発明が解決しようとする課題】
【0005】
しかしながら、特許文献1に記載の装入物表面プロフィール測定装置は、装入物の表面プロフィールの測定には適しているが、炉頂空間部の温度やガス濃度を測定できない。また、特許文献2に記載の炉頂温度分布測定装置は、炉頂空間の温度の2次元分布を測定できるが、装入物の表面プロフィールやガス濃度の測定はできない。さらに、特許文献3に記載のガス分析装置は、炉内に挿入されたガス採取管及び熱電対の先端部分での局所的な測定であり、炉頂空間の広範囲にわたるガス濃度分布及び温度分布を測定できない。また装入物の堆積状態の測定はできない。
【0006】
このように、従来の方法では炉況の状態を知るために、目的ごとに異なる測定装置を用いなければならないといった問題がある。
【0007】
本発明はこのような状況に鑑みてなされたものであり、炉況の状態を監視するにあたり、装入物の表面プロフィールや、炉内の温度分布及びガス濃度分布を単一の測定装置により、かつ、正確に測定することを目的とする。また、本発明は、このような測定装置の測定結果を基に、より安定した操業を行う方法を提供することを目的とする。
【課題を解決するための手段】
【0008】
上記課題を解決するために本発明は、下記(1)~(7)の高炉炉況状態測定装置を提供する。
【0009】
(1) 高炉の内部に向けてレーザ光による走査を行い、堆積している装入物の表面プロフィールと、装入物の面上空間における温度分布及びガス濃度分布とを測定する装置であって、
前記レーザ光を照射し、受光する投受光手段を備えることを特徴とする、高炉炉況状態測定装置。
(2) 温度分布及びガス濃度分布を測定するための波長可変レーザ光源と、装入物の表面プロファイルを測定するための距離計用レーザ光源とが、異なる波長であることを特徴とする、(1)に記載の高炉炉況状態測定装置。
(3) 前記波長可変レーザ光源から発せられる波長可変レーザ光と、前記距離計用レーザ光源から発せられる距離計用レーザ光とを合成した合成レーザ光について、同一の光路を伝搬させることを特徴とする、(2)に記載の高炉炉況状態測定装置。
(4) 前記合成レーザ光の受光レベルが高い位置を選び、その位置の距離及び前記合成レーザ光の軸線上の温度とガス濃度を測定することを特徴とする、(3)に記載の高炉炉況状態測定装置。
(5) 前記高炉の複数箇所に配置され、前記装入物の3次元表面プロフィール、並びに前記高炉の温度及びガス濃度の3次元分布を測定することを特徴とする、(1)~(3)のいずれか1つに記載の高炉炉況状態測定装置。
(6) 前記合成レーザ光による走査を一時停止し、停止位置にて繰り返して測定を行い、得られたデータを平均処理することを特徴とする、(3)に記載の高炉炉況状態測定装置。
(7) 前記合成レーザ光による走査を一時停止し、停止位置にて繰り返して測定を行い、得られたデータを平均処理することを特徴とする、(4)に記載の高炉炉況状態測定装置。
【0010】
上記課題を解決するために本発明は、下記(8)又は(9)の高炉の操業方法を提供する。
(【0011】以降は省略されています)
この特許をJ-PlatPat(特許庁公式サイト)で参照する
関連特許
他の特許を見る