TOP
|
特許
|
意匠
|
商標
特許ウォッチ
Twitter
他の特許を見る
公開番号
2025173648
公報種別
公開特許公報(A)
公開日
2025-11-28
出願番号
2024079285
出願日
2024-05-15
発明の名称
シート給送装置及び画像形成装置
出願人
キヤノン株式会社
代理人
弁理士法人中川国際特許事務所
主分類
B65H
11/00 20060101AFI20251120BHJP(運搬;包装;貯蔵;薄板状または線条材料の取扱い)
要約
【課題】シートの給送方向と直交する方向の位置を調整すると共に、軽量化及び小型化すること。
【解決手段】シートSを給送するシート給送装置100は、シートSの給送方向Xに直交する方向の移動を規制するサイド規制部材10を備えるシートSを積載可能なシートトレイ4と、シートトレイ4の給送方向Xの上流側に設けられる拡張シートトレイ1と、を有する。拡張シートトレイ1は、直交する方向におけるシートSのサイズに応じた位置を表示する第1の表示部7を備える。シートトレイ4は、直交する方向におけるシートSのサイズに応じた位置を表示する第2の表示部8a及び第2の表示部8bを備える。
【選択図】図3
特許請求の範囲
【請求項1】
シートを給送するシート給送装置であって、
シートの給送方向に直交する方向の移動を規制する規制部材を備えるシートを積載可能なシートトレイと、
前記シートトレイの前記給送方向の上流側に設けられ、シートを積載可能な拡張シートトレイと、
を有し、
前記拡張シートトレイは、
前記直交する方向におけるシートのサイズに応じた位置を表示する第1の表示部を備え、
前記シートトレイは、
前記直交する方向におけるシートの前記サイズに応じた位置を表示する第2の表示部を備える、
ことを特徴とするシート給送装置。
続きを表示(約 360 文字)
【請求項2】
前記第2の表示部は、
前記直交する方向において分割されている、
ことを特徴とする請求項1に記載のシート給送装置。
【請求項3】
前記第1の表示部は、
前記直交する方向において分割されている、
ことを特徴とする請求項1又は請求項2に記載のシート給送装置。
【請求項4】
前記第1の表示部および前記第2の表示部は、
貼り付け部を備えるラベル用紙で構成されている、
ことを特徴とする請求項1に記載のシート装置。
【請求項5】
請求項1又は請求項2に記載のシート給送装置と、
前記シート給送装置により給送されたシートに画像を形成する画像形成部と、
を有することを特徴とする画像形成装置。
発明の詳細な説明
【技術分野】
【0001】
本発明は、シートを給送するシート給送装置及びこのシート給送装置を備えた複写機、プリンタ又はファクシミリ等の画像形成装置に関する。
続きを表示(約 1,600 文字)
【背景技術】
【0002】
従来、店頭のPOPで使用するような長さが1000mm程度の長尺紙に対してプリントする場合には、画像形成装置の装置本体の側壁に取付けられている手差し給送装置に対して、拡張シートトレイを取り付ける構成が知られている(例えば、特許文献1)。このような拡張シートトレイは、手差し給紙装置に取り付けられる手差し給紙取付部と、長尺紙のシートのシート給送方向の上流側を支持するシート積載部と、を備える。また、シート積載部は、拡張シートトレイを軽量化することを目的として、針金等の部材で構成されることが一般的である。
【0003】
拡張シートトレイを備えるシート給送装置に対してシートの給送方向に大きな寸法を有する長尺紙をセットする場合には、シートが給送方向に対して傾いてセットされないように、シートの給送方向に直交する幅方向の位置を合わせる必要がある。この際に、手差し給送装置のみならず拡張シートトレイにおいても、幅方向の位置を合わせる必要がある。
【0004】
このような状況において、特許文献2は、メイントレイの幅方向の規制部材を必要に応じて延長することにより、長尺紙の幅方向の位置を合わせる機構を開示している。また、特許文献3は、メイントレイとは別に拡張トレイにも長尺紙の幅方向を規制する規制部材を設ける構成を開示している。
【先行技術文献】
【特許文献】
【0005】
特許第6187440号公報
特開2002-362787号公報
実公平7-18664号公報
【発明の概要】
【発明が解決しようとする課題】
【0006】
しかしながら、特許文献2及び特許文献3においては、長尺紙の幅方向の両端を規制する規制部材を設けるため、シート給送装置の重量が大きくなると共にシート給送装置が大型化するという課題を有する。
【0007】
本発明の目的は、シートの給送方向と直交する方向の位置を調整することができると共に、軽量化及び小型化することができるシート給送装置及び画像形成装置を提供することである。
【課題を解決するための手段】
【0008】
本発明に係るシート給送装置は、シートを給送するシート給送装置であって、シートの給送方向に直交する方向の移動を規制する規制部材を備えるシートを積載可能なシートトレイと、前記シートトレイの前記給送方向の上流側に設けられ、シートを積載可能な拡張シートトレイと、を有し、前記拡張シートトレイは、前記直交する方向におけるシートのサイズに応じた位置を表示する第1の表示部を備え、前記シートトレイは、前記直交する方向におけるシートの前記サイズに応じた位置を表示する第2の表示部を備える、ことを特徴とする。
【発明の効果】
【0009】
本発明によれば、シートの給送方向と直交する方向の位置を調整することができると共に、軽量化及び小型化することができる。
【図面の簡単な説明】
【0010】
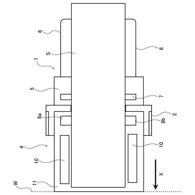
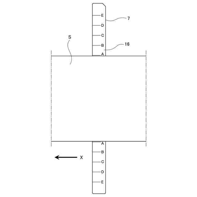
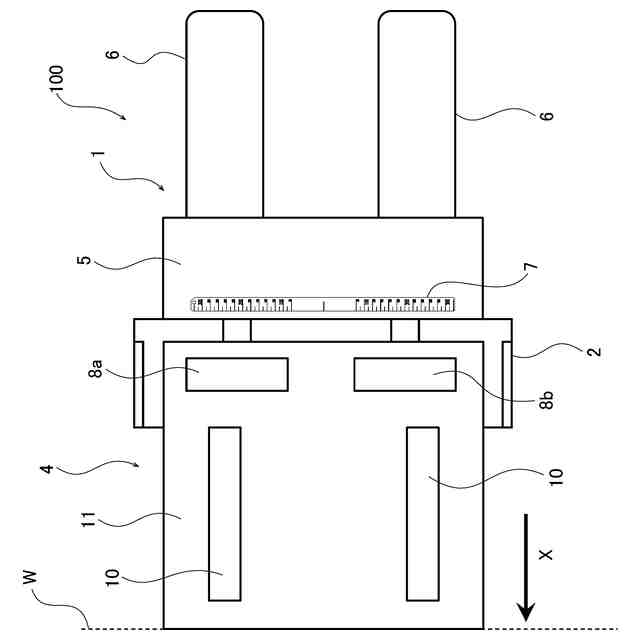
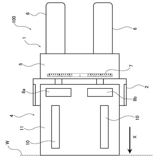
本発明の実施の形態1に係る画像形成装置の模式図である。
本発明の実施の形態1に係るシート給送装置の正面図である。
本発明の実施の形態1に係るシート給送装置の平面模式図である。
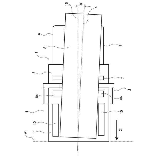
本発明の実施の形態1に係るシート給送装置のシートが正常に積載された状態の平面模式図である。
本発明の実施の形態1に係るシート給送装置のシートが給送方向に対して斜めに積載された状態の平面模式図である。
本発明の実施の形態1に係るシート給送装置の動作を説明する図である。
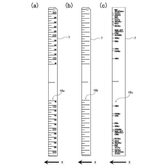
本発明の実施の形態1に係るシート給送装置の第2の表示部の平面図である。
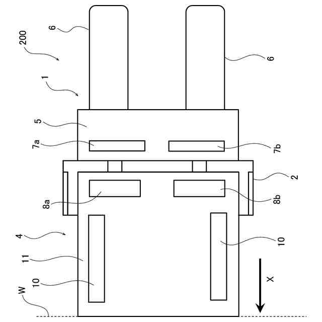
本発明の実施の形態2に係るシート給送装置の平面模式図である。
【発明を実施するための形態】
(【0011】以降は省略されています)
この特許をJ-PlatPat(特許庁公式サイト)で参照する
関連特許
キヤノン株式会社
容器
1か月前
キヤノン株式会社
容器
1か月前
キヤノン株式会社
トナー
22日前
キヤノン株式会社
表示装置
1日前
キヤノン株式会社
表示装置
1日前
キヤノン株式会社
撮像装置
1日前
キヤノン株式会社
表示装置
1か月前
キヤノン株式会社
記録装置
22日前
キヤノン株式会社
撮像装置
1か月前
キヤノン株式会社
撮像装置
1日前
キヤノン株式会社
表示装置
1日前
キヤノン株式会社
撮像装置
17日前
キヤノン株式会社
電子機器
22日前
キヤノン株式会社
記録装置
15日前
キヤノン株式会社
測距装置
24日前
キヤノン株式会社
電子機器
17日前
キヤノン株式会社
撮像装置
22日前
キヤノン株式会社
雲台装置
22日前
キヤノン株式会社
撮像装置
23日前
キヤノン株式会社
撮像装置
3日前
キヤノン株式会社
電子機器
22日前
キヤノン株式会社
記録装置
22日前
キヤノン株式会社
定着装置
9日前
キヤノン株式会社
定着装置
15日前
キヤノン株式会社
定着装置
15日前
キヤノン株式会社
定着装置
15日前
キヤノン株式会社
定着装置
9日前
キヤノン株式会社
発光装置
1日前
キヤノン株式会社
撮像装置
9日前
キヤノン株式会社
撮像装置
9日前
キヤノン株式会社
液体収容体
25日前
キヤノン株式会社
液体収容体
24日前
キヤノン株式会社
露光ヘッド
15日前
キヤノン株式会社
画像形成装置
10日前
キヤノン株式会社
画像形成装置
10日前
キヤノン株式会社
画像形成装置
9日前
続きを見る
他の特許を見る