TOP
|
特許
|
意匠
|
商標
特許ウォッチ
Twitter
他の特許を見る
公開番号
2025173559
公報種別
公開特許公報(A)
公開日
2025-11-28
出願番号
2024079124
出願日
2024-05-15
発明の名称
隅角部補強材、及び隅角部補強構造
出願人
株式会社 ワイ・シー・イー
,
株式会社横河ブリッジ
,
東日本高速道路株式会社
代理人
弁理士法人 武政国際特許商標事務所
主分類
E01D
22/00 20060101AFI20251120BHJP(道路,鉄道または橋りょうの建設)
要約
【課題】本願発明の課題は、従来技術が抱える問題を解決することであり、すなわち、作業者が目視できない箇所については現場で隅肉接着を行うことなく隅角部を補強することができる隅角部補強材と、この隅角部補強材によって補強された隅角部補強構造を提供することにある。
【解決手段】本願発明の隅角部補強材は、第1母材と第2母材によって形成される隅角部を補強する部材であって、第1平板、第2平板、及び中間平板を含む本体板と、第1平板に接着固定された副板を備えたものである。隅角部補強材を側面視すると、副板が、第1平板と中間平板との接続部よりも中間平板側に突出している。そして、副板のうち第1平板と中間平板との接続部よりも突出した部分と、中間平板によって挟まれる箇所は、隅肉接着によって固定される。
【選択図】図2
特許請求の範囲
【請求項1】
第1母材と第2母材によって形成される隅角部を補強する部材であって、
第1平板と第2平板、中間平板を含む本体板と、
前記第1平板に接着固定された副板と、を備え、
前記中間平板の一端側で前記第1平板が接続するとともに、該中間平板の他端側で前記第2平板が接続し、
前記本体板は、前記第1平板が前記第1母材の向きと平行又は略平行に配置されるとともに、前記第2平板が前記第2母材の向きと平行又は略平行に配置された形状であり、
側面視における前記副板は、側面視における前記第1平板と前記中間平板との接続部よりも該中間平板側に突出し、
前記第1平板と前記中間平板との接続部よりも突出した前記副板と、前記中間平板と、によって挟まれる箇所は隅肉接着によって固定された、
ことを特徴とする隅角部補強材。
続きを表示(約 1,200 文字)
【請求項2】
側面視における前記副板が、側面視における前記第1平板の端部よりも突出し、
前記第1平板の端部よりも突出した前記副板と、該第1平板の端面と、が隅肉接着によって固定された、
ことを特徴とする請求項1記載の隅角部補強材。
【請求項3】
第1母材と第2母材によって形成される隅角部を補強する部材であって、
第1平板と第2平板、中間平板からなる本体板と、
前記第1平板に接着固定された第1副板と、
前記第2平板に接着固定された第2副板と、を備え、
前記本体板は、前記第1平板が前記第1母材の向きと平行又は略平行に配置されるとともに、前記第2平板が前記第2母材の向きと平行又は略平行に配置された形状であり、
側面視における前記第1副板は、側面視における前記第1平板と前記中間平板との接続部よりも該中間平板側に突出し、
前記第1平板と前記中間平板との接続部よりも突出した前記第1副板と、前記中間平板と、によって挟まれる箇所は隅肉接着によって固定され、
側面視における前記第2副板は、側面視における前記第2平板と前記中間平板との接続部よりも該中間平板側に突出し、
前記第2平板と前記中間平板との接続部よりも突出した前記第2副板と、前記中間平板と、によって挟まれる箇所は隅肉接着によって固定された、
ことを特徴とする隅角部補強材。
【請求項4】
側面視における前記第1副板が、側面視における前記第1平板の端部よりも突出し、
前記第1平板の端部よりも突出した前記第1副板と、該第1平板の端面と、が隅肉接着によって固定され、
側面視における前記第2副板が、側面視における前記第2平板の端部よりも突出し、
前記第2平板の端部よりも突出した前記第2副板と、該第2平板の端面と、が隅肉接着によって固定された、
ことを特徴とする請求項3記載の隅角部補強材。
【請求項5】
請求項1記載の前記隅角部補強材によって、前記隅角部が補強された構造であって、
前記第1母材に前記副板が接着固定されるとともに、前記第2母材に前記第2平板が接着固定された、
ことを特徴とする隅角部補強構造。
【請求項6】
請求項3記載の前記隅角部補強材によって、前記隅角部が補強された構造であって、
前記第1母材に前記第1副板が接着固定されるとともに、前記第2母材に前記第2副板が接着固定された、
ことを特徴とする隅角部補強構造。
【請求項7】
前記第1母材と前記第1平板、及び/又は前記第2母材と前記第2平板が、ボルト接合された、
ことを特徴とする請求項5又は請求項6記載の隅角部補強構造。
発明の詳細な説明
【技術分野】
【0001】
本願発明は、2つの部材によって形成される隅角部の補強技術に関するものであり、より具体的には、本体板とこの本体板の一部に接着固定された副板からなる隅角部補強材、及びこの隅角部補強材によって補強された隅角部補強構造に関するものである。
続きを表示(約 2,000 文字)
【背景技術】
【0002】
橋梁は様々な種類に分類され、例えば床版形式に着目すると、コンクリート系床版橋、鋼・コンクリート合成床版橋、鋼床版橋に大別される。このうち鋼床版橋は主に主桁と鋼床版によって構成され、そして鋼床版は鋼製デッキプレート(例えば、鋼板)とその鋼製デッキプレートを補剛する縦リブや横リブによって形成される。鋼床版橋は、コンクリート系床版や鋼・コンクリート合成床版に比べて軽量であるため耐震性に優れ、コンクリートを使用しないため現地施工工期が短くなり、また供用後にコンクリートが剥離することもないため維持管理上も有利である。このような理由から、都市内の高架橋や長大橋などでは鋼床版橋が採用されることが多い。
【0003】
都市内で高架橋を多用している都市高速道路は、日々多くの交通量を支えており、しかも大型車混入率が極めて高い。つまり、都市高速道路の高架橋は、長年にわたっておびただしい回数の輪荷重を受けており、高架橋を構成する主部材に疲労損傷が生じ得ることは容易に想像できる。特に、鋼床版は、舗装を間に挟んでいるものの輪荷重の影響は直接的であり、疲労損傷を生じやすい環境にあるといえる。実際に、多くの都市高速道路の鋼床版において疲労損傷が報告されている。
【0004】
近年、鋼床版のうち疲労による亀裂が特に生じやすい箇所があることが明らかになってきている。より詳しくは、鋼製デッキプレートと縦リブの溶接箇所の周辺で多くの疲労亀裂が確認されており、その大部分が溶接部に発生する疲労亀裂、あるいは鋼製デッキプレートそのものに発生する疲労亀裂である。鋼製デッキプレートは、縦リブのウェブ上端と接触する箇所に大きな力が作用するため、ここを起点として疲労亀裂が生じやすく、その一つが溶接部方向に進展する疲労亀裂であり、他の一つが鋼製デッキプレート方向に進展する疲労亀裂である。
【0005】
鋼床版の疲労亀裂の発生を抑制するための補強技術は、これまでにも種々の手法が提案されている。例えば特許文献1では、鋼製デッキプレートと縦リブの接合部を補強するにあたって、縦リブの内側に配置される補強材を利用する技術について提案している。
【先行技術文献】
【特許文献】
【0006】
特開2017-133320号公報
【発明の概要】
【発明が解決しようとする課題】
【0007】
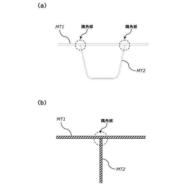
図7は、特許文献1に開示される発明を説明する図であり、(a)はデッキプレートDPと縦リブRBとの接合部が内側補強材RMによって補強された状態を示す部分断面図、(b)は内側補強材RMを示す詳細断面図である。この図に示すように内側補強材RMは、板状の部材であって、例えば平鋼を曲げ加工することで形成されるもので、デッキプレート添接面Paと縦リブ添接面Pc、デッキプレート添接面Paと縦リブ添接面Pcを連結する連結面Pbによって構成される。
【0008】
内側補強材RMによってデッキプレートDPと縦リブRBとの接合部を補強するには、図8(a)に示すようにデッキプレート添接面PaをデッキプレートDPの下面に接着固定するとともに、縦リブ添接面Pcを縦リブRBの内側面に接着固定する。このように内側補強材RMは、デッキプレートDPと縦リブRBによって囲まれた「閉鎖領域」の内側に設置され、その結果、デッキプレートDPや縦リブRBの変形が抑えられる「変形抑制領域」が形成される。
【0009】
また図8(a)に示すように、デッキプレート添接面Paの両側(図では左右)では断面視で概ね三角形となるいわゆる「隅肉」の接着固定を行い、縦リブ添接面Pcの両側(図では上下)も隅肉の接着固定を行うことが望ましい。そして、この接着作業は現場で行われる。ところが、内側補強材RMの背面側で接着する箇所については作業者が隅肉接着の状態を目視することができず、図8(a)に示すような適正形状となっているかは不明なまま作業を終えることとなる。実際に作業後の状態を点検したところ、不適切な形状で接着固定されているところもあり、さらに図8(b)に示すよう重力によって隅肉接着が変形した(垂れた)箇所も散見され、このような場合は十分な補強効果が期待できないこととなる。
【0010】
ここまで、橋梁の鋼床版におけるデッキプレートDPと縦リブRBとの接合部の例で説明してきたが、引用文献1の内側補強材RMは、鋼床版に限らず2つの部材が接合される「隅角部」を補強することができる。そして、その隅角部に内側補強材RMを接着固定するにあたっては、やはり図8(b)に示すように好ましくない接着形状が生じることは避けられない。
(【0011】以降は省略されています)
この特許をJ-PlatPat(特許庁公式サイト)で参照する
関連特許
他の特許を見る