TOP
|
特許
|
意匠
|
商標
特許ウォッチ
Twitter
他の特許を見る
10個以上の画像は省略されています。
公開番号
2025173546
公報種別
公開特許公報(A)
公開日
2025-11-28
出願番号
2024079104
出願日
2024-05-15
発明の名称
ボンディングステージ
出願人
株式会社新川
代理人
弁理士法人YKI国際特許事務所
主分類
H01L
21/52 20060101AFI20251120BHJP(基本的電気素子)
要約
【課題】簡便な構成で反ったウェーハをボンディングステージの表面に倣わせて真空吸着する。
【解決手段】表面11にウェーハ70を真空吸着するボンディングステージ10であって、表面11に設けられてウェーハ70の中心部を真空吸着する凹部20と、表面11に設けられ、凹部20と連通し、凹部20から周辺部に向かって延びるらせん状溝30を備える。
【選択図】図1
特許請求の範囲
【請求項1】
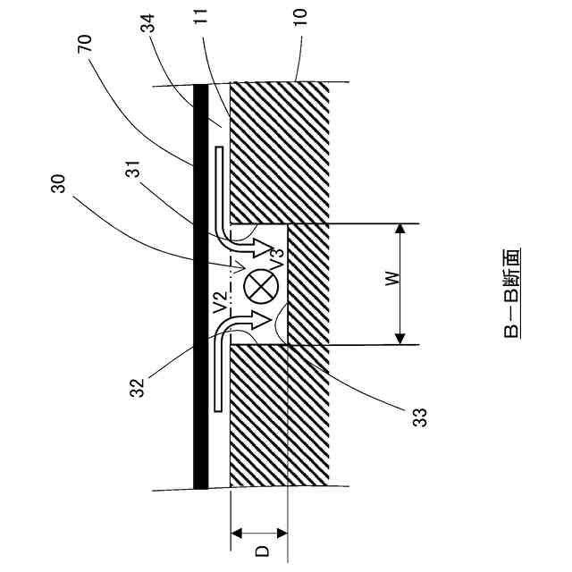
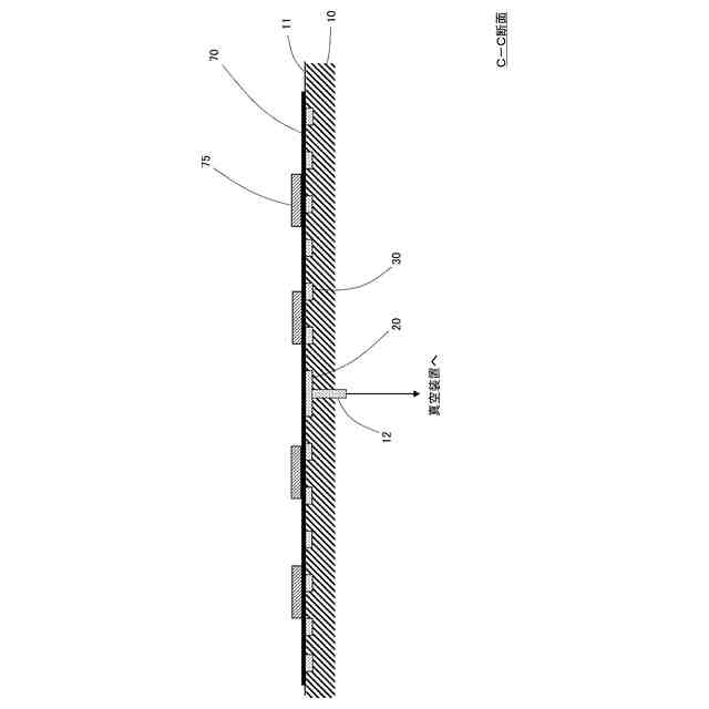
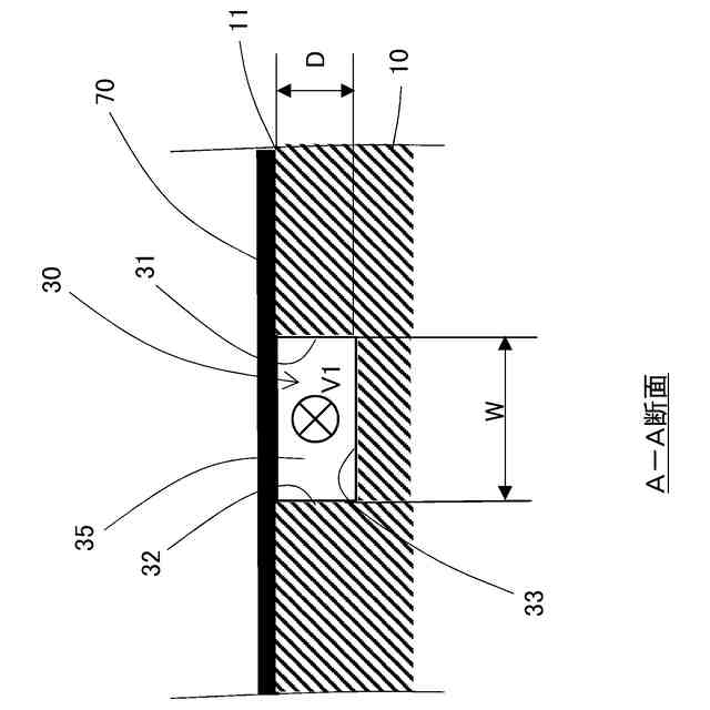
表面に板状の対象物を真空吸着するボンディングステージであって、
前記表面に設けられて前記対象物の中心部を真空吸着する吸着部と、
前記表面に設けられ、前記吸着部と連通し、前記吸着部から周辺部に向かって延びて前記対象物を前記中心部から外周部に向かって吸着する溝と、を備えること、
を特徴とするボンディングステージ。
続きを表示(約 1,100 文字)
【請求項2】
請求項1に記載のボンディングステージであって、
前記溝は、前記吸着部から前記周辺部に向かって延びるらせん状溝であること、
を特徴とするボンディングステージ。
【請求項3】
請求項2に記載のボンディングステージであって、
前記らせん状溝は、前記周辺部に向かうほど断面積が小さくなること、
を特徴とするボンディングステージ。
【請求項4】
請求項2又は3に記載のボンディングステージであって、
前記らせん状溝の半径方向に隣接する2つの円弧部の間に配置され、半径方向外側の前記円弧部から半径方向内側に分岐する複数の枝溝を備えること、
を特徴とするボンディングステージ。
【請求項5】
請求項2又は3に記載のボンディングステージであって、
前記らせん状溝は、複数のらせん状溝であり、
前記複数のらせん状溝は、前記吸着部の異なる位置に連通し、前記吸着部から前記周辺部に向かって互いに平行に延びること、
を特徴とするボンディングステージ。
【請求項6】
請求項2又は3に記載のボンディングステージであって、
前記らせん状溝は、断面積が0.2mm
2
以下で、幅が深さよりも大きく、深さが0.1mm以上であること、
を特徴とするボンディングステージ。
【請求項7】
請求項5に記載のボンディングステージであって、
前記複数のらせん状溝は、断面積が0.2mm
2
以下で、幅が深さよりも大きく、深さが0.1mm以上であること、
を特徴とするボンディングステージ。
【請求項8】
請求項2又は3に記載のボンディングステージであって、
前記らせん状溝は、四角らせん状溝であること、
を特徴とするボンディングステージ。
【請求項9】
請求項1に記載のボンディングステージであって、
前記表面に前記吸着部が複数設けられており、
前記溝は、幅の異なる複数のらせん状溝であり、
前記複数のらせん状溝は、異なる前記吸着部に連通し、各前記吸着部から前記周辺部に向かって互いに平行に延びること、
を特徴とするボンディングステージ。
【請求項10】
請求項9に記載のボンディングステージであって、
前記複数のらせん状溝は、前記周辺部に向かうほど断面積が小さくなること、
を特徴とするボンディングステージ。
(【請求項11】以降は省略されています)
発明の詳細な説明
【技術分野】
【0001】
本発明は、ボンディングステージの構造に関する。
続きを表示(約 1,100 文字)
【背景技術】
【0002】
特許文献1には、本体部とチャック部とバッファプレートを含む電子部品の載置テーブルが開示されている。本体には、真空を導入する真空孔が設けられている。チャック部は多孔質部材で構成されている。バッファプレートは本体部とチャック部の間に挟み込まれる板部材であり、表面の複数の溝が設けられている。溝は本体部の真空穴に連通して真空となり、多孔質部材で構成されたチャック部の表面に電子部品を吸着固定する。
【先行技術文献】
【特許文献】
【0003】
特開2013-179207号公報
【発明の概要】
【発明が解決しようとする課題】
【0004】
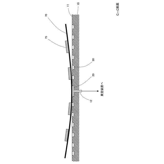
ところで、ウェーハの表面に半導体チップを多段実装するボンディング方法が用いられている。この場合、一段目の半導体チップをウェーハの表面にボンディングするとウェーハと半導体チップとの熱膨張差により、ウェーハに反りが発生する。このため、二段目の半導体チップをボンディングする際には、クランパを用いて反ったウェーハをボンディングステージの表面に抑えつけて、反ったウェーハをボンディングステージの表面に倣わせてから、ウェーハをボンディングステージの表面に真空吸着する必要があった。このため、ボンディングステージの構造が複雑になると共に、ウェーハの真空吸着の段取りに時間が掛かるという問題があった。
【0005】
そこで、本開示は、簡便な構成で反ったウェーハをボンディングステージの表面に倣わせて真空吸着することを目的とする。
【課題を解決するための手段】
【0006】
本開示のボンディングステージは、表面に板状の対象物を真空吸着するボンディングステージであって、表面に設けられて対象物の中心部を真空吸着する吸着部と、表面に設けられ、吸着部と連通し、吸着部から周辺部に向かって延びて対象物を中心部から外周部に向かって吸着する溝と、を備ること、を特徴とする。
【0007】
これにより、本開示のボンディングステージは、クランパ等を用いずに真空吸着だけで反った板状の対象物であるウェーハを表面に倣わせて真空吸着することができる。
【0008】
本開示のボンディングステージにおいて、溝は、吸着部から周辺部に向かって延びるらせん状溝でもよい。
【0009】
これにより、本開示のボンディングステージは、円板状のウェーハを均等にボンディングステージの表面に真空吸着できる。
【0010】
本開示のボンディングステージにおいて、らせん状溝は、周辺部に向かうほど断面積が小さくなってもよい。
(【0011】以降は省略されています)
この特許をJ-PlatPat(特許庁公式サイト)で参照する
関連特許
株式会社新川
ボンディング装置
12日前
株式会社新川
ボンディング装置
12日前
株式会社新川
ボンディングステージ
4日前
株式会社新川
ピックアップユニット、実装装置及びピックアップ方法
13日前
APB株式会社
蓄電セル
1か月前
東ソー株式会社
絶縁電線
1か月前
個人
フレキシブル電気化学素子
1か月前
株式会社東芝
端子台
1か月前
ローム株式会社
半導体装置
1か月前
株式会社ユーシン
操作装置
1か月前
日新イオン機器株式会社
イオン源
1か月前
マクセル株式会社
電源装置
1か月前
株式会社GSユアサ
蓄電設備
1か月前
株式会社ホロン
冷陰極電子源
1か月前
株式会社GSユアサ
蓄電装置
1か月前
株式会社GSユアサ
蓄電装置
1か月前
株式会社GSユアサ
蓄電装置
26日前
オムロン株式会社
電磁継電器
1か月前
富士電機株式会社
電磁接触器
12日前
株式会社GSユアサ
蓄電装置
12日前
三菱電機株式会社
回路遮断器
20日前
太陽誘電株式会社
コイル部品
1か月前
株式会社GSユアサ
蓄電設備
1か月前
サクサ株式会社
電池の固定構造
1か月前
日新イオン機器株式会社
基板処理装置
1か月前
トヨタ自動車株式会社
蓄電装置
1か月前
日本特殊陶業株式会社
保持装置
1か月前
北道電設株式会社
配電具カバー
1か月前
ノリタケ株式会社
熱伝導シート
1か月前
トヨタ自動車株式会社
蓄電装置
4日前
大電株式会社
電線又はケーブル
4日前
トヨタ自動車株式会社
バッテリ
1か月前
ホシデン株式会社
複合コネクタ
6日前
日東電工株式会社
積層体
1か月前
トヨタ自動車株式会社
蓄電装置
1か月前
トヨタ自動車株式会社
冷却構造
1か月前
続きを見る
他の特許を見る