TOP
|
特許
|
意匠
|
商標
特許ウォッチ
Twitter
他の特許を見る
10個以上の画像は省略されています。
公開番号
2025173467
公報種別
公開特許公報(A)
公開日
2025-11-27
出願番号
2025034081
出願日
2025-03-04
発明の名称
インク収容容器及びインク吐出装置
出願人
キヤノン株式会社
代理人
弁理士法人秀和特許事務所
主分類
B41J
2/175 20060101AFI20251119BHJP(印刷;線画機;タイプライター;スタンプ)
要約
【課題】プラスチックの使用量の削減を図りつつ信頼性の高いインク収容容器を提供する。
【解決手段】インク吐出装置の装置本体に着脱可能なインク収容容器であって、インクを収容するための可撓性を有する内袋と、前記内袋を覆うように構成された、可撓性を有する外袋と、前記内袋に収容されたインクを前記内袋の外部へ排出可能なインク排出部と、前記内袋と前記外袋との間の空間に空気を導入、または前記空間から空気の排出が可能な空気導入部と、を備える。本技術は脱炭素/循環型社会などの持続可能な社会の実現に貢献し得る。
【選択図】図2
特許請求の範囲
【請求項1】
インク吐出装置の装置本体に着脱可能なインク収容容器であって、
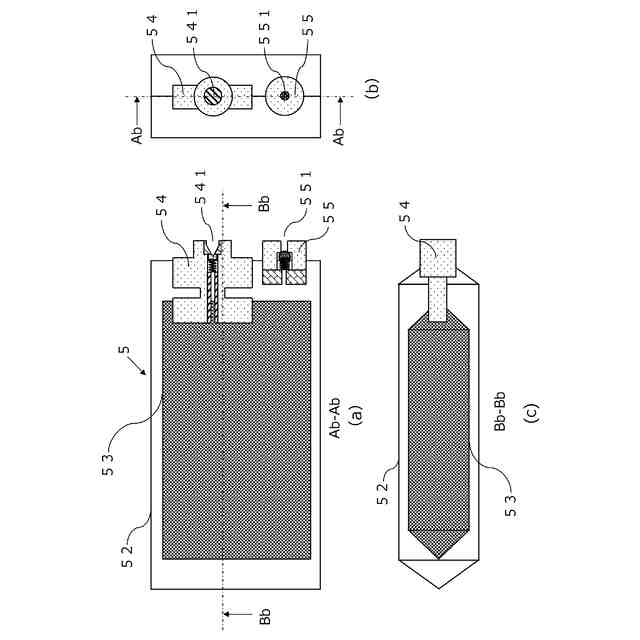
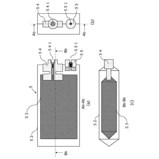
インクを収容するための可撓性を有する内袋と、
前記内袋を覆うように構成された、可撓性を有する外袋と、
前記内袋に収容されたインクを前記内袋の外部へ排出可能なインク排出部と、
前記内袋と前記外袋との間の空間に空気を導入可能な空気導入部と、
を備えることを特徴とするインク収容容器。
続きを表示(約 1,600 文字)
【請求項2】
前記内袋及び前記外袋は、インクから受ける圧力によって変形可能な第1材料で構成され、
前記インク排出部及び前記空気導入部は、インクから受ける圧力に対して形状を一定に保つことが可能な第2材料で構成されていることを特徴とする請求項1に記載のインク収容容器。
【請求項3】
前記第2材料で構成され、前記インク排出部が形成された第1部分と、
前記第2材料で構成され、前記空気導入部が形成された第2部分と、
を有し、
前記第1部分と前記第2部分は、互いに分離して設けられていることを特徴とする請求項2に記載のインク収容容器。
【請求項4】
前記第1部分と前記第2部分は、それぞれインク収容容器の長手方向における一端側に設けられていることを特徴とする請求項3に記載のインク収容容器。
【請求項5】
前記インク排出部と前記空気導入部は、一体的に設けられていることを特徴とする請求項1または2に記載のインク収容容器。
【請求項6】
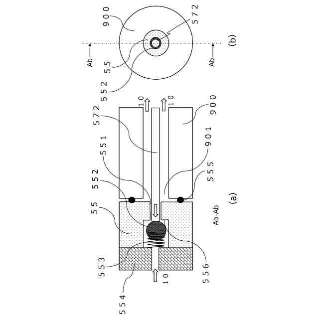
前記インク排出部は、
インク排出口と、前記内袋の内部と前記インク排出口との間を連通するインク排出路と、を有する排出路形成部材と、
前記インク排出路の内部を、前記インク排出口を前記インク排出路の内部側から塞ぐように前記インク排出路の壁面に接触する第1封止位置と、前記壁面から離れる第1非封止位置と、を取り得るように構成された第1封止部材と、
前記第1封止部材を、前記第1封止位置に位置させる付勢力を前記第1封止部材に付与する第1付勢部材と、
を備えることを特徴とする請求項1または2に記載のインク収容容器。
【請求項7】
前記インク排出口は、前記装置本体に設けられた第1接続部が挿入可能に構成されており、
前記第1封止部材は、前記インク排出口に挿入された前記第1接続部に押し込まれることで、前記第1封止位置から前記第1非封止位置に移動し、
前記インク排出路は、前記第1封止部材を前記第1非封止位置に押し込んだ前記第1接続部に設けられたインク導入口と連通する請求項6に記載のインク収容容器。
【請求項8】
前記空気導入部は、
空気導入口と、前記空間と前記空気導入口との間を連通する空気導入路と、を有する導入路形成部材と、
前記空気導入路の内部を、前記空気導入口を前記空気導入路の内部側から塞ぐように前記空気導入路の壁面に接触する第2封止位置と、前記壁面から離れる第2非封止位置と、を取り得るように構成された第2封止部材と、
前記第2封止部材を、前記第2封止位置に位置させる付勢力を前記第2封止部材に付与する第2付勢部材と、
を備えることを特徴とする請求項6に記載のインク収容容器。
【請求項9】
前記導入路形成部材は、前記装置本体に設けられた第2接続部と接続可能に構成されており、
前記空気導入口は、前記導入路形成部材に接続された前記第2接続部の空気供給口と接続可能に構成されており、
前記第2封止部材は、前記空気導入口に接続された前記第2接続部の前記空気供給口から供給される空気の圧力が前記第2付勢部材の付勢力に勝ることで、前記第2封止位置から前記第2非封止位置へ移動し、
前記空気導入路は、前記第2封止部材が前記第2非封止位置にあることで、前記第2接続部の前記空気供給口と連通することを特徴とする請求項8に記載のインク収容容器。
【請求項10】
前記排出路形成部材と前記導入路形成部材は、一体の部材であることを特徴とする請求項8に記載のインク収容容器。
(【請求項11】以降は省略されています)
発明の詳細な説明
【技術分野】
【0001】
本発明は、インク吐出装置に用いられるインク収容容器に関するものであり、インクを収納する形態のインク収容容器のプラスチック減とそれに伴うインク漏れ防止とインク吐出装置へ供給するインクの使い切りを向上させるものである。
続きを表示(約 2,000 文字)
【背景技術】
【0002】
記録用液体としてのインクを記録媒体に吐出して記録媒体に記録を行うインク吐出装置(液体吐出装置)としての記録装置において、インク消費に伴うインク補給を容易にするために、装置本体に着脱可能なインク収容容器を、ユーザーの手で取り換えることでインク補給できるようにしたものが従来から知られている。このインク収容容器の交換時に誤って落下させてしまった場合、衝撃によりインクが漏れる可能性がある。またインク収容容器に入ったインクを使い切ることが困難なケースがある。
【0003】
この課題を解決するため、例えば特許文献1のような発明がある。特許文献1によれば、インク漏れを防ぐためにインク収容袋の外側をプラスチック等のハードケースで覆い保護している。またインク収容容器に入ったインクを余すことなく使用できる様に、ポンプ等を使用してインク収容袋の周囲にエアー供給しインク収容袋を加圧することでインクを余すことなく本体へ供給している。
【先行技術文献】
【特許文献】
【0004】
特開2011-183651号公報
【発明の概要】
【発明が解決しようとする課題】
【0005】
ここで、近年の社会的要請として、脱炭素/循環型社会などの持続可能な社会の実現へ貢献し得る技術開発が求められている。特に、環境問題の観点からは、いわゆる脱廃プラ/廃プラ減、すなわちプラスチック材料の使用を極力低減することが要求されている。特許文献1による方法は多くのプラスチック材が使用されており、これらの課題を解決したインク収容容器/インクジェット記録装置を提供する必要がある。
【0006】
本発明の目的は、プラスチックの使用量の削減を図りつつ信頼性の高いインク収容容器を提供することである。
【課題を解決するための手段】
【0007】
上記目的を達成するため、本発明におけるインク収容容器は、
インク吐出装置の装置本体に着脱可能なインク収容容器であって、
インクを収容するための可撓性を有する内袋と、
前記内袋を覆うように構成された、可撓性を有する外袋と、
前記内袋に収容されたインクを前記内袋の外部へ排出可能なインク排出部と、
前記内袋と前記外袋との間の空間に空気を導入可能な空気導入部と、
を備えることを特徴とする。
また、上記目的を達成するため、本発明におけるインク吐出装置は、
上記のインク収容容器と、
前記インク収容容器が着脱可能な装置本体であって、
前記インク排出部に接続される第1接続部と、
前記空気導入部に接続される第2接続部と、
前記インク排出部から前記第1接続部を介して供給されるインクを吐出する吐出部と、
を備える装置本体と、
を備えることを特徴とする。
【発明の効果】
【0008】
本発明によれば、プラスチックの使用量の削減を図りつつ信頼性の高いインク収容容器を提供することができる。
【図面の簡単な説明】
【0009】
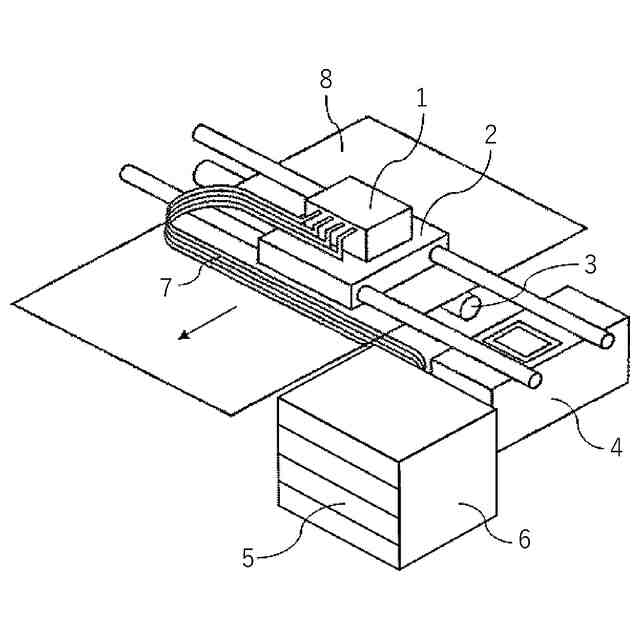
実施例1における記録装置の要部の内部構成を示す斜視図
実施例1におけるインク収容容器の構成を示す図
実施例1におけるインク収容容器のインク供給部の構成を示す図
実施例1におけるインク収容容器のエアー連通部の構成を示す図
実施例1におけるインク収容容器と記録装置の接続構成を示す図
実施例1におけるインク収容容器へ空気を供給する構成を示す図
実施例1における外袋と内袋の間の空気を排出する構成を示す図
実施例1におけるインク収容容器からインクを供給する構成を示す図
実施例2におけるインク収容容器の構成を示す図
実施例2におけるインク供給部とエアー連通部の構成を示す図
実施例2におけるインク収容容器と記録装置の接続構成を示す図
実施例2における空気供給とインク供給の構成を示す図
実施例3における外袋と内袋の間の空気を排出する構成を示す図
【発明を実施するための形態】
【0010】
以下に図面を参照して、この発明を実施するための形態を、実施例に基づいて例示的に詳しく説明する。なお、この実施の形態に記載されている構成部品の寸法、材質、形状それらの相対配置などは、発明が適用される装置の構成や各種条件により適宜変更されるべきものである。また、本実施形態で説明されている特徴の組み合わせの全てが本発明の解決手段に必須のものとは限らない。実施形態に記載されている構成要素はあくまで例示であり、この発明の範囲をそれらのみに限定する趣旨のものではない。
(【0011】以降は省略されています)
この特許をJ-PlatPat(特許庁公式サイト)で参照する
関連特許
キヤノン株式会社
容器
1か月前
キヤノン株式会社
容器
1か月前
キヤノン株式会社
トナー
22日前
キヤノン株式会社
トナー
1か月前
キヤノン株式会社
トナー
1か月前
キヤノン株式会社
トナー
1か月前
キヤノン株式会社
トナー
1か月前
キヤノン株式会社
記録装置
22日前
キヤノン株式会社
定着装置
1か月前
キヤノン株式会社
記録装置
1か月前
キヤノン株式会社
現像装置
1か月前
キヤノン株式会社
定着装置
15日前
キヤノン株式会社
撮像装置
9日前
キヤノン株式会社
電子機器
22日前
キヤノン株式会社
表示装置
1か月前
キヤノン株式会社
測距装置
1か月前
キヤノン株式会社
撮像装置
9日前
キヤノン株式会社
撮像装置
1か月前
キヤノン株式会社
撮像装置
1日前
キヤノン株式会社
表示装置
1日前
キヤノン株式会社
表示装置
1日前
キヤノン株式会社
定着装置
15日前
キヤノン株式会社
撮像装置
23日前
キヤノン株式会社
撮像装置
1か月前
キヤノン株式会社
撮像装置
3日前
キヤノン株式会社
定着装置
9日前
キヤノン株式会社
記録装置
1か月前
キヤノン株式会社
撮像装置
1か月前
キヤノン株式会社
撮像装置
1か月前
キヤノン株式会社
撮像装置
1か月前
キヤノン株式会社
測距装置
24日前
キヤノン株式会社
撮像装置
1日前
キヤノン株式会社
撮影装置
1か月前
キヤノン株式会社
表示装置
1日前
キヤノン株式会社
定着装置
9日前
キヤノン株式会社
撮像装置
22日前
続きを見る
他の特許を見る