TOP
|
特許
|
意匠
|
商標
特許ウォッチ
Twitter
他の特許を見る
10個以上の画像は省略されています。
公開番号
2025173389
公報種別
公開特許公報(A)
公開日
2025-11-27
出願番号
2024078953
出願日
2024-05-14
発明の名称
画像読取装置、及び画像形成装置
出願人
キヤノン株式会社
代理人
弁理士法人近島国際特許事務所
主分類
H04N
1/04 20060101AFI20251119BHJP(電気通信技術)
要約
【課題】導光部材と支持部材との位置ずれの低減を図ること。
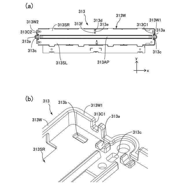
【解決手段】画像読取装置は、導光部材(314)を有する導光ユニットと、原稿の画像を読取る読取部と、導光ユニットが接着されることで導光部材を支持する支持部、長手方向において導光部材の第1端部(314E1)に対向配置される第1対向部(313W1)、長手方向において導光部材の第1端部と反対側の第2端部に対向配置される第2対向部を有する支持部材(313)と、を備える。第1端部及び第1対向部の一方は、長手方向に突出する第1突出部(314P1)を有し、第1端部及び第1対向部の他方は、第1突出部が挿入される第1規制部(313C1)を有し、第2端部及び第2対向部の一方は、長手方向に突出する第2突出部を有し、第2端部及び第2対向部の他方は、第2突出部に挿入される第2規制部を有する。
【選択図】図9
特許請求の範囲
【請求項1】
長手方向に並んで配置された複数の光源を有する基板と、前記光源から出射された光を原稿へ導く導光部材と、を有する導光ユニットと、
前記導光部材を介して前記光源から照射した光を反射した原稿の画像を読取る読取部と、
前記導光ユニットが接着されることで前記導光部材を支持する支持部と、前記長手方向において前記導光部材の第1端部に対向配置される第1対向部と、前記長手方向において前記導光部材の前記第1端部と反対側の第2端部に対向配置される第2対向部と、を有する支持部材と、を備え、
前記第1端部及び前記第1対向部の一方は、前記長手方向に突出する第1突出部を有し、
前記第1端部及び前記第1対向部の他方は、前記第1突出部が挿入される第1規制部を有し、
前記第2端部及び前記第2対向部の一方は、前記長手方向に突出する第2突出部を有し、
前記第2端部及び前記第2対向部の他方は、前記第2突出部が挿入される第2規制部を有する、
ことを特徴とする画像読取装置。
続きを表示(約 1,400 文字)
【請求項2】
前記第1突出部は、前記第1規制部に対して隙間をもって配置され、
前記第2突出部は、前記第2規制部に対して隙間をもって配置され、
前記導光部材と前記支持部材の前記支持部との接着が剥離した際に、前記第1突出部及び前記第1規制部と、前記第2突出部及び前記第2規制部と、の少なくとも一方が当接可能となる、
ことを特徴とする請求項1に記載の画像読取装置。
【請求項3】
前記第1突出部及び前記第2突出部は、前記長手方向に延びる軸形状であり、
前記第1規制部及び前記第2規制部は、前記長手方向と交差する方向に凹み、かつ前記軸形状よりも幅広な溝形状であり、
前記第1突出部の軸形状は前記第1規制部の溝形状に挿入されるように配置され、
前記第2突出部の軸形状は前記第2規制部の溝形状に挿入されるように配置された、
ことを特徴とする請求項2に記載の画像読取装置。
【請求項4】
前記第1突出部は、前記第1端部に形成され、
前記第1規制部は、前記第1対向部に形成され、
前記第2突出部は、前記第2端部に形成され、
前記第2規制部は、前記第2対向部に形成された、
ことを特徴とする請求項3に記載の画像読取装置。
【請求項5】
前記第1突出部は、前記第1対向部に形成され、
前記第1規制部は、前記第1端部に形成され、
前記第2突出部は、前記第2対向部に形成され、
前記第2規制部は、前記第2端部に形成された、
ことを特徴とする請求項3に記載の画像読取装置。
【請求項6】
前記第1突出部と前記第1規制部とを接着する第1接着部と、
前記第2突出部と前記第2規制部とを接着する第2接着部と、を備える、
ことを特徴とする請求項1に記載の画像読取装置。
【請求項7】
前記第1突出部及び前記第2突出部は、前記長手方向に延びる軸形状であり、
前記第1規制部及び前記第2規制部は、前記長手方向と交差する方向に凹み、かつ前記軸形状よりも幅広な溝形状であり、
前記第1突出部の軸形状は前記第1規制部の溝形状に挿入されるように配置され、
前記第2突出部の軸形状は前記第2規制部の溝形状に挿入されるように配置された、
ことを特徴とする請求項6に記載の画像読取装置。
【請求項8】
前記支持部は、前記長手方向における一端部に配置された第1支持面と、前記長手方向における前記一端部とは反対側の他端部に配置された第2支持面と、前記長手方向における前記第1支持面及び前記第2支持面との間に配置された第3支持面と、を有し、
前記導光ユニットは、前記支持部に接着された状態において、前記第1支持面に当接されて支持される第1当接面と、前記第2支持面に当接されて支持される第2当接面と、前記第3支持面に当接されて支持される第3当接面と、を有する、
ことを特徴とする請求項1に記載の画像読取装置。
【請求項9】
請求項1ないし8の何れか1項に記載された画像読取装置と、
シートに画像を形成する画像形成部と、を備える、
ことを特徴とする画像形成装置。
発明の詳細な説明
【技術分野】
【0001】
本発明は、導光部材が支持部材に支持された画像読取装置、及び画像形成装置に関する。
続きを表示(約 2,200 文字)
【背景技術】
【0002】
一般に、画像形成装置等に備えられる画像読取装置においては、原稿画像を読み取る際に原稿に光を照明するため、複数のLEDを直線状に配列した照明装置が備えられている。複数のLEDを光源とした場合、原稿面におけるLED配列方向の照度分布にムラが発生することを抑制するため、照明装置には原稿面とLEDとの間に、樹脂等からなる透明な導光部材が備えられる。この導光部材は、複数のLEDから出射されて円形に拡散する光を、原稿面に向けて原稿読取時の主走査方向(LED配列方向)に沿って導光する。
【0003】
ところで、LEDと導光部材の位置や姿勢にばらつきが生じると、原稿面上の照明位置が設計位置から変動してしまい、光量不足による読取画像の不鮮明化や、光路長変動による読取画像のボケが生じる恐れがある。そのため、導光部材の長手方向両端部にそれぞれ備えられた当接面を、支持部材の当接面に当接させて接着することで、高精度に導光部材と支持部材とを位置決めすることを可能としたものが提案されている(特許文献1参照)。
【先行技術文献】
【特許文献】
【0004】
特開2019-149778号公報
【発明の概要】
【発明が解決しようとする課題】
【0005】
ところで、例えば樹脂材料で形成される導光部材は、一般に射出成形により制作されるが、成形機の成形条件(保圧や材料の射出速度等)により部品に残留応力が生じることがある。また、成形条件により部品の長手方向と直交する方向に対して曲がる所謂反りが生じることもあり、このような反りが生じた部品を支持部材に組み付ける時に矯正しながら組み付ける場合がある。
【0006】
しかしながら、これらの残留応力や矯正した反りは、例えば画像読取装置を実際に使用する温度環境や製品を運搬する際の保管温度が高い場合に解放される恐れがある。即ち、導光部材の残留応力や矯正した反りを戻そうとする力の大きさによっては、導光部材と支持部材との接着部分が剥離し、支持部材に対する導光部材の位置ずれが発生するという問題がある。すると、上述のように支持部材に対して導光部材が設計位置からずれた位置となり、照明光量が設計値に対して不足し、画像の劣化に繋がる恐れがある。
【0007】
そこで本発明は、導光部材と支持部材との位置ずれの低減を図ることが可能な画像読取装置、及び画像形成装置を提供することを目的とするものである。
【課題を解決するための手段】
【0008】
本発明の一態様は、長手方向に並んで配置された複数の光源を有する基板と、前記光源から出射された光を原稿へ導く導光部材と、を有する導光ユニットと、前記導光部材を介して前記光源から照射した光を反射した原稿の画像を読取る読取部と、前記導光ユニットが接着されることで前記導光部材を支持する支持部と、前記長手方向において前記導光部材の第1端部に対向配置される第1対向部と、前記長手方向において前記導光部材の前記第1端部と反対側の第2端部に対向配置される第2対向部と、を有する支持部材と、を備え、前記第1端部及び前記第1対向部の一方は、前記長手方向に突出する第1突出部を有し、前記第1端部及び前記第1対向部の他方は、前記第1突出部が挿入される第1規制部を有し、前記第2端部及び前記第2対向部の一方は、前記長手方向に突出する第2突出部を有し、前記第2端部及び前記第2対向部の他方は、前記第2突出部が挿入される第2規制部を有する、ことを特徴とする画像読取装置である。
【発明の効果】
【0009】
本発明によると、導光部材と支持部材との位置ずれの低減を図ることができる。
【図面の簡単な説明】
【0010】
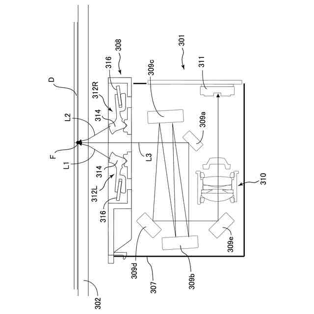
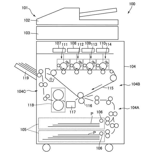
第1実施形態に係る画像形成装置を示す断面模式図である。
第1実施形態に係る画像読取装置を示す外観斜視図である。
第1実施形態に係る画像読取装置を示す断面模式図である。
第1実施形態に係る読取ユニットを示す外観斜視図である。
第1実施形態に係る表面読取部の断面模式図である。
第1実施形態に係る照明ユニットを示す外観斜視図である。
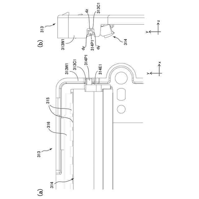
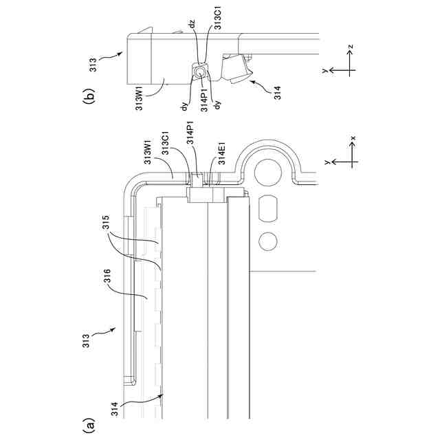
(a)は第1実施形態に係るライトガイドユニットの分解斜視図である。(b)は第1実施形態に係るライトガイドの裏面を示す斜視図である。(c)は第1実施形態に係るライトガイドの端部の裏面を示す拡大斜視図である。
(a)は第1実施形態に係るライトガイドステイを示す上方視図である。(b)は第1実施形態に係るライトガイドステイの端部を示す拡大斜視図である。
(a)は第1実施形態に係る照明ユニットの端部を示す上方視図である。(b)は第1実施形態に係る照明ユニットを示す側方視図である。
第1実施形態に係るライトガイドの反り方向を示す説明図である。
(a)は第2実施形態に係る照明ユニットの端部を示す上方視図である。(b)は第2実施形態に係る照明ユニットを示す側方視図である。
第3実施形態に係る照明ユニットの端部を示す上方視図である。
【発明を実施するための形態】
(【0011】以降は省略されています)
この特許をJ-PlatPat(特許庁公式サイト)で参照する
関連特許
キヤノン株式会社
容器
1か月前
キヤノン株式会社
容器
1か月前
キヤノン株式会社
トナー
22日前
キヤノン株式会社
トナー
1か月前
キヤノン株式会社
トナー
1か月前
キヤノン株式会社
トナー
1か月前
キヤノン株式会社
トナー
1か月前
キヤノン株式会社
雲台装置
22日前
キヤノン株式会社
表示装置
1日前
キヤノン株式会社
表示装置
1日前
キヤノン株式会社
記録装置
22日前
キヤノン株式会社
電子機器
22日前
キヤノン株式会社
撮像装置
17日前
キヤノン株式会社
測距装置
24日前
キヤノン株式会社
電子機器
17日前
キヤノン株式会社
撮像装置
1日前
キヤノン株式会社
表示装置
1日前
キヤノン株式会社
電子機器
22日前
キヤノン株式会社
記録装置
1か月前
キヤノン株式会社
表示装置
1か月前
キヤノン株式会社
定着装置
1か月前
キヤノン株式会社
定着装置
9日前
キヤノン株式会社
撮像装置
22日前
キヤノン株式会社
撮像装置
9日前
キヤノン株式会社
撮像装置
1か月前
キヤノン株式会社
撮像装置
9日前
キヤノン株式会社
定着装置
15日前
キヤノン株式会社
撮像装置
1日前
キヤノン株式会社
測距装置
1か月前
キヤノン株式会社
現像装置
1か月前
キヤノン株式会社
撮影装置
1か月前
キヤノン株式会社
定着装置
9日前
キヤノン株式会社
記録装置
1か月前
キヤノン株式会社
現像装置
1か月前
キヤノン株式会社
撮像装置
1か月前
キヤノン株式会社
撮像装置
1か月前
続きを見る
他の特許を見る