TOP
|
特許
|
意匠
|
商標
特許ウォッチ
Twitter
他の特許を見る
10個以上の画像は省略されています。
公開番号
2025173369
公報種別
公開特許公報(A)
公開日
2025-11-27
出願番号
2024078925
出願日
2024-05-14
発明の名称
車両制御システム及び車両制御方法
出願人
日産自動車株式会社
代理人
個人
,
個人
,
個人
主分類
G08G
1/123 20060101AFI20251119BHJP(信号)
要約
【課題】 体調不良の乗員を救急車両に引き渡すことに伴う、その他の乗員の移動効率の低下を抑制可能な車両制御システムを提供する。
【解決手段】 走行経路再設定部32は、車両で相乗りが行われているときに、乗員の体調不良が検知されると、体調不良が検知された乗員(特定乗員)以外の乗員の目的地点を経由する経路を目標経路として再設定する。また、待ち合わせ位置設定部33は、再設定された目標経路上の何れかの地点に、車両と救急車両との待ち合わせ位置を設定する。そして、走行制御部42は、目標経路に従った自律走行の実行中、走行経路再設定部32で目標経路が再設定されると、再設定された目標経路に従って自律走行を継続しつつ、待ち合わせ位置設定部33で設定された待ち合わせ位置に車両を停車させる停車制御を行う。
【選択図】 図2
特許請求の範囲
【請求項1】
車両の乗員の希望降車地を経由する経路である目標経路を設定する経路設定部と、
前記経路設定部で設定した前記目標経路に従って前記車両を自律走行させる制御部と、
前記車両の乗員の体調不良を検知する検知部と、
前記車両で希望降車地の異なる複数の乗員が同乗する相乗りが行われているときに、前記検知部で乗員の体調不良が検知されると、体調不良が検知された乗員である特定乗員以外の乗員の希望降車地を経由する経路を前記目標経路として再設定する再設定部と、
前記再設定部で再設定された前記目標経路上の何れかの地点に、前記車両と救急車両との待ち合わせ位置を設定する位置設定部と、
前記位置設定部で設定された前記待ち合わせ位置に関する情報を前記救急車両に直接的又は間接的に送信する情報送信部と、を備え、
前記制御部は、前記目標経路に従った自律走行の実行中、前記再設定部で前記目標経路が再設定されると、再設定された前記目標経路に従って前記自律走行を継続しつつ、前記位置設定部で設定された前記待ち合わせ位置に前記車両を停車させる停車制御を行う
車両制御システム。
続きを表示(約 1,300 文字)
【請求項2】
前記位置設定部は、前記車両で相乗りが行われていないと判定された場合、又は前記特定乗員が重症であると判定された場合には、前記車両で相乗りが行われていると判定され且つ前記特定乗員が重症でないと判定された場合よりも、前記救急車両の移動効率が高くなる地点に前記待ち合わせ位置を設定する
請求項1に記載の車両制御システム。
【請求項3】
前記制御部は、前記車両で相乗りが行われていると判定された場合には、前記特定乗員以外の乗員である相乗り乗員に降車意思があるかを確認し、前記相乗り乗員の何れかから降車意思が確認されると、前記車両の周囲の停車可能地点に前記車両を停車させる
請求項1に記載の車両制御システム。
【請求項4】
前記再設定部は、前記車両の乗員のうちの、前記特定乗員及び前記降車意思が確認された相乗り乗員を除いた乗員の希望降車地を経由する経路を前記目標経路として再設定する
請求項3に記載の車両制御システム。
【請求項5】
前記降車意思が確認された相乗り乗員に対して、前記車両を停車させる前記停車可能地点を乗車地点として他の車両の配車又は代替交通手段の提案を行う提案部を備える
請求項3に記載の車両制御システム。
【請求項6】
前記位置設定部は、前記車両よりも前記救急車両が早く到着する地点、又は前記車両が到着してから所定時間内に前記救急車両が到着する地点に前記待ち合わせ位置を設定する
請求項1に記載の車両制御システム。
【請求項7】
前記制御部は、前記車両が前記待ち合わせ位置に向かっている途中、前記救急車両よりも前記車両のほうが前記待ち合わせ位置に早く到着するかを判定し、早く到着すると判定した場合には、前記待ち合わせ位置の手前の停車可能地点に前記車両を停車させる
請求項6に記載の車両制御システム。
【請求項8】
前記位置設定部は、前記車両で相乗りが行われていると判定された場合には、前記検知部で乗員の体調不良が検知された後における、前記経路設定部で設定された前記目標経路で最初に経由される希望降車地が前記特定乗員の希望降車地であった場合、前記車両の現在地と前記特定乗員の希望降車地との間に、前記待ち合わせ位置を設定する
請求項1に記載の車両制御システム。
【請求項9】
前記位置設定部で前記待ち合わせ位置が設定される前記再設定された前記目標経路上の地点には、該目標経路からの逸脱距離が所定値以内の領域である近傍領域が含まれ、
前記待ち合わせ位置が設定されると、設定された前記待ち合わせ位置、及び前記特定乗員以外の乗員の前記希望降車地を経由するように、前記目標経路を再々設定する再々設定部を備える
請求項1に記載の車両制御システム。
【請求項10】
前記位置設定部は、前記救急車両の移動効率を考慮して、前記待ち合わせ位置を設定する
請求項9に記載の車両制御システム。
(【請求項11】以降は省略されています)
発明の詳細な説明
【技術分野】
【0001】
本開示は、車両制御システム及び車両制御方法に関する。
続きを表示(約 2,700 文字)
【背景技術】
【0002】
従来、例えば、異常検知センサで乗員の異常が検知されると、車両の目的地を病院に設定し、車両が病院に到着するまでの経路と、緊急車両が病院に到着するまでの経路とが重なる地点に待ち合わせ地点を設定し、設定した待ち合わせ地点で車両を停車させ、乗員を救急車両に乗せ換える車両制御システムが提案されている(例えば、特許文献1参照。)。
【先行技術文献】
【特許文献】
【0003】
特開2020-125976号公報
【発明の概要】
【発明が解決しようとする課題】
【0004】
しかし、特許文献1に記載の車両制御システムでは、例えば、複数の乗員の相乗りが可能な車両に適用した場合、他の乗員にとっては移動効率が低下する可能性があった。
本開示は、体調不良の乗員を救急車両に引き渡すことに伴う、その他の乗員の移動効率の低下を抑制可能な車両制御システム及び車両制御方法を提供することを目的とする。
【課題を解決するための手段】
【0005】
本開示の一態様の車両制御システムは、車両の乗員の希望降車地を経由する経路である目標経路を設定する経路設定部と、経路設定部で設定した目標経路に従って車両を自律走行させる制御部と、車両の乗員の体調不良を検知する検知部と、車両で希望降車地の異なる複数の乗員が同乗する相乗りが行われているときに、検知部で乗員の体調不良が検知されると、体調不良が検知された乗員である特定乗員以外の乗員の希望降車地を経由する経路を目標経路として再設定する再設定部と、再設定部で再設定された目標経路上の何れかの地点に、車両と救急車両との待ち合わせ位置を設定する位置設定部と、位置設定部で設定された待ち合わせ位置に関する情報を救急車両に直接的又は間接的に送信する情報送信部と、を備え、制御部は、目標経路に従った自律走行の実行中、再設定部で目標経路が再設定されると、再設定された目標経路に従って自律走行を継続しつつ、位置設定部で設定された待ち合わせ位置に車両を停車させる停車制御を行う。
【0006】
また、本開示の一態様の車両制御方法は、車両の乗員の希望降車地を経由する経路である目標経路を設定し、設定した目標経路に従って車両を自律走行させる車両制御方法であって、車両で希望降車地の異なる複数の乗員が同乗する相乗りが行われているときに、乗員の体調不良が検知されると、体調不良が検知された乗員である特定乗員以外の乗員の希望降車地を経由する経路を目標経路として再設定し、再設定された目標経路上の何れかの地点に、車両と救急車両との待ち合わせ位置を設定し、設定された待ち合わせ位置に関する情報を救急車両に直接的又は間接的に送信し、さらに、目標経路に従った自律走行の実行中、目標経路が再設定されると、再設定された目標経路に従って自律走行を継続しつつ、設定された待ち合わせ位置に車両を停車させる停車制御を行う。
【発明の効果】
【0007】
本開示によれば、体調不良の乗員を救急車両に引き渡すことに伴う、その他の乗員の移動効率の低下を抑制可能な車両制御システム及び車両制御方法を提供できる。
【図面の簡単な説明】
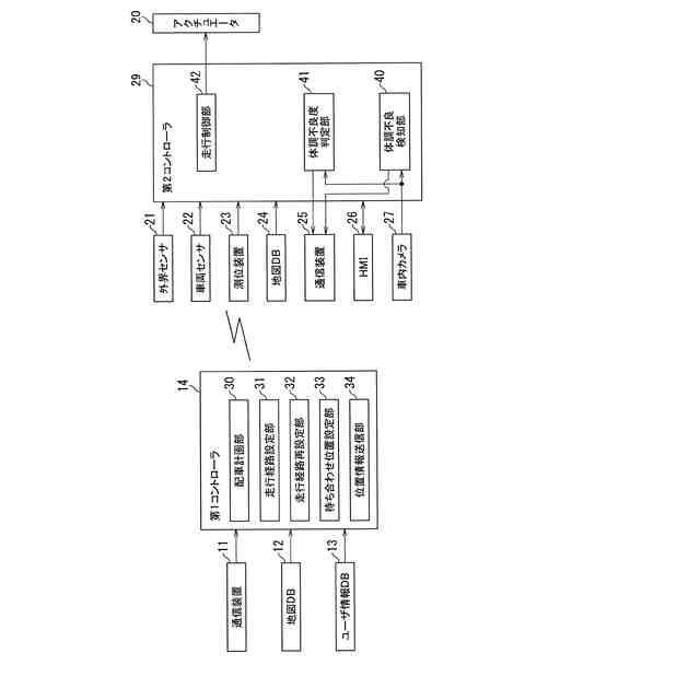
【0008】
第1の実施形態の配車システムの概略構成を示す図である。
第1及び第2コントローラの機能構成を示す図である。
配車計画部等の動作を示すフローチャートである。
走行制御部等の動作を示すフローチャートである。
第1の実施形態の配車システムの動作を示す図である。
待ち合わせ位置設定部等の動作を示すフローチャートである。
走行制御部等の動作を示すフローチャートである。
第1コントローラの機能構成を示す図である。
提案部等の動作を示すフローチャートである。
待ち合わせ位置設定部等の動作を示すフローチャートである。
待ち合わせ位置設定部等の動作を示すフローチャートである。
第2の実施形態の第1コントローラの機能構成を示す図である。
配車計画部等の動作を示すフローチャートである。
【発明を実施するための形態】
【0009】
以下、本開示の実施形態について、図面を参照しつつ説明する。なお、各図面は模式的なものであって、現実のものとは異なる場合がある。また、以下に示す本開示の実施形態は、本開示の技術的思想を具体化するための装置や方法を例示するものであって、本開示の技術的思想は、構成部品の構造、配置等を下記のものに特定するものではない。本開示の技術的思想は、特許請求の範囲に記載された請求項が規定する技術的範囲内において、種々の変更を加えることができる。
【0010】
(構成)
図1は、第1の実施形態の配車システム1の概略構成を示す図である。第1の実施形態では、図1に示すように、ユーザの配車要求に応じて車両Ceを配車する配車サービスを提供する配車システム1に車両制御システムを適用した場合を例示している。配車システム1では、車両Ceは、複数の乗員の相乗りが可能である無人タクシーとして機能する。第1の実施形態では、相乗りとは、例えば、目的地点Pdの異なる複数の乗員が同乗することをいう。例えば、すべての乗員の目的地点Pdが異なる場合の他に、一部の乗員の目的地点Pdが同じである場合も、第1の実施形態の「相乗り」に含まれる。
配車システム1は、配車管理装置10と、車両制御装置20とを備えている。
配車管理装置10は、通信装置11と、地図データベース(DB)12と、ユーザ情報データベース(DB)13と、第1コントローラ14とを備えている。
通信装置11は、第1コントローラ14と外部装置との間の無線通信機能を提供する無線通信装置である。通信装置11の通信方式は、例えば、公衆移動体通信網による無線通信、衛星通信、路車間通信であってもよい。配車管理装置10は、通信装置11を介して車両制御装置20の第2コントローラ29(後述)等との間でデータを送受信する。また、配車管理装置10は、リアルタイムで種々の交通情報を提供する道路交通情報管理システムや、救急車両が備える車載装置と通信装置11を介してデータを送受信する。
(【0011】以降は省略されています)
この特許をJ-PlatPat(特許庁公式サイト)で参照する
関連特許
日本精機株式会社
警報システム
3か月前
個人
安全支援装置
25日前
株式会社SUBARU
車両
1か月前
個人
自動電動車椅子
2か月前
スズキ株式会社
運転支援装置
2か月前
エムケー精工株式会社
車両誘導装置
3か月前
株式会社国際電気
防災システム
3か月前
ニッタン株式会社
検知器
2か月前
日本無線株式会社
船舶システム
26日前
ニッタン株式会社
検知器
2か月前
個人
磁気路上での車両の路線離脱防御
2か月前
ニッタン株式会社
検知器
1か月前
ニッタン株式会社
検知器
2か月前
大阪瓦斯株式会社
音声出力システム
1か月前
ダイハツ工業株式会社
移動支援装置
1か月前
株式会社SUBARU
運転支援装置
2か月前
株式会社小糸製作所
移動体検出装置
2か月前
トヨタ自動車株式会社
サーバ
1か月前
日本信号株式会社
異常走行検出装置
2か月前
トヨタ自動車株式会社
サーバ
2か月前
株式会社CCT
通信装置及び表示方法
1か月前
三菱自動車工業株式会社
制御システム
1か月前
株式会社デンソー
運航管理装置
1か月前
日本精機株式会社
報知装置及び報知システム
2か月前
株式会社小糸製作所
車両検出システム
2か月前
株式会社SUBARU
事故情報収集装置
1か月前
株式会社 ミックウェア
車内環境制御システム
1か月前
能美防災株式会社
火災感知器
2か月前
オ,ウォンチョル
交通信号システム
2日前
株式会社デンソー
運転評価支援装置
2日前
本田技研工業株式会社
物体検出装置
3か月前
ホーチキ株式会社
火災検出システム
1か月前
トヨタ自動車株式会社
通信システム
3日前
株式会社SUBARU
車室内異常検知装置
1か月前
ヨシモトポール株式会社
接近報知システム
2か月前
能美防災株式会社
非常伝達装置
2か月前
続きを見る
他の特許を見る