TOP
|
特許
|
意匠
|
商標
特許ウォッチ
Twitter
他の特許を見る
10個以上の画像は省略されています。
公開番号
2025173367
公報種別
公開特許公報(A)
公開日
2025-11-27
出願番号
2024078923
出願日
2024-05-14
発明の名称
車両制御装置及び車両制御方法
出願人
日産自動車株式会社
代理人
個人
,
個人
,
個人
主分類
B60W
50/08 20200101AFI20251119BHJP(車両一般)
要約
【課題】 スイッチを操作できないほどの体調不良の乗員にも対応することが可能な車両制御装置を提供する。
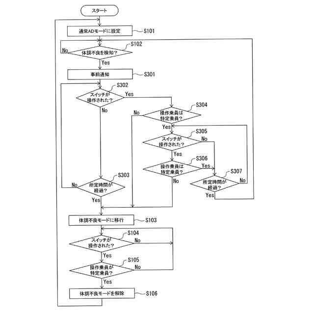
【解決手段】 体調不良検知部30は、乗員の体調不良を検知する。また、判断制御部31は、体調不良検知部30で乗員の体調不良が検知されると、体調不良モードに移行する。また、判断制御部31は、体調不良モードの実行中、スイッチ18が操作されると、スイッチ18を操作した乗員が体調不良検知部30で体調不良が検知された乗員(特定乗員)であるかを判定し、特定乗員であると判定した場合には、体調不良モードを解除する。
【選択図】 図3
特許請求の範囲
【請求項1】
目的地に向かって自律走行を行う車両に搭載された車両制御装置であって、
前記車両の乗員の体調不良を検知する検知部と、
前記検知部で乗員の体調不良が検知されると、前記車両の停車、車外への通報、及び前記目的地の変更の何れか1つ以上を行う体調不良モードに移行する制御部と、
車内に設置され、乗員により操作されるスイッチと、を備え、
前記制御部は、前記体調不良モードの実行中、前記スイッチが操作されると、前記スイッチを操作した乗員が前記検知部で体調不良が検知された乗員である特定乗員であるかを判定し、前記特定乗員であると判定した場合には、前記体調不良モードを解除する
車両制御装置。
続きを表示(約 1,300 文字)
【請求項2】
前記スイッチは、車内の各座席から所定距離の範囲内に1つだけ設置されている
請求項1に記載の車両制御装置。
【請求項3】
前記スイッチは、車内の座席毎に設置されている
請求項1に記載の車両制御装置。
【請求項4】
前記制御部は、前記検知部で乗員の体調不良が検知されてから所定時間が経過した後に、前記体調不良モードを開始し、
前記検知部で前記特定乗員の体調不良が検知された後、前記体調不良モードの開始前に、乗員に対して前記体調不良モードの開始を通知する事前通知を行う通知部を備え、
さらに、前記制御部は、前記事前通知の開始後、前記体調不良モードの開始前に、前記スイッチが操作されると、前記スイッチを操作した乗員が前記特定乗員であるかを判定し、前記特定乗員であると判定した場合には、前記体調不良モードへの移行を中止する
請求項1に記載の車両制御装置。
【請求項5】
前記制御部は、前記事前通知の開始後、前記体調不良モードの開始前に、前記スイッチが操作されると、前記スイッチを操作した乗員が前記特定乗員であるかを判定し、前記特定乗員以外の乗員であると判定した場合には、前記検知部で前記特定乗員の体調不良が検知されてから前記所定時間が経過する前に、前記体調不良モードを開始する
請求項4に記載の車両制御装置。
【請求項6】
前記制御部は、前記事前通知の開始後、前記体調不良モードの開始前に、前記スイッチの操作が2回以上行われた場合、2回目以降の前記スイッチの操作に関わらず、1回目の前記スイッチの操作に応じて決まった前記体調不良モードへの移行の中止又は開始を維持する
請求項5に記載の車両制御装置。
【請求項7】
前記特定乗員の体調不良の度合いが重症レベルであるかを判定する判定部を備え、
前記制御部は、前記判定部で重症レベルであると判定され、且つ、前記事前通知の開始後、前記体調不良モードの開始前に、前記特定乗員以外の乗員が前記スイッチを操作したと判定されて、前記体調不良モードが開始された場合には、前記体調不良モードの解除を禁止する
請求項5に記載の車両制御装置。
【請求項8】
前記スイッチは、押ボタンスイッチであり、
前記制御部は、前記スイッチに対して所定回数の繰り返し押下、又は所定時間の連続押下が行われた場合に、前記スイッチが操作されたと判定する
請求項1に記載の車両制御装置。
【請求項9】
目的地に向かって自律走行を行う車両に搭載された車両制御装置による車両制御方法であって、
前記車両の乗員の体調不良を検知し、
乗員の体調不良が検知されると、前記車両の停車、車外への通報、及び前記目的地の変更の何れか1つ以上を行う体調不良モードに移行するとともに、
前記体調不良モードの実行中、車内に設置されたスイッチが操作されると、前記スイッチを操作した乗員が体調不良が検知された乗員である特定乗員であるかを判定し、前記特定乗員であると判定した場合には、前記体調不良モードを解除する
車両制御方法。
発明の詳細な説明
【技術分野】
【0001】
本開示は、車両制御装置及び車両制御方法に関する。
続きを表示(約 2,300 文字)
【背景技術】
【0002】
従来、例えば、運転者の手に近い位置に配置されたスイッチと、スイッチが操作された場合に所定の緊急制御を行う制御部と、運転者の体調不良を検知する検知部と、を有する車両制御装置が提案されている(例えば、特許文献1参照。)。特許文献1に記載の車両制御装置では、検知部で運転者の体調不良が検知された場合に、スイッチを操作可能とすることで、運転者によるスイッチの誤操作を防止するようになっている。
【先行技術文献】
【特許文献】
【0003】
特開2018-124855号公報
【発明の概要】
【発明が解決しようとする課題】
【0004】
しかし、特許文献1に記載の車両制御装置では、運転者がスイッチを操作できないほどの体調不良であるときには、体調不良の運転者への対応が何もなされない。
本開示は、スイッチを操作できないほどの体調不良の乗員にも対応することが可能な車両制御装置及び車両制御方法を提供することを目的とする。
【課題を解決するための手段】
【0005】
本開示の一態様の車両制御装置は、目的地に向かって自律走行を行う車両に搭載された車両制御装置であって、車両の乗員の体調不良を検知する検知部と、検知部で乗員の体調不良が検知されると、車両の停車、車外への通報、及び目的地の変更の何れか1つ以上を行う体調不良モードに移行する制御部と、車内に設置され、乗員により操作されるスイッチと、を備え、制御部は、体調不良モードの実行中、スイッチが操作されると、スイッチを操作した乗員が検知部で体調不良が検知された乗員である特定乗員であるかを判定し、特定乗員であると判定した場合には、体調不良モードを解除する。
【0006】
また、本開示の一態様の車両制御方法は、目的地に向かって自律走行を行う車両に搭載された車両制御装置による車両制御方法であって、車両の乗員の体調不良を検知し、乗員の体調不良が検知されると、車両の停車、車外への通報、及び目的地の変更の何れか1つ以上を行う体調不良モードに移行するとともに、体調不良モードの実行中、車内に設置されたスイッチが操作されると、スイッチを操作した乗員が体調不良が検知された乗員である特定乗員であるかを判定し、特定乗員であると判定した場合には、体調不良モードを解除する。
【発明の効果】
【0007】
本開示によれば、スイッチを操作できないほどの体調不良の乗員にも対応することが可能な車両制御装置及び車両制御方法を提供できる。
【図面の簡単な説明】
【0008】
第1の実施形態の車両制御装置の概略構成を示す図である。
スイッチの設置位置を示す図である。
コントローラの機能構成を示す図である。
判断制御部等の動作を示すフローチャートである。
車両の動作を示す図である。
第2の実施形態のコントローラの機能構成を示す図である。
判断制御部等の動作を示すフローチャートである。
車両の動作を示す図である。
変形例のコントローラの機能構成を示す図である。
変形例の判断制御部等の動作を示すフローチャートである。
変形例の判断制御部等の動作を示すフローチャートである。
変形例の車内カメラ及びスイッチの設置位置を示す図である。
【発明を実施するための形態】
【0009】
以下、本開示の実施形態について、図面を参照しつつ説明する。なお、各図面は模式的なものであって、現実のものとは異なる場合がある。また、以下に示す本開示の実施形態は、本開示の技術的思想を具体化するための装置や方法を例示するものであって、本開示の技術的思想は、構成部品の構造、配置等を下記のものに特定するものではない。本開示の技術的思想は、特許請求の範囲に記載された請求項が規定する技術的範囲内において、種々の変更を加えることができる。
【0010】
(構成)
図1は、第1の実施形態の車両制御装置10の概略構成を示す図である。第1の実施形態では、図1に示すように乗員の相乗りが可能である無人タクシー(以下「車両Ce」とも呼ぶ)に車両制御装置10を適用した場合を例示している。車両Ceは、目的地に向かって自律走行を行うように、車両Ceの走行を制御する車両制御装置10を備えている。
車両制御装置10は、外界センサ11と、車両センサ12と、測位装置13と、地図データベース14(以下、「地図DB14」とも呼ぶ)と、通信装置15と、ヒューマンマシンインタフェース(HMI:Human Machine Interface) 16と、車内カメラ17と、スイッチ18と、アクチュエータ19と、コントローラ20とを備えている。
外界センサ11は、車両Ceの前方の周囲環境を監視する前方監視センサと、車両Ceの後方の周囲環境を監視する後方監視センサとを備えている。前方監視センサ及び後方監視センサとしては、例えば、車両Ceに搭載されたレーザレーダ、ミリ波レーダ、カメラ、LIDAR(Light Detection and Ranging、Laser Imaging Detection and Ranging)等、車両Ceの周辺の物体を検出する各種の物体検出センサを採用できる。
(【0011】以降は省略されています)
この特許をJ-PlatPat(特許庁公式サイト)で参照する
関連特許
日産自動車株式会社
内燃機関
22日前
日産自動車株式会社
吸気装置
3日前
日産自動車株式会社
電動車両
25日前
日産自動車株式会社
電子機器
9日前
日産自動車株式会社
ロータシャフト
17日前
日産自動車株式会社
ロータシャフト
17日前
日産自動車株式会社
電池モジュール
1か月前
日産自動車株式会社
電池モジュール
1日前
日産自動車株式会社
電池モジュール
23日前
日産自動車株式会社
車両用排気部構造
22日前
日産自動車株式会社
リチウム二次電池
22日前
日産自動車株式会社
エアレスタイヤ構造
9日前
日産自動車株式会社
塗装方法及び自動車
24日前
日産自動車株式会社
全固体電池システム
1日前
日産自動車株式会社
ピックアップトラック
3日前
日産自動車株式会社
支援方法及び支援装置
3日前
日産自動車株式会社
エンジンのアンダカバー
1か月前
日産自動車株式会社
パワー半導体モジュール
1日前
株式会社ニフコ
締結構造
1か月前
日産自動車株式会社
車両乗り合わせ方法及び装置
2日前
日産自動車株式会社
運転支援方法及び運転支援装置
1か月前
日産自動車株式会社
運転支援方法及び運転支援装置
1か月前
日産自動車株式会社
情報提供方法及び情報提供装置
9日前
日産自動車株式会社
車両制御装置及び車両制御方法
2日前
日産自動車株式会社
情報処理装置及び情報処理方法
1日前
日産自動車株式会社
車両制御装置及び車両制御方法
2日前
日産自動車株式会社
車両制御方法および車両制御装置
1か月前
日産自動車株式会社
車両制御方法および車両制御装置
1か月前
日産自動車株式会社
車両制御方法および車両制御装置
1か月前
日産自動車株式会社
物体検出方法、及び物体検出装置
22日前
日産自動車株式会社
衝突回避方法、及び衝突回避装置
22日前
日産自動車株式会社
車両制御システム及び車両制御方法
2日前
日産自動車株式会社
内燃機関の制御方法および制御装置
1日前
日産自動車株式会社
内燃機関の制御方法および制御装置
1日前
日産自動車株式会社
地図情報生成方法及び地図情報生成装置
25日前
日産自動車株式会社
楽曲情報共有方法及び楽曲情報共有装置
22日前
続きを見る
他の特許を見る