TOP
|
特許
|
意匠
|
商標
特許ウォッチ
Twitter
他の特許を見る
10個以上の画像は省略されています。
公開番号
2025173345
公報種別
公開特許公報(A)
公開日
2025-11-27
出願番号
2024078895
出願日
2024-05-14
発明の名称
液晶表示装置
出願人
TOPPANホールディングス株式会社
代理人
弁理士法人鈴榮特許綜合事務所
主分類
G02F
1/1335 20060101AFI20251119BHJP(光学)
要約
【課題】反射表示の明るさはスポイルせず、透過表示領域を拡げることができ、かつ光リークの増大を抑制する。
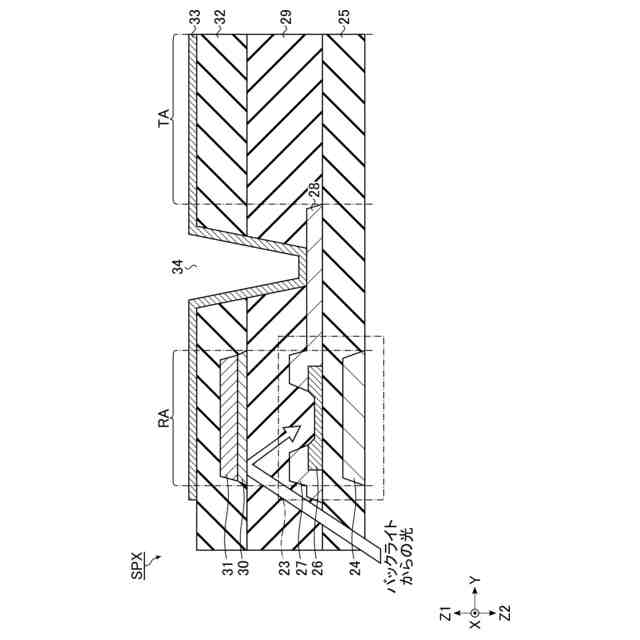
【解決手段】液晶表示装置1は、バックライト3と液晶パネル2とを含む。液晶パネル2は、バックライトの上方に設けられる第1基板21と、ゲート電極24を含み、第1基板の表面の上に設けられるボトムゲート型の薄膜トランジスタ23と、薄膜トランジスタの上方に設けられる第1反射膜30と、第1反射膜の上方に設けられる第2反射膜31と、第2反射膜の上に設けられる絶縁膜32と、絶縁膜の上に設けられる画素電極33とを含む。第1反射膜30は、第2反射膜31よりも光の反射率が低い。
【選択図】図2
特許請求の範囲
【請求項1】
バックライトと、
前記バックライトの上方に設けられる第1基板と、
ゲート電極を含み、前記第1基板の表面の上に設けられるボトムゲート型の薄膜トランジスタと、
前記薄膜トランジスタの上方に設けられる第1反射膜と、
前記第1反射膜の上方に設けられる第2反射膜と、
前記第2反射膜の上に設けられる絶縁膜と、
前記絶縁膜の上に設けられる画素電極と
を含む、液晶パネルと
を備え、
前記第1反射膜は、前記第2反射膜よりも光の反射率が低い、
液晶表示装置。
続きを表示(約 770 文字)
【請求項2】
前記第1反射膜は、前記第1基板の前記表面に垂直な第1方向において前記ゲート電極と対向している、
請求項1記載の液晶表示装置。
【請求項3】
前記液晶パネルは、複数の画素を含み、
前記複数の画素の各々は、複数のサブピクセルを含み、
前記複数のサブピクセルの各々において、前記第1反射膜は、前記第1方向において前記ゲート電極と略同一の面積を有する、
請求項2記載の液晶表示装置。
【請求項4】
前記複数のサブピクセルの各々において、前記第1反射膜は、前記第1方向において前記ゲート電極と略同一の形状を有する、
請求項3記載の液晶表示装置。
【請求項5】
前記複数のサブピクセルの各々において、前記第2反射膜は、前記第1方向において前記第1反射膜と略同一の面積を有する、
請求項3記載の液晶表示装置。
【請求項6】
前記複数のサブピクセルの各々において、前記第2反射膜は、前記第1方向において前記第1反射膜と略同一の形状を有する、
請求項5記載の液晶表示装置。
【請求項7】
前記第2反射膜は、アルミニウム又はアルミニウムを含む合金を含む、
請求項1乃至6のいずれか1項記載の液晶表示装置。
【請求項8】
前記第1反射膜は、モリブデン又はモリブデンを含む合金を含む、
請求項7記載の液晶表示装置。
【請求項9】
前記第1反射膜は、クロム又はクロムを含む合金を含む、
請求項7記載の液晶表示装置。
【請求項10】
前記第1反射膜は、樹脂を含む、
請求項7記載の液晶表示装置。
(【請求項11】以降は省略されています)
発明の詳細な説明
【技術分野】
【0001】
本発明は、液晶表示装置に関する。
続きを表示(約 1,500 文字)
【背景技術】
【0002】
透過表示領域と反射表示領域の両方を備えることにより、直射日光下でも画面が見やすいなど、屋外での視認性を高める半透過型液晶表示技術が注目されている。例えば、半透過型液晶表示装置は、透過型液晶表示と反射型液晶表示を組み合わせた構成を有する。
【0003】
反射型液晶表示は、最も単純には、公知である透過型液晶表示装置の画素電極を、透明な材料から光の反射率が高い材料に変更することにより実現できる。しかし、この構成を採ると、液晶層を挟んで対向する2つの電極の材料が互いに異なるため、液晶層との接触電位が夫々異なることとなり、液晶の焼き付き、フリッカの増大、電極の腐食などを引き起こしやすい。
【0004】
特許文献1には、反射型液晶表示装置として、外光の反射を担う光反射膜と、液晶層に電圧を印加する画素電極とを、絶縁膜を介して別層とし、画素電極と対向電極の材料を従来通りITO(Indium Tin Oxide)同士に揃えることができる構成が例示されている。
【先行技術文献】
【特許文献】
【0005】
特開2007-79207号公報
【発明の概要】
【発明が解決しようとする課題】
【0006】
ところで、光反射膜の材料の候補としては、アルミニウム、銀などの光の反射率が比較的高い金属が好ましく、現実的には、耐ヒロック性、耐マイグレーション性などから、アルミニウムを主成分とした合金が好適に用いられる。
【0007】
図10は、特許文献1に記載の反射型液晶表示装置の構成の一部を示す断面図である。図10では、説明のために特許文献1とは異なる符号を付けている。図10に示すように、特許文献1に記載の反射型液晶表示装置では、ボトムゲート型のTFT(Thin Film Transistor)素子111の上部を覆うように、層間絶縁膜121を挟んで光反射膜122が配置され、更に光反射膜122の上方に、絶縁膜123を挟んで画素電極124が配置されている。この構成を採ると、TFTの上部を光反射部として使うことができ、その分、反射表示できる面積が増え、より明るい反射表示を得ることができるメリットがある。
【0008】
しかし、TFTには、チャネル部に光が入射すると電流リーク(以下、「光リーク」と表記する)が発生し、液晶層にかけるべき電圧の保持が不十分になって表示品位が低下する欠点がある。
【0009】
ここで、例えば、図10の構成を半透過型液晶表示装置に適用した場合を考える。この場合の構成の一例を図11に示す。図11の構成では、画素電極124の上側から入射する外光が光反射膜122によって強く反射されて比較的明るい表示が得られる。例えば、光反射膜122を、比較的高い光の反射率を有する金属膜であるアルミニウム又はアルミニウム合金によって形成すると、視認方向へ光がより強く反射されて比較的明るい表示が得られるようになる。その一方で、比較的高い光の反射率を有する金属膜がチャネル上部に配置されるため、TFTの下側から照射されるバックライトからの光が光反射膜122によってより強く反射されてTFTのチャネル部に入射することにより、光リークの増大につながる恐れがある。
【0010】
そこで、本発明は、反射表示の明るさはスポイルせず、透過表示領域を拡げることができ、かつ光リークの増大を抑制できる液晶表示装置を提供することを目的とする。
【課題を解決するための手段】
(【0011】以降は省略されています)
この特許をJ-PlatPat(特許庁公式サイト)で参照する
関連特許
住友化学株式会社
偏光板
1か月前
カンタツ株式会社
光学系
1か月前
株式会社シグマ
結像光学系
1か月前
株式会社シグマ
結像光学系
22日前
住友化学株式会社
垂直偏光板
1か月前
日本精機株式会社
ミラーユニット
1か月前
古河電気工業株式会社
融着機
1か月前
日本電気株式会社
光モジュール
1か月前
株式会社コシナ
投射ズームレンズ
15日前
日東電工株式会社
導光部材
22日前
個人
多方向視差効果のための微細穴加工
1か月前
豊田合成株式会社
調光装置
9日前
日東電工株式会社
光学積層体
24日前
京セラ株式会社
光学系
1か月前
個人
眼鏡装着位置変更具および眼鏡
1か月前
三菱電機株式会社
レンズモジュール
1か月前
日本精機株式会社
ヘッドアップディスプレイ
22日前
日本精機株式会社
ヘッドアップディスプレイ
25日前
AGC株式会社
インフィニティミラー
1か月前
キヤノン株式会社
表示装置
1日前
マクセル株式会社
映像表示装置
15日前
日本精機株式会社
ヘッドアップディスプレイ装置
23日前
新光電気工業株式会社
光導波路部品
1か月前
新光電気工業株式会社
光導波路部品
1か月前
日本精機株式会社
ヘッドアップディスプレイ装置
22日前
京セラ株式会社
アイソレータ
1日前
株式会社タムロン
ズームレンズ及び撮像装置
1か月前
株式会社リコー
光走査装置及び画像形成装置
22日前
スタンレー電気株式会社
透光性樹脂部材
1か月前
レーザーテック株式会社
光学装置及び調整方法
22日前
富士通株式会社
波長変換装置および波長変換方法
1か月前
マクセル株式会社
空中浮遊映像表示装置
24日前
キヤノン電子株式会社
光学部材、撮像装置及び宇宙航行体
1か月前
株式会社小糸製作所
画像表示装置
17日前
株式会社小糸製作所
画像生成装置
17日前
キヤノン電子株式会社
光学部材、撮像装置及び宇宙航行体
1か月前
続きを見る
他の特許を見る