TOP
|
特許
|
意匠
|
商標
特許ウォッチ
Twitter
他の特許を見る
10個以上の画像は省略されています。
公開番号
2025173325
公報種別
公開特許公報(A)
公開日
2025-11-27
出願番号
2024078871
出願日
2024-05-14
発明の名称
遊技機
出願人
株式会社ニューギン
代理人
弁理士法人後藤特許事務所
主分類
A63F
7/02 20060101AFI20251119BHJP(スポーツ;ゲーム;娯楽)
要約
【課題】遊技の興趣を向上させる。
【解決手段】
図柄の変動とともに所定の演出を実行可能な遊技機であって、図柄の変動に係る変動ゲーム中に演出に関するカスタマイズが可能であり、所定条件の成立を契機に、変動ゲーム中であってもカスタマイズが規制される特殊変動の実行が可能であり、特殊変動の実行期間は可変であり、特殊変動の実行に伴って特殊変動報知を実行可能であり、特殊変動報知は、変動ゲームの当否に関わらず同一の報知態様をとることが可能である遊技機を提供する。
【選択図】図6
特許請求の範囲
【請求項1】
図柄の変動とともに所定の演出を実行可能な遊技機であって、
図柄の変動に係る変動ゲーム中に前記演出に関するカスタマイズが可能であり、
所定条件の成立を契機に、前記変動ゲーム中であっても前記カスタマイズが規制される特殊変動の実行が可能であり、
前記特殊変動の実行期間は可変であり、
前記特殊変動の実行に伴って特殊変動報知を実行可能であり、
前記特殊変動報知は、前記変動ゲームの当否に関わらず同一の報知態様をとることが可能である、
ことを特徴とする遊技機。
発明の詳細な説明
【技術分野】
【0001】
本発明は、遊技機に関する。
続きを表示(約 1,900 文字)
【背景技術】
【0002】
従来から、演出に関連する各種設定情報をカスタマイズ可能な遊技機(例えば、特許文献1)が知られている。
【先行技術文献】
【特許文献】
【0003】
特開2023-128804号公報
【発明の概要】
【発明が解決しようとする課題】
【0004】
従来の遊技機において、遊技の興趣を向上させる余地があった。
【0005】
そこで、本発明は、遊技の興趣を向上させることを目的とする。
【課題を解決するための手段】
【0006】
本発明の代表的な一態様では、図柄の変動とともに所定の演出を実行可能な遊技機であって、図柄の変動に係る変動ゲーム中に前記演出に関するカスタマイズが可能であり、所定条件の成立を契機に、前記変動ゲーム中であっても前記カスタマイズが規制される特殊変動の実行が可能であり、前記特殊変動の実行期間は可変であり、前記特殊変動の実行に伴って特殊変動報知を実行可能であり、前記特殊変動報知は、前記変動ゲームの当否に関わらず同一の報知態様をとることが可能である遊技機が提供される。
【発明の効果】
【0007】
本発明の一態様によれば、遊技の興趣を向上できる。
【図面の簡単な説明】
【0008】
遊技機を前面側から見た斜視図である。
遊技盤の正面図である。
遊技機の遊技制御系の構成例を示すブロック図である。
遊技機の演出制御系の構成例を示すブロック図である。
カスタマイズ機能の一態様を示す図である。
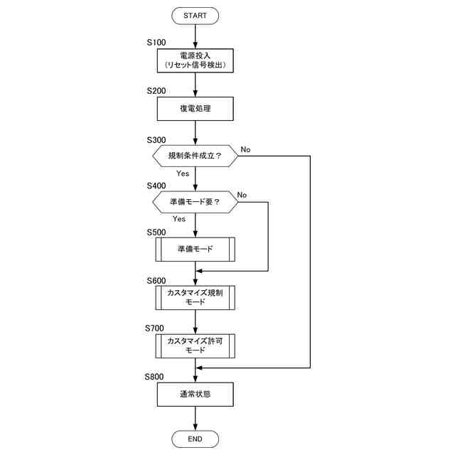
カスタマイズ制限関連処理の全体的な処理の概要を示すフローチャートである。
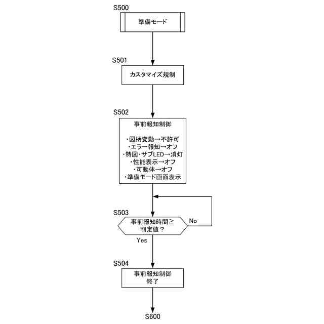
準備モードにおける処理の詳細を説明するフローチャートである。
事前報知制御による画面表示(準備モード画面表示)の一例を示す図である。
カスタマイズ規制モードにおける処理の詳細を説明するフローチャートである。
特殊変動報知制御による画面表示(特殊変動画面表示)の一例を示す図である。
カスタマイズ許可モードにおける処理の詳細を説明するフローチャートである。
許可報知制御による画面表示(許可報知画面表示)の一例を示す図である。
カスタマイズ制限関連処理を適用した際の制御結果の一例を示すタイミングチャートである。
変形例によるカスタマイズ制限関連処理を説明するフローチャートである。
第1実施形態による可動体カスタマイズ関連処理を説明するフローチャートである。
第1基本テーブルの一例を示す図である。
第2実施形態による可動体カスタマイズ関連処理を説明するフローチャートである。
第1オート時用テーブルの一例を示す図である。
第3実施形態による可動体カスタマイズ関連処理を説明するフローチャートである。
第4実施形態による可動体カスタマイズ関連処理を説明するフローチャートである。
第2基本テーブルの一例を示す図である。
第5実施形態による可動体カスタマイズ関連処理を説明するフローチャートである。
第2オート時用テーブルの一例を示す図である。
第6実施形態による可動体カスタマイズ関連処理を説明するフローチャートである。
第7実施形態による可動体カスタマイズ関連処理を説明するフローチャートである。
第8実施形態による可動体カスタマイズ関連処理を説明するフローチャートである。
ボタン振動時間テーブルの一例を示す図である。
【発明を実施するための形態】
【0009】
[実施形態]
以下、本発明の好適な実施の形態を図面に基づいて説明する。なお、遊技機の説明における前(表)、後(裏)、左、右とは、遊技中の遊技者から見た方向を基準とする。
【0010】
[第1実施形態]
〔1.遊技機全体図〕
図1は、パチンコ機としての遊技機10を説明する図である。本実施形態の遊技機10は、封入式の遊技機(スマートパチンコ機)であり、遊技媒体としての遊技球は遊技機内部を循環して、上皿などの皿に遊技価値として付与されることはない。遊技価値は、遊技媒体(遊技球)に代えて、数値データとして付与される。なお、以下の実施形態の構成は、封入式でない遊技機にも適用可能である。
(【0011】以降は省略されています)
この特許をJ-PlatPat(特許庁公式サイト)で参照する
関連特許
株式会社ニューギン
遊技機
1日前
株式会社ニューギン
遊技機
1か月前
株式会社ニューギン
遊技機
1か月前
株式会社ニューギン
遊技機
1か月前
株式会社ニューギン
遊技機
1か月前
株式会社ニューギン
遊技機
1か月前
株式会社ニューギン
遊技機
1か月前
株式会社ニューギン
遊技機
1か月前
株式会社ニューギン
遊技機
1か月前
株式会社ニューギン
島設備
1か月前
株式会社ニューギン
遊技機
1か月前
株式会社ニューギン
遊技機
1か月前
株式会社ニューギン
遊技機
1か月前
株式会社ニューギン
遊技機
1日前
株式会社ニューギン
遊技機
1か月前
株式会社ニューギン
遊技機
1か月前
株式会社ニューギン
遊技機
2日前
株式会社ニューギン
遊技機
1日前
株式会社ニューギン
遊技機
2日前
株式会社ニューギン
遊技機
2日前
株式会社ニューギン
遊技機
2日前
株式会社ニューギン
遊技機
2日前
株式会社ニューギン
遊技機
2日前
株式会社ニューギン
遊技機
2日前
株式会社ニューギン
遊技機
2日前
株式会社ニューギン
遊技機
1か月前
株式会社ニューギン
遊技機
22日前
株式会社ニューギン
遊技機
1か月前
株式会社ニューギン
遊技機
1か月前
株式会社ニューギン
遊技機
1か月前
株式会社ニューギン
遊技機
1か月前
株式会社ニューギン
遊技機
9日前
株式会社ニューギン
遊技機
15日前
株式会社ニューギン
遊技機
22日前
株式会社ニューギン
遊技機
1か月前
個人
玩具
2か月前
続きを見る
他の特許を見る