TOP
|
特許
|
意匠
|
商標
特許ウォッチ
Twitter
他の特許を見る
10個以上の画像は省略されています。
公開番号
2025173305
公報種別
公開特許公報(A)
公開日
2025-11-27
出願番号
2024078827
出願日
2024-05-14
発明の名称
インクパック、及び、液体吐出装置
出願人
キヤノン株式会社
代理人
弁理士法人谷・阿部特許事務所
主分類
B65D
33/06 20060101AFI20251119BHJP(運搬;包装;貯蔵;薄板状または線条材料の取扱い)
要約
【課題】本開示は、インクの注入時におけるインク漏れを抑制することが可能であり、脱炭素/循環型社会などの持続可能な社会の実現に貢献し得るインクパックを提供することを目的とする。
【解決手段】液体吐出装置が備えるインクタンクにインクを注入することが可能に構成されたインクパックは、インクが収容される袋体と、袋体の内部から外部に向かって延在し、インクを排出する排出部と、を備える。袋体は、外周を構成する辺部のうち1つの辺部に設けられた第1の把持部と、第1の把持部が設けられた辺部とは異なる辺部に設けられた第2の把持部と、を備える。
【選択図】図2
特許請求の範囲
【請求項1】
液体吐出装置が備えるインクタンクにインクを注入することが可能に構成されたインクパックであって、
インクが収容される袋体と、
前記袋体の内部から外部に向かって延在し、インクを排出する排出部と、
を備え、
前記袋体は、
外周を構成する辺部のうち1つの辺部に設けられた第1の把持部と、
前記第1の把持部が設けられた辺部とは異なる辺部に設けられた第2の把持部と、
を備えることを特徴とするインクパック。
続きを表示(約 1,100 文字)
【請求項2】
前記外周を構成する辺部は、第1の辺部と、前記第1の辺部に隣接する第2の辺部と、前記第2の辺部に隣接する第3の辺部と、を含み、
前記排出部は、前記第1の辺部に設けられ、
前記第1の把持部は、前記第2の辺部に設けられ、
前記第2の把持部は、前記第3の辺部に設けられた、
請求項1に記載のインクパック。
【請求項3】
前記袋体は、複数枚のフィルムが互いの辺部に沿って固定され、インクが収容されていない非収容部を含み、
前記第1の把持部及び前記第2の把持部は、前記非収容部に設けられている、
請求項2に記載のインクパック。
【請求項4】
前記第1の把持部は、前記第1の辺部に沿って形成された前記非収容部のうち他の部分よりも幅が大きい部分であり、
前記第2の把持部は、前記第2の辺部に沿って形成された前記非収容部のうち他の部分よりも幅が大きい部分である、
請求項3に記載のインクパック。
【請求項5】
前記インクパックは、前記排出部が上方を向いた姿勢からインクを前記インクタンクに注入するための注入姿勢まで回転され、
前記注入姿勢において、前記第1の把持部及び前記第2の把持部は、前記排出部よりも上方に位置する、
請求項1に記載のインクパック。
【請求項6】
前記注入姿勢において、
前記第1の把持部は、前記排出部よりも前記回転の前方に位置し、
前記第2の把持部は、前記排出部よりも前記回転の後方に位置する、
請求項5に記載のインクパック。
【請求項7】
前記排出部は、バルブ機構を備え、
前記バルブ機構のバルブは、
前記排出部が前記インクタンクに係合していない状態で、前記排出部を閉じた状態となり、
前記排出部が前記インクタンクに係合した状態で、前記排出部を開く状態となる、
請求項1に記載のインクパック。
【請求項8】
前記袋体は、複数枚のフィルムが有する複数の辺部の夫々を互いに熱溶着することによって、形成されている、
請求項1に記載のインクパック。
【請求項9】
前記袋体は、マチ部を有する、
請求項1に記載のインクパック。
【請求項10】
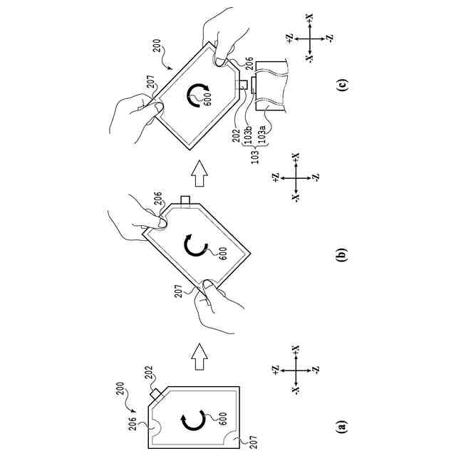
前記袋体には、インクを前記インクタンクに注入するために前記袋体を回転させる回転方向が示されている、
請求項1に記載のインクパック。
(【請求項11】以降は省略されています)
発明の詳細な説明
【技術分野】
【0001】
本開示は、インクパック、及び、液体吐出装置に関する。
続きを表示(約 1,500 文字)
【背景技術】
【0002】
インクが収容された補充用パウチ(インクパック)を使用して、液体吐出装置(例えば、インクジェットプリンター等)が備えるインクタンクにインクを補充することがある。
【0003】
特許文献1には、インクを収容する収容袋(袋体)、液体吐出装置に設けられたインクタンクの補充口に係合可能な注出部(排出部)、及び、当該注出部に対して着脱可能な蓋部材を備える補充用パウチが開示されている。特許文献1の補充用パウチによれば、注出部及び蓋部材の夫々には、互いに係合するねじ部が形成されており、蓋部材の開閉時に、インクはこれらのねじ部を伝って収容袋内に戻される。このため、蓋部材の開閉時に蓋部材の外周面を伝うインクによって注出部の周囲が汚染される虞の低減が実現される。
【先行技術文献】
【特許文献】
【0004】
特開2018-2262号公報
【発明の概要】
【発明が解決しようとする課題】
【0005】
ところが、特許文献1の補充用パウチでは、インクの注入時におけるハンドリングによっては、インクを注入している最中に、補充用パウチからインクが溢れて漏れる虞がある。
【0006】
そこで、本開示は、インクの注入時におけるインク漏れを抑制することができるインクパックを提供することを目的とする。
【課題を解決するための手段】
【0007】
本開示のインクパックは、液体吐出装置が備えるインクタンクにインクを注入することが可能に構成されたインクパックであって、インクが収容される袋体と、前記袋体の内部から外部に向かって延在し、インクを排出する排出部と、を備え、前記袋体は、外周を構成する辺部のうち1つの辺部に設けられた第1の把持部と、前記第1の把持部が設けられた辺部とは異なる辺部に設けられた第2の把持部と、を備えることを特徴とする。
【発明の効果】
【0008】
本開示のインクパックによれば、インクの注入時におけるインク漏れを抑制することができる。
【図面の簡単な説明】
【0009】
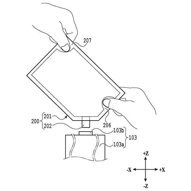
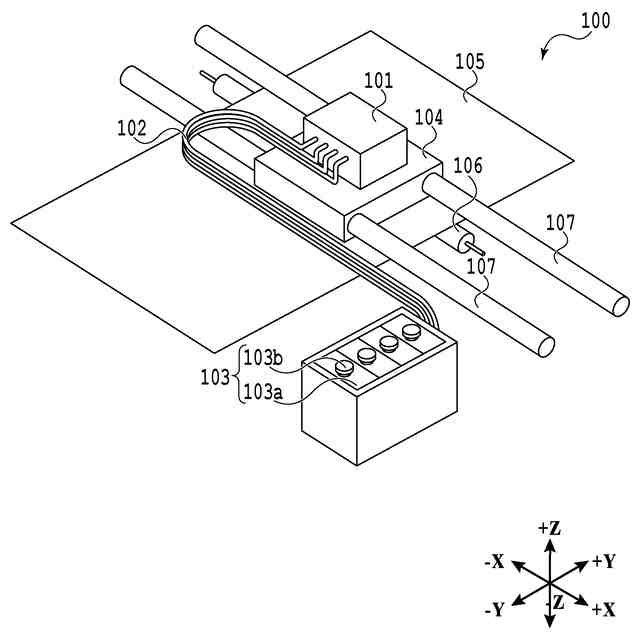
一実施形態における液体吐出装置の一例を示す斜視図。
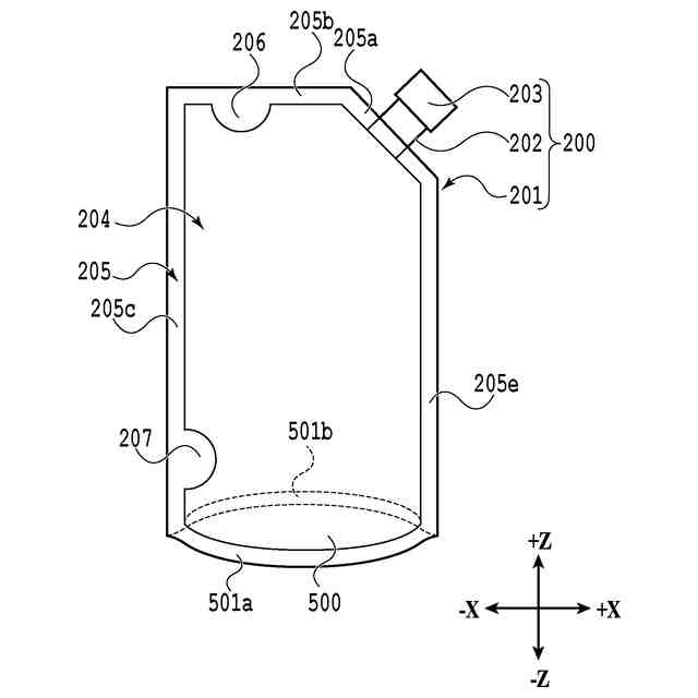
一実施形態におけるインクパックの一例を示す正面図。
一実施形態におけるインクの注入方法を説明する図。
一実施形態におけるインクパックの一例を示す正面図。
一実施形態におけるインクパックを正面上方から見た一例を示す透視図。
一実施形態におけるインクパックの一例を示す正面図。
一実施形態におけるインクの注入方法を説明する図。
一実施形態におけるインクパックの一例を示す正面図。
一実施形態におけるインクの注入方法を説明する図。
一実施形態におけるインクパックの一例を示す正面図。
一実施形態におけるインクパックの一例を示す正面図。
一実施形態におけるインクパックを正面上方から見た一例を示す透視図。
一実施形態におけるインクパックの一例を示す正面図。
一実施形態に適用することが滑り止め部の形成方法を説明する図。
一実施形態の変形例に適用することが可能なインクパックの模式的な正面図。
【発明を実施するための形態】
【0010】
本明細書に記載の技術は脱炭素/循環型社会などの持続可能な社会の実現に貢献し得る。本開示では、持続可能な社会の実現に貢献し得る技術として、インクの注入時におけるインク漏れを抑制することができるインクパック、及び、液体吐出装置について説明する。
(【0011】以降は省略されています)
この特許をJ-PlatPat(特許庁公式サイト)で参照する
関連特許
キヤノン株式会社
容器
1か月前
キヤノン株式会社
容器
1か月前
キヤノン株式会社
トナー
1か月前
キヤノン株式会社
トナー
22日前
キヤノン株式会社
測距装置
24日前
キヤノン株式会社
撮像装置
17日前
キヤノン株式会社
定着装置
15日前
キヤノン株式会社
撮像装置
9日前
キヤノン株式会社
撮像装置
9日前
キヤノン株式会社
表示装置
1日前
キヤノン株式会社
表示装置
1日前
キヤノン株式会社
撮像装置
1日前
キヤノン株式会社
現像装置
1か月前
キヤノン株式会社
撮像装置
1か月前
キヤノン株式会社
定着装置
15日前
キヤノン株式会社
撮像装置
22日前
キヤノン株式会社
電子機器
22日前
キヤノン株式会社
記録装置
15日前
キヤノン株式会社
撮像装置
1日前
キヤノン株式会社
表示装置
1日前
キヤノン株式会社
表示装置
1か月前
キヤノン株式会社
電子機器
17日前
キヤノン株式会社
雲台装置
22日前
キヤノン株式会社
定着装置
15日前
キヤノン株式会社
電子機器
22日前
キヤノン株式会社
定着装置
9日前
キヤノン株式会社
測距装置
1か月前
キヤノン株式会社
現像容器
1か月前
キヤノン株式会社
現像装置
1か月前
キヤノン株式会社
撮像装置
3日前
キヤノン株式会社
発光装置
1日前
キヤノン株式会社
定着装置
9日前
キヤノン株式会社
記録装置
1か月前
キヤノン株式会社
撮像装置
1か月前
キヤノン株式会社
記録装置
22日前
キヤノン株式会社
撮像装置
1か月前
続きを見る
他の特許を見る