TOP
|
特許
|
意匠
|
商標
特許ウォッチ
Twitter
他の特許を見る
公開番号
2025173279
公報種別
公開特許公報(A)
公開日
2025-11-27
出願番号
2024078789
出願日
2024-05-14
発明の名称
撮像装置、制御方法およびプログラム
出願人
キヤノン株式会社
代理人
弁理士法人大塚国際特許事務所
主分類
G06F
21/62 20130101AFI20251119BHJP(計算;計数)
要約
【課題】撮像装置に保存されている画像が流出する可能性を低減する。
【解決手段】在宅の患者を訪問する際に使用される撮像装置であって、訪問前に訪問先の患者の画像と訪問情報を取得する第1の取得手段と、前記撮像装置の位置情報を取得する第2の取得手段と、前記訪問情報と前記位置情報とに基づいて訪問が完了した患者の画像にアクセスできないように制御する制御手段と、を有する。
【選択図】図1
特許請求の範囲
【請求項1】
在宅の患者を訪問する際に使用される撮像装置であって、
訪問前に訪問先の患者の画像と訪問情報を取得する第1の取得手段と、
前記撮像装置の位置情報を取得する第2の取得手段と、
前記訪問情報と前記位置情報とに基づいて訪問が完了した患者の画像にアクセスできないように制御する制御手段と、を有することを特徴とする撮像装置。
続きを表示(約 890 文字)
【請求項2】
前記訪問情報は、訪問先の患者、訪問する順番、訪問先の位置情報、および訪問先のステータスを含むことを特徴とする請求項1に記載の撮像装置。
【請求項3】
前記制御手段は、前記訪問情報と前記位置情報とに基づいて前記訪問先のステータスを訪問前、訪問中または訪問済にすることを特徴とする請求項2に記載の撮像装置。
【請求項4】
前記制御手段は、訪問前に前記訪問情報の全ての訪問先のステータスを訪問前にすることを特徴とする請求項2に記載の撮像装置。
【請求項5】
前記制御手段は、前記第2の取得手段により取得した現在位置情報と前記訪問先の位置情報とを比較し、
前記現在位置情報と前記訪問先の位置情報が所定の条件を満たす訪問先のステータスを訪問中にすることを特徴とする請求項2に記載の撮像装置。
【請求項6】
前記所定の条件は、前記現在位置情報と前記訪問先の位置情報が一致する場合または前記現在位置情報から所定の距離の領域に前記訪問先の位置情報が含まれる場合であることを特徴とする請求項5に記載の撮像装置。
【請求項7】
前記制御手段は、前記訪問先のステータスが訪問中の訪問先よりも訪問する順番が早い訪問先を訪問済にすることを特徴とする請求項6に記載の撮像装置。
【請求項8】
前記制御手段は、前記訪問先のステータスが訪問済の訪問先の患者の画像にアクセスできないように制御することを特徴とする請求項7に記載の撮像装置。
【請求項9】
前記制御手段は、画像を削除する方法、画像を暗号化する方法、画像にアクセスする時に認証を要求する方法のいずれかにより画像にアクセスできないようにすることを特徴とする請求項1に記載の撮像装置。
【請求項10】
前記画像を暗号化する方法と、画像にアクセスする時に認証を要求する方法は、訪問先で撮影された画像に適用されることを特徴とする請求項9に記載の撮像装置。
(【請求項11】以降は省略されています)
発明の詳細な説明
【技術分野】
【0001】
本発明は、撮像装置に保存されている画像を管理する技術に関する。
続きを表示(約 1,200 文字)
【背景技術】
【0002】
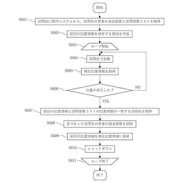
在宅医療や往診(院外診療)において、医師が訪問先にカメラを持参し、患者を撮影したり、過去に撮影した患部画像を患者に見せたりすることがある。
【0003】
ここで、訪問先で院内システムに接続して患者情報を取得できない場合があるため、訪問に出かける前に病院内で、患者の過去画像や情報をカメラに取得しておく必要がある。訪問が終わり、不要になった画像(患者に見せた過去の患部画像)がいつまでもカメラに残ると、カメラを紛失した時などに画像が流出してしまう可能性がある。
【先行技術文献】
【特許文献】
【0004】
特開2009-244982号公報
【発明の概要】
【発明が解決しようとする課題】
【0005】
特許文献1では、現在位置が指定領域外である場合、データをメモリから消去するため、画像の流出を防ぐことができるが、指定領域を離れる場合だけでなく、指定領域に近づく場合も、現在位置が指定領域外であれば、データが消去されてしまうため、まだ訪問していない訪問先の過去画像も削除されてしまう可能性がある。
【0006】
本発明は、上記課題に鑑みてなされ、その目的は、撮像装置に保存されている画像が流出する可能性を低減する技術を実現することである。
【課題を解決するための手段】
【0007】
上記課題を解決し、目的を達成するために、本発明は、在宅の患者を訪問する際に使用される撮像装置であって、訪問前に訪問先の患者の画像と訪問情報を取得する第1の取得手段と、前記撮像装置の位置情報を取得する第2の取得手段と、前記訪問情報と前記位置情報とに基づいて訪問が完了した患者の画像にアクセスできないように制御する制御手段と、を有する。
【発明の効果】
【0008】
本発明によれば、撮像装置に保存されている画像が流出する可能性を低減することができる。
【図面の簡単な説明】
【0009】
本実施形態のシステム構成および撮像装置のハードウェア構成を例示する図。
実施形態1のシステムの利用形態を説明する図。
実施形態1の訪問情報を例示する図。
実施形態1の制御処理を例示するフローチャート。
実施形態2の訪問情報を例示する図。
実施形態2の制御処理を例示するフローチャート。
【発明を実施するための形態】
【0010】
以下、添付図面を参照して実施形態を詳しく説明する。なお、以下の実施形態は特許請求の範囲に係る発明を限定するものではない。実施形態には複数の特徴が記載されているが、これらの複数の特徴の全てが発明に必須のものとは限らず、また、複数の特徴は任意に組み合わせられてもよい。さらに、添付図面においては、同一若しくは同様の構成に同一の参照番号を付し、重複した説明は省略する。
(【0011】以降は省略されています)
この特許をJ-PlatPat(特許庁公式サイト)で参照する
関連特許
キヤノン株式会社
容器
1か月前
キヤノン株式会社
容器
1か月前
キヤノン株式会社
トナー
1か月前
キヤノン株式会社
トナー
1か月前
キヤノン株式会社
トナー
1か月前
キヤノン株式会社
トナー
1か月前
キヤノン株式会社
トナー
22日前
キヤノン株式会社
トナー
1か月前
キヤノン株式会社
現像容器
1か月前
キヤノン株式会社
記録装置
22日前
キヤノン株式会社
電子機器
22日前
キヤノン株式会社
記録装置
22日前
キヤノン株式会社
表示装置
1日前
キヤノン株式会社
撮影装置
1か月前
キヤノン株式会社
記録装置
1か月前
キヤノン株式会社
現像容器
1か月前
キヤノン株式会社
撮像装置
1日前
キヤノン株式会社
定着装置
1か月前
キヤノン株式会社
現像装置
1か月前
キヤノン株式会社
記録装置
1か月前
キヤノン株式会社
現像装置
1か月前
キヤノン株式会社
雲台装置
22日前
キヤノン株式会社
撮像装置
23日前
キヤノン株式会社
定着装置
9日前
キヤノン株式会社
撮像装置
9日前
キヤノン株式会社
撮像装置
9日前
キヤノン株式会社
現像装置
1か月前
キヤノン株式会社
撮像装置
3日前
キヤノン株式会社
測距装置
24日前
キヤノン株式会社
撮像装置
1か月前
キヤノン株式会社
撮像装置
1か月前
キヤノン株式会社
撮像装置
1か月前
キヤノン株式会社
撮像装置
1か月前
キヤノン株式会社
定着装置
9日前
キヤノン株式会社
表示装置
1か月前
キヤノン株式会社
測距装置
1か月前
続きを見る
他の特許を見る