TOP
|
特許
|
意匠
|
商標
特許ウォッチ
Twitter
他の特許を見る
公開番号
2025173218
公報種別
公開特許公報(A)
公開日
2025-11-27
出願番号
2024078697
出願日
2024-05-14
発明の名称
コイル巻き解き装置及びコイル巻き解き方法
出願人
日本製鉄株式会社
代理人
個人
,
個人
,
個人
,
個人
,
個人
主分類
B21C
47/18 20060101AFI20251119BHJP(本質的には材料の除去が行なわれない機械的金属加工;金属の打抜き)
要約
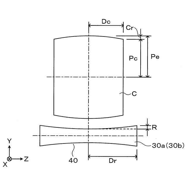
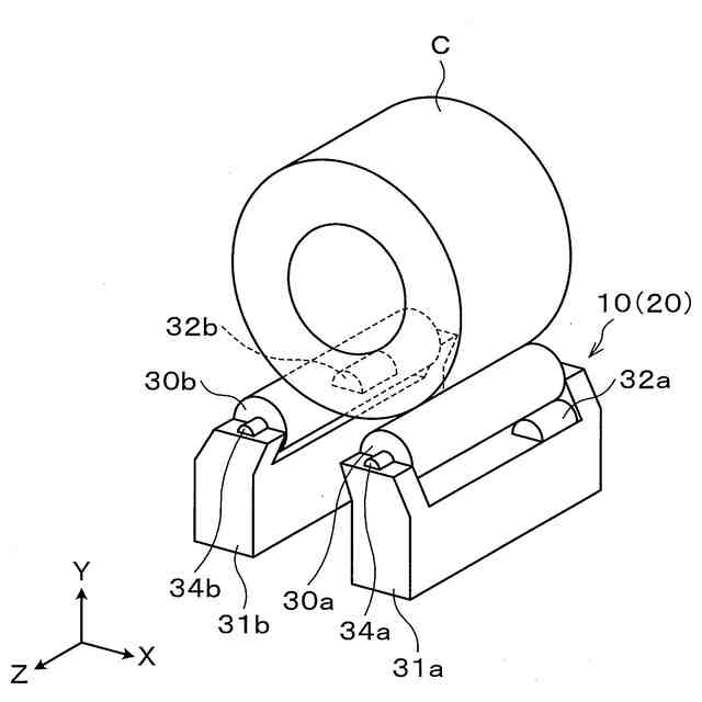
【課題】一対のクレードルロールを用いてコイルを巻き解く際に、コイルずれを抑制することが可能なコイル巻き解き装置及びコイル巻き解き方法を提供する。
【解決手段】コイルクラウンを有するコイルの巻き解き装置であって、前記コイルを積載して、当該コイルを巻き解く一対のクレードルロールを備え、前記一対のクレードルロールのいずれか一方又は両方は、両端部に比して中央部が凹んだロールプロフィールを有する。
【選択図】図6
特許請求の範囲
【請求項1】
コイルクラウンを有するコイルの巻き解き装置であって、
前記コイルを積載して、当該コイルを巻き解く一対のクレードルロールを備え、
前記一対のクレードルロールのいずれか一方又は両方は、両端部に比して中央部が凹んだロールプロフィールを有することを特徴とする、コイル巻き解き装置。
続きを表示(約 550 文字)
【請求項2】
前記ロールプロフィールの凹部の側面視勾配は、前記コイルのクラウンプロフィールの側面視勾配より大きいことを特徴とする、請求項1に記載のコイル巻き解き装置。
【請求項3】
前記ロールプロフィールの側面視形状は、矩形、初等関数又は矩形と初等関数の組み合わせであることを特徴とする、請求項1又は2に記載のコイル巻き解き装置。
【請求項4】
コイルクラウンを有するコイルの巻き解き方法であって、
一対のクレードルロールに前記コイルを積載する工程と、
前記一対のクレードルロールを回転させて、前記コイルを巻き解く工程と、を含み、
前記一対のクレードルロールのいずれか一方又は両方は、両端部に比して中央部が凹んだロールプロフィールを有することを特徴とする、コイル巻き解き方法。
【請求項5】
前記ロールプロフィールの凹部の側面視勾配は、前記コイルのクラウンプロフィールの側面視勾配より大きいことを特徴とする、請求項4に記載のコイル巻き解き方法。
【請求項6】
前記ロールプロフィールの側面視形状は、矩形、初等関数又は矩形と初等関数の組み合わせであることを特徴とする、請求項4又は5に記載のコイル巻き解き方法。
発明の詳細な説明
【技術分野】
【0001】
本発明は、一対のクレードルロールを用いたコイルの巻き解き装置及び当該コイルの巻き解き方法に関する。
続きを表示(約 1,600 文字)
【背景技術】
【0002】
鋼帯(帯状鋼板)の連続処理ラインにおいては、コイル状に巻かれた鋼帯がペイオフリールにより払い出され、当該鋼帯に対して連続的に所定の処理が行われる。かかる鋼帯の連続処理を安定して行うためには、コイルを適切に巻き解いて鋼帯を払い出すことが重要である。そのため、コイルの巻き解き方法については、従来から種々の方法が創案されている。
【0003】
例えば、特許文献1に開示されたコイルの巻き戻し方法では、オープナにより、ペイオフリールに装着されたコイルの先端部をオープナにより口出す。この際、巻き戻された鋼帯の腰折れを防止するために使用されるプレッシャーロールを用いて、オープナにより口出しされたコイルの先端部の巻き癖を矯正する。
【0004】
また例えば、特許文献2に開示されたコイルの巻き戻し方法では、特許文献1に開示された方法と同様に、プレッシャーロールを用いて、オープナにより口出しされたコイルの先端部の巻き癖を矯正する。さらに特許文献2に開示された方法において、オープナは、コイルの先端部の口出しの後、ペイオフリールの回転によるコイルの送り速度に同調して、ペイオフリールから離反する。
【0005】
また例えば、特許文献3に開示された鋼帯の巻出し装置では、コイル外周を押えロールで押圧した後、押えロールの押圧力を下げてサイドガイドを鋼帯の幅方向両端に接触させ、ペイオフリールから鋼帯を払い出す。かかる場合、鋼帯の上方変位が押えロールで規制され、幅方向変位がサイドガイドで規制されることにより、ペイオフリールから払い出された鋼帯の走行状態の安定化を図っている。
【先行技術文献】
【特許文献】
【0006】
特許第5212191号公報
特許第5435121号公報
特開2003-266121号公報
【発明の概要】
【発明が解決しようとする課題】
【0007】
ここで、連続処理ラインにおいて、コイルからの鋼帯の払い出しは通常、上述したようにペイオフリールによって行われるが、コイルを巻き解く際、ハンドリングタイムを短縮してスループットを向上させるため、コイルをペイオフリールに挿入する前にコイルの先端部の払い出しを実施する場合がある。具体的には、一対のロール(以下、「クレードルロール」という。)にコイルを積載した状態で、クレードルロールを回転させることによりコイルを回転させ、当該コイルを巻き解く。
【0008】
かかる場合、コイルの回転によって、コイルとクレードルロールのスキュー(微小クロス)が生じる場合がある。そうすると、このスキューによるスラスト力でコイルが軸方向に移動する。コイルが移動してクレードルロール上でコイルずれが発生すると、コイルをペイオフリールに挿入することが困難になる。さらには、クレードルロール上でコイルが倒れ、設備の損壊に至る可能性もある。
【0009】
コイルずれの主たる要因としては、クレードルロールの設備不良が挙げられる。しかしながら、クレードルロールの設備不良は、その性質上、改善するのが困難である。なお、コイルずれの要因の詳細については後述する。
【0010】
さらに、コイルずれを抑制するためには、コイルの回転量を小さくすればよいが、連続処理ラインにおける設備の配置に応じて、コイルの先端部における鋼帯の払い出し量に制約が生じ、コイルの回転量の制御には限界がある。例えば、コイルと、連続処理ラインの上流側設備との距離が大きい場合、コイルの回転量を小さく抑えるのは困難である。換言すれば、コイルずれを抑制することは、連続処理ラインの構成の制約にもつながるといった潜在的な課題もある。
(【0011】以降は省略されています)
この特許をJ-PlatPat(特許庁公式サイト)で参照する
関連特許
日本製鉄株式会社
鋳片
1日前
日本製鉄株式会社
線材
1か月前
日本製鉄株式会社
棒鋼
9日前
日本製鉄株式会社
棒鋼
9日前
日本製鉄株式会社
剪断機
2か月前
日本製鉄株式会社
ボルト
2か月前
日本製鉄株式会社
床構造
2か月前
日本製鉄株式会社
床構造
2か月前
日本製鉄株式会社
鋼部品
9日前
日本製鉄株式会社
鋼部品
1か月前
日本製鉄株式会社
鋼部品
1か月前
日本製鉄株式会社
溶接継手
1か月前
日本製鉄株式会社
溶接継手
15日前
日本製鉄株式会社
橋脚構造
1か月前
日本製鉄株式会社
構造部材
2か月前
日本製鉄株式会社
腐食センサ
1か月前
日本製鉄株式会社
鍛鋼ロール
1か月前
日本製鉄株式会社
耐火構造物
2か月前
日本製鉄株式会社
鍛鋼ロール
1か月前
日本製鉄株式会社
耐火構造物
2か月前
日本製鉄株式会社
耐火構造物
2か月前
日本製鉄株式会社
管理システム
1か月前
日本製鉄株式会社
表面処理鋼材
1日前
日本製鉄株式会社
学習システム
1か月前
日本製鉄株式会社
転炉精錬方法
2か月前
日本製鉄株式会社
高Ni合金鋼
1か月前
日本製鉄株式会社
高Ni合金鋼
1か月前
日本製鉄株式会社
溶鉄の製造方法
1か月前
日本製鉄株式会社
溶鉄の製造方法
1か月前
日本製鉄株式会社
高炉の操業方法
1か月前
日本製鉄株式会社
原油油槽用鋼材
1か月前
日本製鉄株式会社
溶鉄の製造方法
1か月前
日本製鉄株式会社
高炉の操業方法
2か月前
日本製鉄株式会社
機械構造用部品
10日前
日本製鉄株式会社
スラグの処理方法
1か月前
日本製鉄株式会社
鋼の連続鋳造方法
1か月前
続きを見る
他の特許を見る