TOP
|
特許
|
意匠
|
商標
特許ウォッチ
Twitter
他の特許を見る
10個以上の画像は省略されています。
公開番号
2025173062
公報種別
公開特許公報(A)
公開日
2025-11-27
出願番号
2024078403
出願日
2024-05-14
発明の名称
PTP包装機用ガイドレール
出願人
沢井製薬株式会社
,
株式会社ミューチュアル
代理人
弁理士法人高橋・林アンドパートナーズ
主分類
B65B
9/04 20060101AFI20251119BHJP(運搬;包装;貯蔵;薄板状または線条材料の取扱い)
要約
【課題】交換する際の負担を軽くするとともにコンパクトに保管可能なPTP包装機用のガイドレールを提供すること。
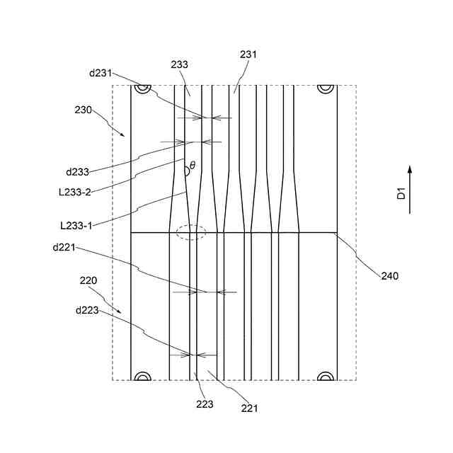
【解決手段】PTP包装機10用ガイドレール200は、第1方向に沿って固定して設けられた第1溝部を有する第1ガイドレール部材と、前記第1溝部に着脱可能に配置され、前記第1方向に沿って延伸する複数の第2溝部と、隣接する第2溝部の間に設けられる第1ガイド部と、を有する第2ガイドレール部材と、前記第1溝部に前記第2ガイドレール部材に連結して着脱可能に配置され、前記第1方向に沿って延伸し前記第2溝部に対応するように設けられる複数の第3溝部と、隣接する第3溝部の間に設けられる第2ガイド部と、を有する第3ガイドレール部材と、を含み、前記第3溝部の幅は、前記第2溝部の幅と異なる。
【選択図】図1
特許請求の範囲
【請求項1】
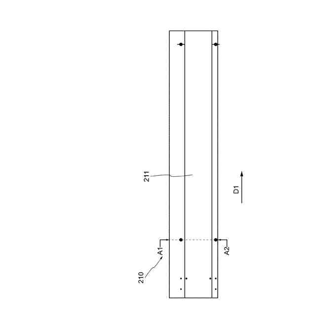
第1方向に沿って固定して設けられた第1溝部を有する第1ガイドレール部材と、
前記第1溝部に脱着可能に配置され、前記第1方向に沿って延伸する複数の第2溝部と、隣接する第2溝部の間に設けられる第1ガイド部と、を有する第2ガイドレール部材と、
前記第1溝部に前記第2ガイドレール部材に連結して脱着可能に配置され、前記第1方向に沿って延伸し前記第2溝部に対応するように設けられる複数の第3溝部と、隣接する第3溝部の間に設けられる第2ガイド部と、を有する第3ガイドレール部材と、を含み、
前記第3溝部の幅は、前記第2溝部の幅と異なる、
PTP包装機用ガイドレール。
続きを表示(約 240 文字)
【請求項2】
前記第3溝部の幅は、前記第2溝部の幅より小さい、
請求項1に記載のPTP包装機用ガイドレール。
【請求項3】
平面視において、前記第2ガイド部は、端部においてテーパー形状を有する、
請求項2に記載のPTP包装機用ガイドレール。
【請求項4】
平面視において、前記第2ガイド部のうち前記第1ガイド部と連結する部分の幅は、前記第1ガイド部の幅と略同一である、
請求項3に記載のPTP包装機用ガイドレール。
発明の詳細な説明
【技術分野】
【0001】
本発明は、PTP包装機用ガイドレールに関する。
続きを表示(約 1,800 文字)
【背景技術】
【0002】
一般に、医薬品等の分野において用いられるブリスタシートとしてPTP(Press Through Packing)シートが知られている。PTPシートは、錠剤やカプセルが収容されるポケット部を有する容器フィルムと、その容器フィルムに対しポケット部の開口側を密封するように取着される蓋材とを備えている。
【0003】
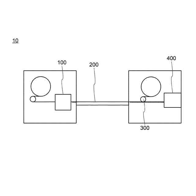
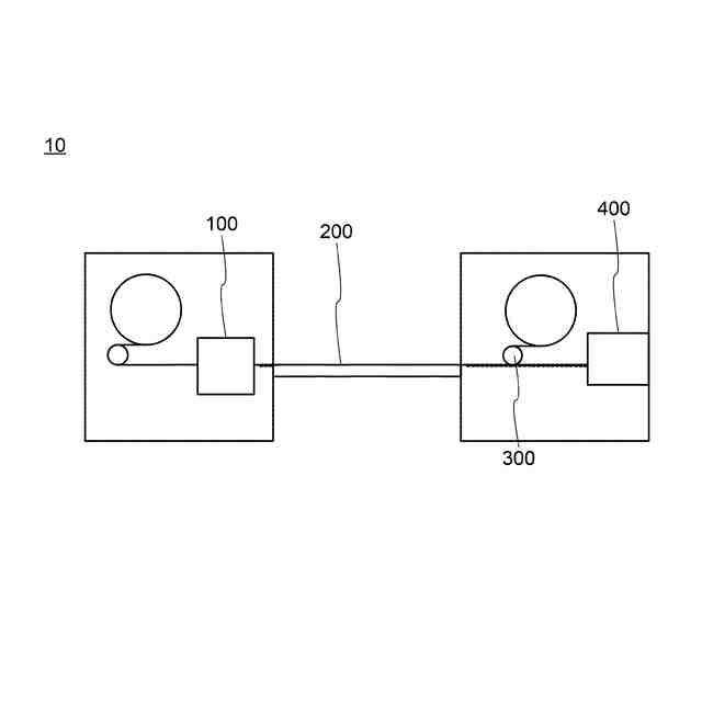
PTPシートを製造するためのPTP包装機は、搬送される帯状の容器フィルムに対しポケット部を成型するポケット部成型手段、該ポケット部に錠剤やカプセルを充填する充填手段、ポケット部の開口側を密封するように容器フィルムに対し帯状の蓋材を熱溶着する接着手段、容器フィルム及び蓋材からなる帯状のPTPフィルムをPTPシート単位に切断する切断手段などを備えている。特許文献1には、PTP包装機の装置構成が開示されている。
【先行技術文献】
【特許文献】
【0004】
特開2020-036672号公報
【発明の概要】
【発明が解決しようとする課題】
【0005】
従来のPTP包装機の場合、錠剤やカプセルの形状やサイズに合わせた金型を各工程で使用することにより、容器フィルムの成型、錠剤やカプセルの充填、蓋材の接着、PTPシートの切断もすべて途切れなく、同一形状および同一サイズの錠剤やカプセル剤の包装を過不足なく確実に、行うことができる。
【0006】
しかしながら、多品種の錠剤やカプセルの包装を行う場合、錠剤やカプセルの形状やサイズごとに最適な大きさのポケットを成形しうる金型を用意し、都度交換する必要がある。錠剤やカプセルの充填工程においては、錠剤やカプセルを充填するポケットが成形された容器フィルムに、錠剤やカプセルを充填し、容器フィルムと蓋材を熱溶着する接着工程に搬送するためのガイドレールを、溝の幅が錠剤やカプセルの形状やサイズに適切なものに交換する必要がある。ガイドレールは、容器フィルムの進行方向に対して垂直方向の位置を固定し、容器フィルムをずれないように進行させる役割があり、溝の幅が錠剤やカプセルの形状やサイズに適切でないと容器フィルムがずれてしまい、接着工程において容器フィルムのポケットと錠剤やカプセルが潰れるなど正しく封入することができない。ガイドレールの交換作業は、ガイドレールが金属材料(鉄、ステンレス鋼またはアルミニウム)で形成されているため非常に重く、交換する作業者には肉体的な負担がかかる。また、錠剤やカプセルを過不足なく充填させるためには、錠剤やカプセルは充填されるポケットに1錠(カプセル)ずつ供給されなければならず、ガイドレールの溝に錠剤やカプセルを1列に整列させる必要があるため、ガイドレールはある程度長く設ける必要がある。そのため、錠剤やカプセルの形状やサイズ(直径、あるいは短径)に適した溝の幅を有するガイドレールを準備する場合、保管するスペースを十分に確保しなければならない。
【0007】
本発明の一実施形態は、交換する際の負担を軽くするとともにコンパクトに保管可能なPTP包装機用のガイドレールを提供することを目的の一つとする。
【課題を解決するための手段】
【0008】
本発明の一実施形態によると、第1方向に沿って固定して設けられた第1溝部を有する第1ガイドレール部材と、前記第1溝部に脱着可能に配置され、前記第1方向に沿って延伸する複数の第2溝部と、隣接する第2溝部の間に設けられる第1ガイド部と、を有する第2ガイドレール部材と、前記第1溝部に前記第2ガイドレール部材に連結して脱着可能に配置され、前記第1方向に沿って延伸し前記第2溝部に対応するように設けられる複数の第3溝部と、隣接する第3溝部の間に設けられる第2ガイド部と、を有する第3ガイドレール部材と、を含み、前記第3溝部の幅は、前記第2溝部の幅と異なるPTP包装機用ガイドレールが提供される。
【0009】
上記PTP包装機用ガイドレールにおいて、前記第3溝部の幅は、前記第2溝部の幅より小さくてもよい。
【0010】
上記PTP包装機用ガイドレールにおいて、平面視において、前記第2ガイド部は、端部においてテーパー形状を有してもよい。
(【0011】以降は省略されています)
この特許をJ-PlatPat(特許庁公式サイト)で参照する
関連特許
沢井製薬株式会社
医薬組成物
4日前
沢井製薬株式会社
錠剤成形性の評価方法
1か月前
沢井製薬株式会社
PTP包装機用ガイドレール
12日前
沢井製薬株式会社
ラサギリンメシル酸塩含有製剤
4日前
個人
収容箱
4か月前
個人
束ね具
28日前
個人
コンベア
6か月前
個人
段ボール箱
8か月前
個人
容器
10か月前
個人
ゴミ収集器
8か月前
個人
段ボール箱
8か月前
個人
角筒状構造体
7か月前
個人
土嚢運搬器具
9か月前
個人
楽ちんハンド
6か月前
個人
バンド
3か月前
個人
宅配システム
8か月前
個人
テープ引出機
28日前
個人
閉塞装置
11か月前
個人
棒状体収容容器
1か月前
個人
コード類収納具
9か月前
個人
包装容器
2か月前
個人
廃棄物収容容器
4か月前
個人
お薬の締結装置
7か月前
株式会社和気
包装用箱
10か月前
個人
積み重ね用補助具
4か月前
個人
蓋閉止構造
5か月前
株式会社コロナ
梱包材
7か月前
個人
蓋閉止構造
5か月前
株式会社バンダイ
物品
2か月前
株式会社和気
包装用箱
1か月前
個人
把手付米袋
6か月前
個人
貯蔵サイロ
8か月前
個人
ゴミ処理機
10か月前
株式会社KY7
封止装置
4か月前
三甲株式会社
蓋体
9か月前
株式会社ナベル
検査装置
1か月前
続きを見る
他の特許を見る