TOP
|
特許
|
意匠
|
商標
特許ウォッチ
Twitter
他の特許を見る
公開番号
2025172975
公報種別
公開特許公報(A)
公開日
2025-11-26
出願番号
2025152273,2021210265
出願日
2025-09-12,2021-07-01
発明の名称
伝動ベルト
出願人
バンドー化学株式会社
代理人
弁理士法人前田特許事務所
主分類
F16G
1/28 20060101AFI20251118BHJP(機械要素または単位;機械または装置の効果的機能を生じ維持するための一般的手段)
要約
【課題】耐久性に優れる伝動ベルトを提供する。
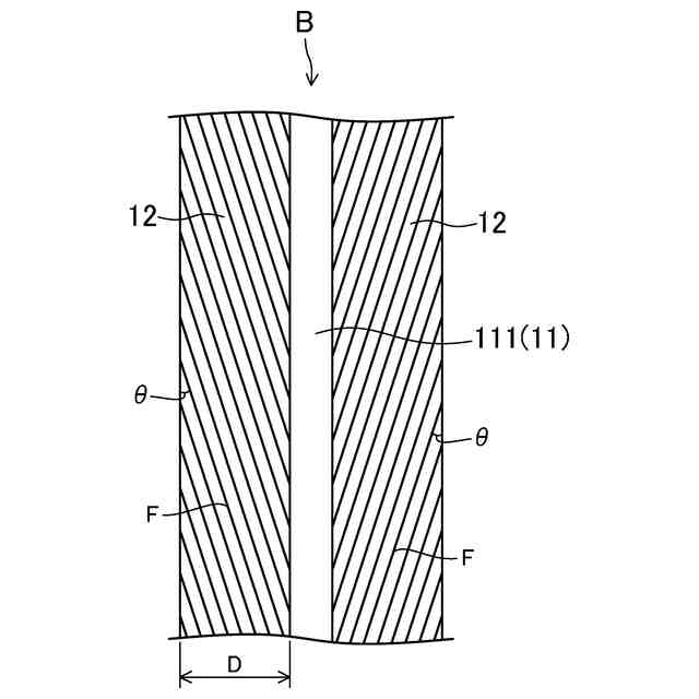
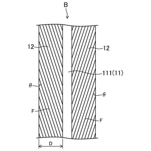
【解決手段】伝動ベルト(B)は、エラストマー製のベルト本体(11)と、そのベルト本体(11)に埋設されるとともにベルト幅方向にピッチを有する螺旋を形成するように設けられたカーボン繊維製の心線(12)とを備える。心線(12)を、その長さ方向に直交する側方から見たとき、心線(12)を構成するカーボン繊維のフィラメント束における最外部のフィラメント(F)の心線(12)の長さ方向に対してなす角度θが8°以上20°以下である。心線(12)は、カーボン繊維のフィラメント束を一方向に撚った片撚り糸である。片撚り糸の心線(12)は、それを構成するカーボン繊維のフィラメントの総本数が24000本未満であり、且つその長さ10cm当たりの撚り数が5.0回/10cm以上11.0回/10cm以下である。
【選択図】図2
特許請求の範囲
【請求項1】
エラストマー製のベルト本体と、前記ベルト本体に埋設されるとともにベルト幅方向にピッチを有する螺旋を形成するように設けられたカーボン繊維製の心線と、を備えた伝動ベルトであって、
前記心線を、その長さ方向に直交する側方から見たとき、前記心線を構成するカーボン繊維のフィラメント束における最外部のフィラメントの前記心線の長さ方向に対してなす角度が8°以上20°以下であり、
前記心線が前記カーボン繊維のフィラメント束を一方向に撚った片撚り糸であり、
前記片撚り糸の前記心線は、それを構成する前記カーボン繊維の前記フィラメントの総本数が24000本未満であり、且つその長さ10cm当たりの撚り数が5.0回/10cm以上11.0回/10cm以下である伝動ベルト。
続きを表示(約 300 文字)
【請求項2】
請求項1に記載された伝動ベルトにおいて、
前記心線を構成するカーボン繊維のフィラメント束における最外部のフィラメントの前記心線の長さ方向に対してなす角度が9°以上19°以下であり、
前記片撚り糸の前記心線は、それを構成する前記カーボン繊維の前記フィラメントの総本数が12000本であり、且つその長さ10cm当たりの撚り数が6回/10cm以上10回/10cm以下である伝動ベルト。
【請求項3】
請求項1に記載された伝動ベルトにおいて、
前記心線のベルト幅10mm当たりの本数が3本/10mm以上16本/10mm以下である伝動ベルト。
発明の詳細な説明
【技術分野】
【0001】
本発明は、伝動ベルトに関する。
続きを表示(約 1,400 文字)
【背景技術】
【0002】
カーボン繊維製の心線を用いた伝動ベルトが知られている。例えば、特許文献1には、ゴム製のベルト本体にカーボン繊維製の心線が埋設された歯付ベルトが開示されている。
【先行技術文献】
【特許文献】
【0003】
特開2005-24075号公報
【発明の概要】
【0004】
本発明は、エラストマー製のベルト本体と、前記ベルト本体に埋設されるとともにベルト幅方向にピッチを有する螺旋を形成するように設けられたカーボン繊維製の心線とを備えた伝動ベルトであって、前記心線を、その長さ方向に直交する側方から見たとき、前記心線を構成するカーボン繊維のフィラメント束における最外部のフィラメントの前記心線の長さ方向に対してなす角度が8°以上20°以下であり、前記心線が前記カーボン繊維のフィラメント束を一方向に撚った片撚り糸であり、前記片撚り糸の前記心線は、それを構成する前記カーボン繊維の前記フィラメントの総本数が24000本未満であり、且つその長さ10cm当たりの撚り数が5.0回/10cm以上11.0回/10cm以下である。
【図面の簡単な説明】
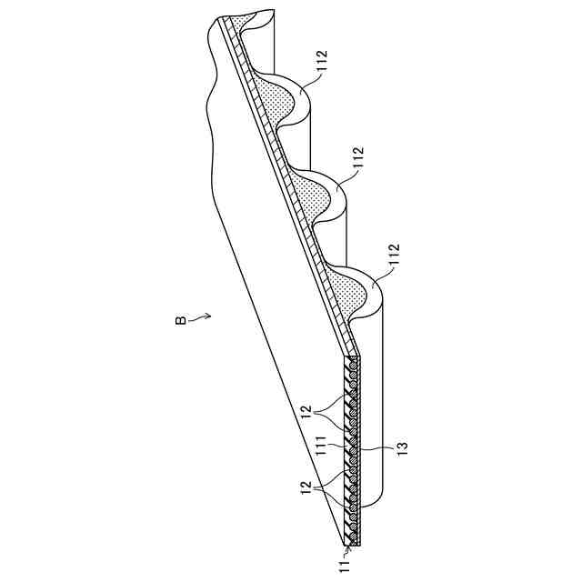
【0005】
実施形態に係る歯付ベルトの一片の斜視図である。
実施形態に係る歯付ベルトの一部分の縦断面図である。
歯付ベルト本体に埋設された心線を長さ方向に直交する側方から見たときの正面図である。
実施形態に係る歯付ベルトの製造方法の第1の説明図である。
実施形態に係る歯付ベルトの製造方法の第2の説明図である。
実施形態に係る歯付ベルトの製造方法の第3の説明図である。
ベルト走行試験機のプーリレイアウト図である。
【発明を実施するための形態】
【0006】
以下、実施形態について図面に基づいて詳細に説明する。
【0007】
図1A及びBは、実施形態に係る歯付ベルトBを示す。実施形態に係る歯付ベルトBは、噛み合い伝動ベルトであり、例えば、工作機械、印刷機械、繊維機械、射出成形機等の高負荷伝動用途に好適に用いられる。実施形態に係る歯付ベルトBのベルト長さは、例えば500mm以上3000mm以下である。ベルト幅は、例えば10mm以上200mm以下である。ベルト厚さ(最大)は、例えば3mm以上20mm以下である。
【0008】
実施形態に係る歯付ベルトBは、ポリウレタン樹脂で形成されたエラストマー製のエンドレスの歯付ベルト本体11を備える。歯付ベルト本体11は、断面横長矩形の平帯部111と、その内周側に一体に設けられた複数の歯部112とを有する。複数の歯部112は、ベルト長さ方向に一定ピッチで間隔をおいて設けられている。
【0009】
歯部112の側面視の歯形としては、例えば、両側が外側に円弧状に膨出したSTS歯形や台形歯形等が挙げられる。歯部112の歯数は、例えば30個以上400個以下である。歯幅(ベルト長さ方向の最大寸法)は、例えば2mm以上10mm以下である。歯高さは、例えば2mm以上8mm以下である。配設ピッチは、例えば8mm以上14mm以下である。
【0010】
歯付ベルト本体11を形成するポリウレタン樹脂は、ウレタンプレポリマーに、硬化剤、可塑剤等の配合剤が配合されたウレタン組成物が加熱及び加圧されて硬化したものである。
(【0011】以降は省略されています)
この特許をJ-PlatPat(特許庁公式サイト)で参照する
関連特許
バンドー化学株式会社
プロファイル付きベルト
1か月前
バンドー化学株式会社
ワイパーブレードラバー
1か月前
バンドー化学株式会社
ワイパーブレードラバー及びその製造方法
1日前
バンドー化学株式会社
伝動ベルト
3日前
バンドー化学株式会社
2アーム式オートテンショナ用ストッパ、それを備えた2アーム式オートテンショナ、及び2アーム式オートテンショナ用ストッパの成形方法
1日前
個人
留め具
1か月前
個人
鍋虫ねじ
3か月前
個人
ホース保持具
7か月前
個人
紛体用仕切弁
3か月前
個人
回転伝達機構
3か月前
個人
差動歯車用歯形
5か月前
個人
給排気装置
1か月前
個人
ジョイント
2か月前
個人
ナット
2か月前
個人
ナット
24日前
個人
地震の揺れ回避装置
4か月前
株式会社不二工機
電磁弁
5か月前
株式会社不二工機
電磁弁
6か月前
個人
ゲート弁バルブ
9日前
個人
吐出量監視装置
2か月前
カヤバ株式会社
ダンパ
5か月前
カヤバ株式会社
ダンパ
5か月前
カヤバ株式会社
緩衝器
4か月前
兼工業株式会社
バルブ
25日前
柿沼金属精機株式会社
分岐管
3か月前
カヤバ株式会社
緩衝器
4か月前
カヤバ株式会社
緩衝器
1か月前
株式会社タカギ
水栓装置
3か月前
株式会社フジキン
ボールバルブ
5か月前
個人
固着具と固着具の固定方法
7か月前
株式会社ニフコ
クリップ
9日前
個人
固着具と固着具の固定方法
6か月前
株式会社不二工機
電磁弁
3か月前
個人
固着具と固着具の固定方法
6か月前
個人
固着具と固着具の固定方法
6か月前
株式会社三五
ドライブシャフト
1か月前
続きを見る
他の特許を見る