TOP
|
特許
|
意匠
|
商標
特許ウォッチ
Twitter
他の特許を見る
公開番号
2025172889
公報種別
公開特許公報(A)
公開日
2025-11-26
出願番号
2025144870,2022508601
出願日
2025-09-01,2021-03-15
発明の名称
ソフトウェア更新装置、ソフトウェア更新方法及びソフトウェア更新処理プログラム
出願人
日産自動車株式会社
代理人
弁理士法人後藤特許事務所
主分類
B60R
16/02 20060101AFI20251118BHJP(車両一般)
要約
【課題】車両に搭載された機器を動作させるソフトウェアの更新処理を実行するソフトウェア更新装置、ソフトウェア更新方法及びソフトウェア更新処理プログラムを提供する。
【解決手段】ソフトウェア更新装置は、ソフトウェアを取得し、当該ソフトウェアを機器に適用することで機器を制御するコントローラを備える。コントローラは、取得した第1のソフトウェアを記憶する第1記憶部と、取得した第2のソフトウェアを記憶する第2記憶部と、を有する。そして、コントローラは、車両のパワートレインにより駆動力が出力されない状態において、機器に適用するソフトウェアを第1のソフトウェアから第2のソフトウェアに変更することでソフトウェアの更新処理を実行する。
【選択図】図2
特許請求の範囲
【請求項1】
車両に搭載された機器を動作させるソフトウェアの更新処理を実行するソフトウェア更新装置であって、
前記ソフトウェアを取得し、当該ソフトウェアを前記機器に適用することで前記機器を制御するコントローラを備え、
前記コントローラは、
取得した第1のソフトウェアを記憶する第1記憶部と、
取得した第2のソフトウェアを記憶する第2記憶部と、を有し、
前記車両のパワートレインにより駆動力が出力されない状態において、前記機器に適用するソフトウェアを前記第1のソフトウェアから前記第2のソフトウェアに変更することで前記ソフトウェアの更新処理を実行する、
ソフトウェア更新装置。
続きを表示(約 1,000 文字)
【請求項2】
請求項1に記載のソフトウェア更新装置であって、
前記車両のパワートレインの駆動力出力状態を検知する検知部をさらに備え、
前記コントローラは、前記検知部が前記車両のパワートレインにより駆動力が出力されない状態であることを検知した場合に、前記ソフトウェアの更新処理の実行を許可する、
ソフトウェア更新装置。
【請求項3】
請求項1または2に記載のソフトウェア更新装置であって、
前記機器には前記車両のパワートレインが含まれ、
前記コントローラは、前記ソフトウェアの更新処理実行中は、前記車両のパワートレインにより駆動力が出力されることを禁止する、
ソフトウェア更新装置。
【請求項4】
請求項3に記載のソフトウェア更新装置であって、
前記コントローラは、前記ソフトウェアの更新処理が完了した場合、前記車両のパワートレインにより駆動力が出力されることを許可する、
ソフトウェア更新装置。
【請求項5】
車両に搭載された機器を動作させるソフトウェアの更新方法であって、
第1記憶部に記憶されている第1のソフトウェアを前記機器に適用する工程と、
第2のソフトウェアを取得し、前記第2のソフトウェアを第2記憶部に記憶する工程と、
前記車両のパワートレインにより駆動力が出力されない状態において、前記機器に適用するソフトウェアを前記第1のソフトウェアから前記第2のソフトウェアに変更することで前記ソフトウェアの更新処理を実行する工程と、を含む、
ソフトウェア更新方法。
【請求項6】
車両に搭載された機器を動作させるソフトウェアの更新処理を実現するためのソフトウェア更新処理プログラムであって、
第1記憶部に記憶されている第1のソフトウェアを前記機器に適用することと、
第2のソフトウェアを取得し、前記第2のソフトウェアを第2記憶部に記憶することと、
前記車両のパワートレインにより駆動力が出力されない状態において、前記機器に適用するソフトウェアを前記第1のソフトウェアから前記第2のソフトウェアに変更することで前記ソフトウェアの更新処理を実行することと、
をコントローラに実現させるためのソフトウェア更新処理プログラム。
発明の詳細な説明
【技術分野】
【0001】
本発明は、ソフトウェア更新装置、ソフトウェア更新方法及びソフトウェア更新処理プログラムに関する。
続きを表示(約 1,400 文字)
【背景技術】
【0002】
従来、車両に搭載されたECU(Electronic Control Unit)のソフトウェアを有線により更新する際、バッテリ電圧の低下によるバッテリ上がりを防止する為、更新処理中はECUを外部バッテリに接続することが必須となっていた。
【0003】
これに対し、JP2010-19175Aには、無線通信により、ECUのプログラム(ソフトウェア)書き換え対象である車両を特定し、書き込みデータの送受信及び書き込み作業を行うデータ書き込みシステムが開示されている。このデータ書き込みシステムでは、データ書き込み作業の途中でバッテリが上がらないように、エンジンが運転状態であることを、データ書き込みを行わせる前提条件としている。
【発明の概要】
【0004】
ECUのソフトウェアを更新している間、ECUの制御対象である機器の機能は停止される。従って、特許文献1に記載の技術のように、ソフトウェアの更新中にエンジン等が運転状態であると、例えばブレーキ機能が停止している場合等において、思わぬ事故につながる虞がある。従って、ソフトウェア更新中はエンジン等のパワートレインの動作を停止し、エンジン等が誤動作しないようにすることが必要である。
【0005】
しかしながら、ソフトウェア更新の為に長時間エンジンを停止していると、バッテリが上がる虞がある。バッテリ上がり防止の為に、外部バッテリに接続しながらソフトウェアの更新を行うことも可能であるが、強電バッテリのような設備が必要となり、利便性が低下する。
【0006】
本発明は、上記課題に鑑みたものであり、ソフトウェアの更新中におけるエンジン等の誤動作を防止しつつ、更新作業時の利便性が向上されたソフトウェア更新装置、ソフトウェア更新方法及びソフトウェア更新処理プログラムを提供することを目的とする。
【課題を解決するための手段】
【0007】
本発明の一態様によれば、車両に搭載された機器を動作させるソフトウェアの更新処理を実行するソフトウェア更新装置が提供される。このソフトウェア更新装置は、ソフトウェアを取得し、当該ソフトウェアを機器に適用することで機器を制御するコントローラを備える。コントローラは、取得した第1のソフトウェアを記憶する第1記憶部と、取得した第2のソフトウェアを記憶する第2記憶部と、有する。そして、コントローラは、車両のパワートレインにより駆動力が出力されない状態において、機器に適用するソフトウェアを第1のソフトウェアから第2のソフトウェアに変更することでソフトウェアの更新処理を実行する。
【図面の簡単な説明】
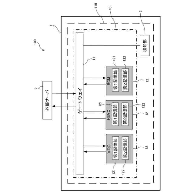
【0008】
図1は、本発明の一実施形態に係るソフトウェア更新システムの概略構成図である。
図2は、本発明の一実施形態に係るソフトウェア更新制御を説明するフローチャートである。
【発明を実施するための形態】
【0009】
以下、図面等を参照しながら、本発明の実施形態について説明する。
【0010】
本発明の一実施形態について、図1及び図2を参照して説明する。図1は、本発明の実施形態に係るソフトウェア更新システム100及びソフトウェア更新装置110の概略構成図である。
(【0011】以降は省略されています)
この特許をJ-PlatPat(特許庁公式サイト)で参照する
関連特許
日産自動車株式会社
吸気装置
3日前
日産自動車株式会社
保持機構
1か月前
日産自動車株式会社
内燃機関
22日前
日産自動車株式会社
保持機構
1か月前
日産自動車株式会社
二次電池
1か月前
日産自動車株式会社
二次電池
1か月前
日産自動車株式会社
電子機器
9日前
日産自動車株式会社
電動車両
25日前
日産自動車株式会社
積層型電池
1か月前
日産自動車株式会社
面圧付与機構
1か月前
日産自動車株式会社
面圧付与機構
1か月前
日産自動車株式会社
電池モジュール
1か月前
日産自動車株式会社
ロータシャフト
17日前
日産自動車株式会社
電池モジュール
1日前
日産自動車株式会社
ロータシャフト
17日前
日産自動車株式会社
電池モジュール
23日前
日産自動車株式会社
車両用排気部構造
22日前
日産自動車株式会社
リチウム二次電池
22日前
日産自動車株式会社
リチウム二次電池
1か月前
日産自動車株式会社
塗装方法及び自動車
24日前
日産自動車株式会社
エアレスタイヤ構造
9日前
日産自動車株式会社
全固体電池システム
1日前
日産自動車株式会社
支援方法及び支援装置
3日前
日産自動車株式会社
ピックアップトラック
3日前
日産自動車株式会社
ギヤ装置のブリーザ構造
1か月前
日産自動車株式会社
エンジンのアンダカバー
1か月前
日産自動車株式会社
パワー半導体モジュール
1日前
株式会社ニフコ
締結構造
1か月前
日産自動車株式会社
車両用荷室における排熱構造
1か月前
日産自動車株式会社
車両乗り合わせ方法及び装置
2日前
日産自動車株式会社
相乗り可否判定方法及び装置
1か月前
日産自動車株式会社
車両制御装置及び車両制御方法
2日前
日産自動車株式会社
施錠制御方法及び施錠制御装置
1か月前
日産自動車株式会社
配車管理装置及び配車管理方法
1か月前
日産自動車株式会社
車載機能制御方法及び車載端末
1か月前
日産自動車株式会社
運転支援方法及び運転支援装置
1か月前
続きを見る
他の特許を見る