TOP
|
特許
|
意匠
|
商標
特許ウォッチ
Twitter
他の特許を見る
10個以上の画像は省略されています。
公開番号
2025172888
公報種別
公開特許公報(A)
公開日
2025-11-26
出願番号
2025144790,2022187389
出願日
2025-09-01,2021-12-27
発明の名称
ジャケット構造体
出願人
日鉄エンジニアリング株式会社
代理人
個人
,
個人
,
個人
,
個人
,
個人
,
個人
,
個人
,
個人
主分類
F03D
13/25 20160101AFI20251118BHJP(液体用機械または機関;風力原動機,ばね原動機,重力原動機;他類に属さない機械動力または反動推進力を発生するもの)
要約
【課題】洋上風車を支持するジャケット構造体及び基礎杭に付加される転倒モーメント、ねじりモーメント及び軸力等に対して十分な強度を確保できる。
【解決手段】 ジャケット構造体100は、複数のレグ20と、複数のレグ20のうちの1つに複数の杭を接合する接合部材42と、を備え、接合部材42は、複数のレグ20のうちの1つに設けられた複数のスリーブ41を備え、複数のスリーブ41のそれぞれは、複数の杭のうち複数のレグ20のうちの1つに対応する杭が挿入され、洋上風車が設置されるトランジションピース10を備える。
【選択図】図1
特許請求の範囲
【請求項1】
複数のレグと、
前記複数のレグのうちの1つに複数の杭を接合する接合部材と、を備え、
前記接合部材は、前記複数のレグのうちの1つに設けられた複数のスリーブを備え、
前記複数のスリーブのそれぞれは、前記複数の杭のうち前記複数のレグのうちの1つに対応する杭が挿入され、
洋上風車が設置されるトランジションピースを備える、ことを特徴とするジャケット構造体。
続きを表示(約 560 文字)
【請求項2】
前記トランジションピースは、鉛直方向に沿って見て、前記接合部材と重複しない、
ことを特徴とする請求項1に記載のジャケット構造体。
【請求項3】
前記トランジションピースは、鉛直方向に沿って見て、前記トランジションピースの外側に突出する形状であり、
前記接合部材は、鉛直方向に沿って見て、前記トランジションピースのうち外側に突出する部分が突出する方向の延長線上に配置される、
ことを特徴とする請求項1又は2に記載のジャケット構造体。
【請求項4】
前記トランジションピースは、鉛直方向に沿って見て、十字状である、
ことを特徴とする請求項3に記載のジャケット構造体。
【請求項5】
前記トランジションピースのうち外側に突出する部分に、前記レグが配置され、
前記接合部材は、鉛直方向に沿って見て、前記トランジションピースのうち外側に突出する部分から延びる前記レグの先端部に配置される、
ことを特徴とする請求項3又は4に記載のジャケット構造体。
【請求項6】
前記トランジションピースのうち外側に突出する部分の数と、前記接合部材の数とは同じである、請求項3乃至5のいずれか一項に記載のジャケット構造体。
発明の詳細な説明
【技術分野】
【0001】
本発明は、ジャケット構造体に関する。
続きを表示(約 1,900 文字)
【背景技術】
【0002】
風力発電に用いられる風車等を洋上に配置(洋上風車)するために、海底等に打ち込まれた基礎杭に基礎構造を接続することがある(ジャケット構造体)。
特許文献1では、水中構造体における共振の発生を回避する技術が開示されている。具体的には、固有周期を自由に決定するために、支持部材に充填材を充填した水中構造体が開示されている。
特許文献2では、杭式構造物の撤去作業を容易化するために、鋼管杭と外挿鋼管との間におけるグラウトの充填位置を限定した接合構造物が開示されている。
【先行技術文献】
【特許文献】
【0003】
国際公開第2011/068152号
特開2020-7728号公報
【発明の概要】
【発明が解決しようとする課題】
【0004】
洋上風車が風を受けることによって、洋上風車を支持するジャケット構造体には大きな転倒モーメントが作用する。これにより、ジャケット構造体を支持する基礎杭に対して大きな引抜軸力が作用することがある。このため、引抜支持力の確保の方法が課題である。 洋上風車は風向に合わせてジャケット構造体の上で向きを変えることがある。つまり、ジャケット構造体との相対的な位置関係が変動する。このため、上述の転倒モーメントに加えて、ジャケット構造体や基礎杭にねじりモーメントや軸力が発生することがある。このように、ジャケット構造体には様々な種類及び方向の荷重が作用する。このため、様々な荷重に対して抵抗できる構造を設計することが課題である。
【0005】
本発明は、前述した事情に鑑みてなされたものであって、洋上風車を支持するジャケット構造体及び基礎杭に付加される転倒モーメント、ねじりモーメント及び軸力等に対して十分な強度を確保できるジャケット構造体を提供することを目的とする。
【課題を解決するための手段】
【0006】
前記課題を解決するために、本発明は以下の手段を提案している。
本発明に係るジャケット構造体は、複数のレグと、前記複数のレグのうちの1つに複数の杭を接合する接合部材と、を備え、前記接合部材は、前記複数のレグのうちの1つに設けられた複数のスリーブを備え、前記複数のスリーブのそれぞれは、前記複数の杭のうち前記複数のレグのうちの1つに対応する杭が挿入され、洋上風車が設置されるトランジションピースを備える。
【発明の効果】
【0007】
本発明によれば、洋上風車を支持するジャケット構造体及び基礎杭に付加される転倒モーメント、ねじりモーメント及び軸力等に対して十分な強度を確保できるジャケット構造体を提供することができる。
【図面の簡単な説明】
【0008】
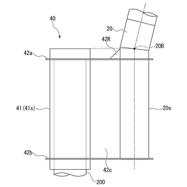
本実施形態に係るジャケット構造体の斜視図である。
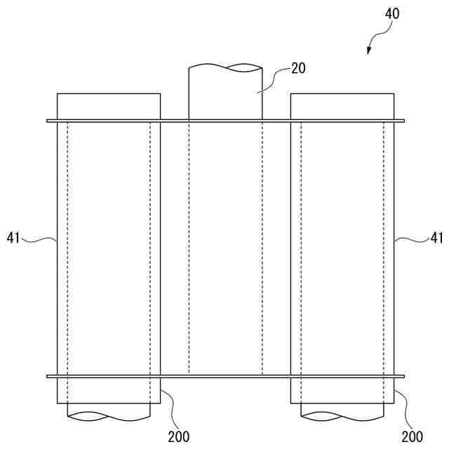
図1に示すジャケット構造体の正面図である。
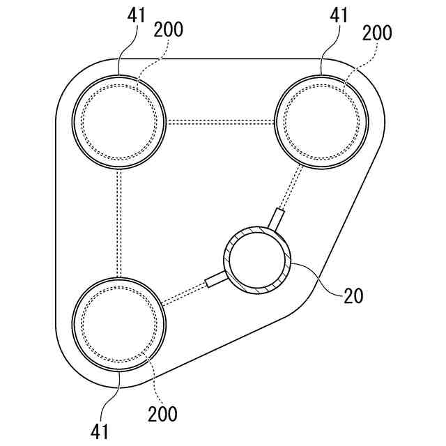
図1に示すジャケット構造体の平面図である。
図1に示すIV部の拡大図である。
接合部材の平面図である。
接合部材においてスリーブの数を3とした変形例である。
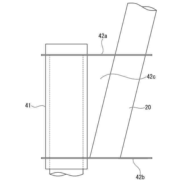
図5に示すVII方向の側面図である。
接合部材においてレグに屈曲部を設けない変形例である。
図5に示すIX方向の側面図である。
スリーブ同士の間に梁部材を設けた第1変形例である。
スリーブ同士の間に梁部材を設けた変形例である。
上方板部材を傾斜させた変形例である。
【発明を実施するための形態】
【0009】
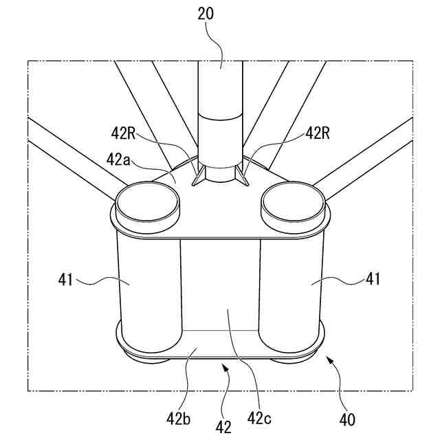
以下、図面を参照し、本発明の一実施形態に係る接合部材40を説明する。
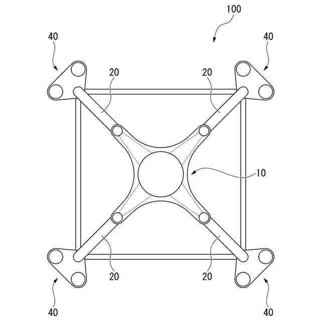
接合部材40は、図1及び図2に示すジャケット構造体100と杭200とを接続する部材である。ジャケット構造体100には、例えば、図2に示すように洋上風車300が設置される。この場合、ジャケット構造体100は、洋上に配置される。杭200は、海底の地盤に打設される。
【0010】
ジャケット構造体100は、トランジションピース10と、レグ20と、ブレース30と、接合部材40と、を含む。
トランジションピース10は、ジャケット構造体100の上端に配置され、洋上風車300の下端が接続される部位である。図3に示すように、トランジションピース10は、平面視において十字状である。トランジションピース10の十字状の各外端には、レグ20が配置される。
(【0011】以降は省略されています)
特許ウォッチbot のツイートを見る
この特許をJ-PlatPat(特許庁公式サイト)で参照する
関連特許
個人
風力発電機
4か月前
個人
磁力スロープ
3か月前
個人
小水力発電器
1か月前
個人
風車用回転翼
4か月前
個人
波力発電装置
4か月前
個人
サボニウス風車
1か月前
個人
折り畳み式風車
4か月前
個人
風力発電装置
3か月前
個人
閉空間推進移動装置
3か月前
東レ株式会社
風車ブレード
3か月前
個人
水力発電用水の循環活動
2か月前
個人
プラズマエンジン
5か月前
個人
水中での上下動による発電
10日前
Orbray株式会社
発電装置
22日前
個人
波受け板を用いた波浪発電装置
1か月前
株式会社 林物産発明研究所
発電装置
2か月前
個人
岸壁などに設置する波力発電装置
1か月前
株式会社高橋監理
浮体式洋上風力発電所
5か月前
株式会社ゲットクリーンエナジー
発電機
3か月前
個人
水車発電と水の循環供給装置
2か月前
個人
上下運動を回転運動に変換する装置。
1か月前
株式会社ライトエンジ
推力発生方法
2か月前
三菱電機株式会社
風力発電システム
2か月前
株式会社リコー
水力発電装置
3か月前
株式会社堤水素研究所
風力発電装置
5か月前
株式会社アイシン
発電装置
3か月前
株式会社大林組
リフトアップ装置
2か月前
株式会社アイシン
発電装置
3か月前
株式会社大林組
リフトアップ装置
1日前
株式会社大林組
リフトアップ装置
2か月前
株式会社大林組
リフトアップ装置
1日前
株式会社酉島製作所
多段式流体機械
1か月前
株式会社ゲットクリーンエナジー
エンジン
5か月前
個人
潮流発電装置および潮流発電方法
5か月前
個人
波力発電ユニット及び波力発電システム
2か月前
株式会社高橋監理
推進装置付き浮体式洋上風力発電所
5か月前
続きを見る
他の特許を見る