TOP
|
特許
|
意匠
|
商標
特許ウォッチ
Twitter
他の特許を見る
10個以上の画像は省略されています。
公開番号
2025172880
公報種別
公開特許公報(A)
公開日
2025-11-26
出願番号
2025142381,2022555084
出願日
2025-08-28,2021-03-12
発明の名称
ウェアラブル自動張力調整デバイス
出願人
ロジャー・ニール・ローブカンプ,ジュニア
,
キース・ソウミラー
代理人
個人
,
個人
,
個人
,
個人
主分類
A61B
5/021 20060101AFI20251118BHJP(医学または獣医学;衛生学)
要約
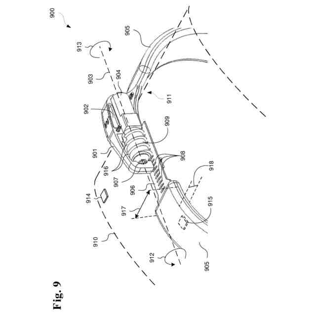
【課題】保持部材にかかる張力を自動的に調整し、それによって物体に圧縮またはその他の力を加えるための装置。
【解決手段】センサが、関与する物体、または環境に関連付けられた変化を感知するために使用されてもよく、保持部材にかかる張力を自動的に調整するために歯車またはプーリなどの回転部材を自動的に回転させるアクチュエータが含まれてもよい。張力の調整は、センサに応答する制御ロジックからの制御信号に基づいて、自動的に、毎秒多数回行われてもよい。
【選択図】図9
特許請求の範囲
【請求項1】
物体にかかる張力を自動的に調整するための自動保持装置において、
前記物体とは分離した別個のものであり、前記物体の周囲に位置づけ可能な保持部材であって、前記物体にかかる張力を増大または減少させるために前記物体に係合するように配置および構成された、保持部材と、
前記物体とは分離した別個のハウジングであって、前記保持部材が取り付けられている、ハウジングと、
回転部材を含む、前記ハウジング内部に取り付けられたアクチュエータであって、前記回転部材が前記保持部材に係合するように位置づけられ、前記回転部材が、前記保持部材にかかる張力を増大させるために第1の方向と、前記保持部材にかかる張力を減少させるために第2の方向とに、回転軸を中心に回転可能である、アクチュエータと、
前記物体に関連付けられた感知パラメータの変化を感知するように配置および構成された少なくとも1つのセンサと、
前記センサからの入力に応答し、前記センサからの前記入力に従って前記アクチュエータを制御するように構成された制御回路であって、前記センサからの入力に基づいて前記保持部材にかかる張力を調整するために前記回転部材を前記第1または第2の方向に回転させるように前記アクチュエータを制御するように構成された、制御回路とを含む、自動保持装置。
続きを表示(約 970 文字)
【請求項2】
請求項1に記載の自動保持装置において、前記回転部材が前記保持部材に係合するように前記ハウジングから外に延び、前記保持部材が前記ハウジングに隣接している、自動保持装置。
【請求項3】
請求項1または2に記載の自動保持装置において、前記回転部材が、前記保持部材に隣接して位置づけられ、前記保持部材内に画定された穴に係合するように配置されたウォーム歯車を含む、自動保持装置。
【請求項4】
請求項1から3のいずれかに記載の自動保持装置において、前記保持部材が剛体であり、厚さよりも幅広であり、前記ウォーム歯車が係合可能な1つまたは複数の穴を画定する、自動保持装置。
【請求項5】
請求項1から4のいずれかに記載の自動保持装置において、前記保持部材の係合部が前記ハウジング内の前記回転部材に係合する、自動保持装置。
【請求項6】
請求項1から5のいずれかに記載の自動保持装置において、前記回転部材がシャフトを含み、前記保持部材の前記係合部が、前記物体にかかる張力を増大または減少させるために前記シャフトの周囲に巻き付き、巻き解く、自動保持装置。
【請求項7】
請求項1から6のいずれかに記載の自動保持装置において、前記保持部材が、平坦な状態と丸まった状態とを有する可撓性基材を含み、前記可撓性基材の前記丸まった状態が前記物体の形状に沿うのに適している、自動保持装置。
【請求項8】
請求項7に記載の自動保持装置において、前記保持部材の第1の端部が前記ハウジングに取り付けられ、前記保持部材の第2の端部が、前記可撓性基材が丸まった状態のときに前記保持部材に選択的に係合可能な、自動保持装置。
【請求項9】
請求項7に記載の自動保持装置において、前記保持装置の係合部が、前記保持部材が前記丸まった状態のときに前記回転部材に自動的に係合するように構成されている、自動保持装置。
【請求項10】
請求項7に記載の自動保持装置において、前記制御回路が、前記保持部材が前記丸まった状態のときに前記保持装置を自動的に作動させるように構成されている、自動保持装置。
(【請求項11】以降は省略されています)
発明の詳細な説明
【技術分野】
【0001】
関連出願の参照
本出願は、2020年3月12日に出願された米国仮特許出願第62/988,508号および2020年4月10日に出願された米国仮特許出願第63/008,031号の利益を主張し、両出願は参照により本明細書に組み込まれる。
続きを表示(約 2,400 文字)
【背景技術】
【0002】
本開示は、物体に加えられる張力を自動的に制御するためのウェアラブルデバイスに関する。場合によっては、物体に加えられる最適張力が物体の動き、物体を基準にしたウェアラブルデバイスの動き、環境要因、または物体自体の状態の態様に依存することがある。多くの場合に、張力は、ストラップを締めること、靴紐を結ぶこと、ワイヤまたはケーブルを「堅く締まる」までねじること、締め付けを加えること、または圧着ケーブルステーなどによって手動で設定されることがある。そのようなシステムは、最適張力レベルを決定することができず、および/または、必要に応じて自動的に張力を調整することができない。そのため、張力レベルが高くなり過ぎる場合があり、したがってテンショナ自体に損傷を与えるか、または過度の張力を加えることにより、または十分に加えないことにより、所定位置に保持されるべき物体に損傷を与える可能性がある。
【発明の概要】
【0003】
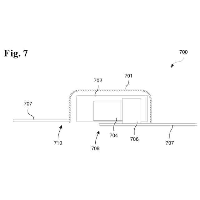
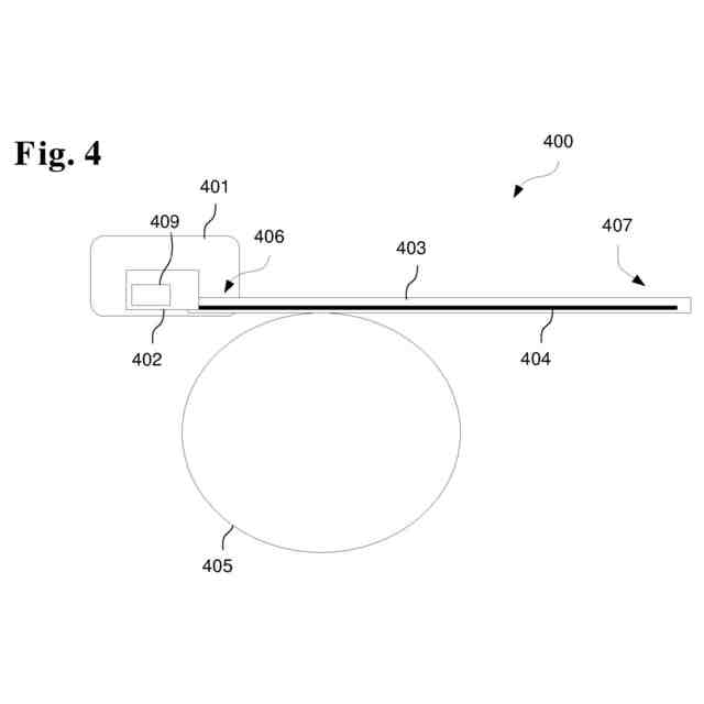
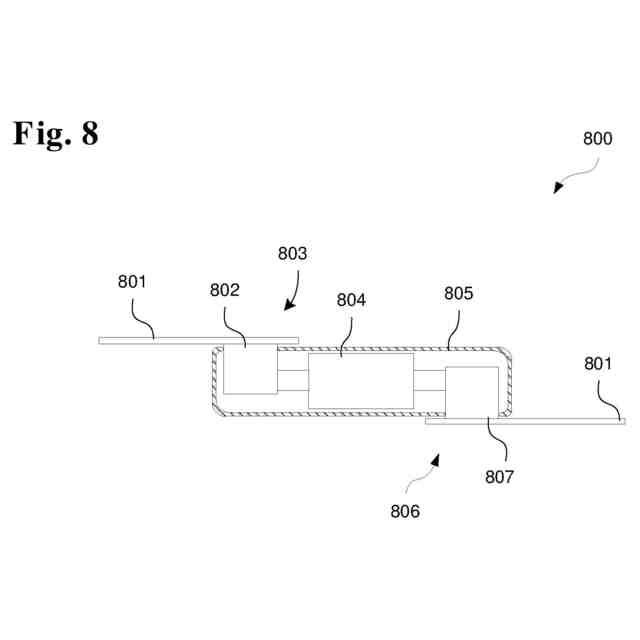
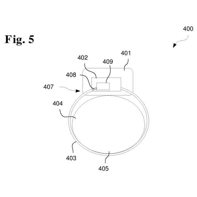
物体にかかる張力を自動的に調整するためのウェアラブル自動張力装置が開示される。保持部材は、物体とは分離した別個のものであり、物体の周囲に位置づけ可能であってもよい。保持部材は、物体にかかる張力を増大または減少させるために物体に係合するように配置および構成されてもよい。任意により物体とは分離した別個のハウジングが含まれてもよく、保持部材はハウジングに取り付けられてもよい。任意により回転部材を含むアクチュエータが、ハウジング内部に取り付けられてもよい。回転部材は、保持部材と係合するように位置づけられてもよく、回転部材は回転軸を中心に、保持部材にかかる張力を増大させるために第1の方向と、保持部材にかかる張力を減少させるために第2の方向とに回転可能とされてもよい。任意により物体に関連付けられた感知パラメータの変化を感知するように配置および構成された少なくとも1つのセンサが含まれてもよい。
【0004】
別の態様では、センサからの入力に応答し、センサからの入力に従ってアクチュエータを制御するように構成可能な制御回路が含まれてもよい。制御回路は、センサからの入力に基づいて保持部材にかかる張力を調整するために、回転部材を第1または第2の方向に回転させるようにアクチュエータを制御するように構成されてもよい。
【0005】
別の態様では、回転部材は、任意により、保持部材に係合するようにハウジングから延び、保持部材はそれに応じて回転部材に係合するようにハウジングに隣接していてもよい。別の態様では、回転部材は、保持部材に隣接して、任意により保持部材によって画定された穴または溝に係合するように配置および構成されたウォーム歯車を含んでもよい。別の態様では、保持部材は、任意により剛体であり、厚さよりも幅広であってもよく、ウォーム歯車が係合可能な1つまたは複数の穴を画定してもよい。
【0006】
別の態様では、保持部材の係合部がハウジング内部の回転部材に係合する。別の態様では、回転部材は、任意によりシャフトを含み、保持部材の係合部は、物体にかかる張力を選択的に増大または減少させるために、シャフトの周囲に巻き付き、巻き解くように構成されてもよい。
【0007】
別の態様では、保持部材は、任意により、平坦な状態と丸まった状態とを有することができる可撓性基材を含み、可撓性部材の丸まった状態は、物体の形状に沿うのに適していてもよい。別の態様では、保持部材の第1の端部がハウジングに取り付けられてもよく、可撓性基材が丸まった状態のときに保持部材の第2の端部が回転部材に選択的に係合可能であってもよい。別の態様では、保持部材の係合部が、保持部材が丸まった状態のときに回転部材と自動的に係合するように構成されてもよい。別の態様では、制御回路は、保持部材が丸まった状態のときに、保持装置を自動的に作動させるように構成されてもよい。別の態様では、可撓性基材が、金属製双安定ばねを含むか、主として金属製双安定ばねからなってもよい。
【0008】
別の態様では、自動保持装置はハウジングに取り付けられたフレームと、任意により、フレームに回転可能に取り付けられた少なくとも1つのアームを含んでもよい。保持部材はアームに結合されてもよく、アームは、保持部材にかかる張力の増大により物体に向かって回転し、任意により回転部材にかかる張力の減少により物体から離れる方向に回転するように、配置および構成されてもよい。別の態様では、アームは、複数の相互接続されたセグメントを含んでもよく、保持部材はこれらのセグメントを貫通するように配置されてもよい。保持部材は、複数の相互接続されたセグメントのうちのアームの一端に隣接する1つのセグメントに取り付けられてもよい。
【0009】
別の態様では、本開示の保持装置は、回転部材に隣接して位置づけられた付勢要素を含んでもよく、付勢要素は、回転部材を保持部材における張力とは反対の方向に付勢するように配置および構成されてもよい。別の態様では、付勢要素はばねを含んでもよく、要素は回転部材と共通のシャフトを共有してもよい。
【0010】
別の態様では、本開示の保持装置は、任意により第1の回転部材と第2の回転部材とを含み、第1の回転部材は保持部材に第1の端部で係合するように位置づけられてもよく、第2の回転部材は保持部材に第2の端部で係合するように位置づけられてもよい。第1および第2の回転部材は、保持部材にかかる張力を増大させるように第1の方向に、および/または、保持部材にかかる張力を減少させるように第2の方向に回転可能であってもよい。
(【0011】以降は省略されています)
この特許をJ-PlatPat(特許庁公式サイト)で参照する
関連特許
個人
貼付剤
1か月前
個人
簡易担架
15日前
個人
足踏み器具
22日前
個人
短下肢装具
4か月前
個人
腋臭防止剤
15日前
個人
排尿補助器具
1か月前
個人
洗井間専家。
8か月前
個人
前腕誘導装置
4か月前
個人
嚥下鍛錬装置
4か月前
個人
アイマスク装置
3か月前
個人
腰ベルト
1か月前
個人
汚れ防止シート
2か月前
個人
胸骨圧迫補助具
2か月前
個人
歯の修復用材料
5か月前
個人
ホバーアイロン
7か月前
個人
ウォート指圧法
1か月前
個人
矯正椅子
6か月前
個人
バッグ式オムツ
5か月前
個人
美容セット
24日前
個人
哺乳瓶冷まし容器
4か月前
個人
陣痛緩和具
4か月前
個人
シャンプー
7か月前
個人
排尿排便補助器具
17日前
個人
歯の保護用シール
6か月前
三生医薬株式会社
錠剤
8か月前
個人
湿布連続貼り機。
3か月前
株式会社八光
剥離吸引管
5か月前
個人
性行為補助具
4か月前
個人
治療用酸化防御装置
2か月前
個人
エア誘導コルセット
2か月前
株式会社コーセー
化粧料
1か月前
個人
服薬支援装置
8か月前
株式会社大野
骨壷
4か月前
株式会社ニデック
眼科装置
2か月前
個人
高気圧環境装置
5か月前
個人
シリンダ式歩行補助具
4か月前
続きを見る
他の特許を見る