TOP
|
特許
|
意匠
|
商標
特許ウォッチ
Twitter
他の特許を見る
10個以上の画像は省略されています。
公開番号
2025172763
公報種別
公開特許公報(A)
公開日
2025-11-26
出願番号
2025132722,2025502807
出願日
2025-08-07,2024-05-30
発明の名称
発光装置、封止シート、面光源装置、及び液晶表示装置
出願人
大日本印刷株式会社
代理人
個人
,
個人
主分類
F21S
2/00 20160101AFI20251118BHJP(照明)
要約
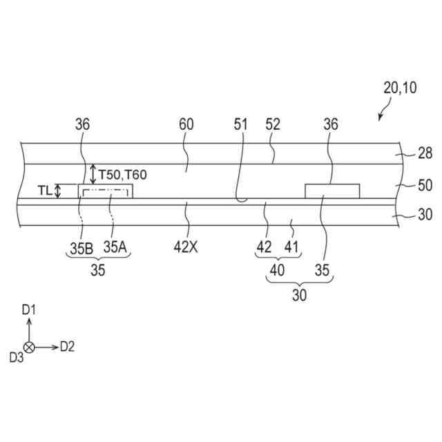
【課題】発光素子を封止する封止シートを提供する。
【解決手段】発光装置20は、発光基板30と、発光基板と第1方向に重ねられた封止シート50と、を含む。発光基板は、配線基板40と、配線基板に支持された複数の発光素子35と、を含む。発光素子は、配線基板と封止シートとの間に位置する。封止シートは、第1方向に対向する入光側面及び出光側面52を含む。発光面36は、入光側面51に対面する発光面を含む。一つの発光素子上となる出光側面での輝度の、当該一つの発光素子の発光面での輝度に対する割合は、90%以上である。
【選択図】図2A
特許請求の範囲
【請求項1】
発光基板と、
前記発光基板と第1方向に重ねられた封止シートと、を備え、
前記発光基板は、配線基板と、前記配線基板に支持された複数の発光素子と、を含み、
前記発光素子は、前記配線基板と前記封止シートとの間に位置し、
前記封止シートは、前記第1方向に対向する入光側面及び出光側面を含み、
前記発光素子は、前記入光側面に対面する発光面を含み、
一つの発光素子上となる前記出光側面での輝度の、前記一つの発光素子の前記発光面での輝度に対する割合は、90%以上である、発光装置。
続きを表示(約 940 文字)
【請求項2】
前記封止シートは、オレフィン系樹脂をベース樹脂とする樹脂層を含む、請求項1に記載の発光装置。
【請求項3】
前記樹脂層を構成する樹脂材料の100℃残存結晶量は8.0J/g以上である、請求項2に記載の発光装置。
【請求項4】
発光基板と、
前記発光基板と第1方向に重ねられた封止シートと、を備え、
前記発光基板は、配線基板と、前記配線基板に支持された複数の発光素子と、を含み、
前記発光素子は、前記配線基板と前記封止シートとの間に位置し、
前記封止シートは、オレフィン系樹脂をベース樹脂とする樹脂層を含み、
前記樹脂層を構成する材料の100℃残存結晶量は8.0J/g以上である、発光装置。
【請求項5】
前記樹脂層は、架橋構造を有する、請求項3又は4に記載の発光装置。
【請求項6】
前記封止シートは、前記樹脂層と重ねられた第2樹脂層を含み、
前記樹脂層は、前記発光基板と前記第2樹脂層との間に位置し、
前記第2樹脂層を構成する樹脂材料の融点は、前記樹脂層を構成する樹脂材料の融点より大きい、請求項3又は4に記載の発光装置。
【請求項7】
前記封止シートは、遮光層を含み、
前記遮光層は、前記発光基板と前記樹脂層との間に位置し、
前記遮光層は、前記複数の発光素子の間に位置する、請求項2~4のいずれか一項に記載の発光装置。
【請求項8】
前記封止シートは、反射層を含み、
前記反射層は、前記発光基板と前記樹脂層との間に位置し、
前記反射層は、前記複数の発光素子の間に位置する、請求項2~4のいずれか一項に記載の発光装置。
【請求項9】
前記封止シートは、前記樹脂層及び前記反射層の間に位置する遮光層を含み、
前記遮光層及び前記反射層は、前記複数の発光素子の間に位置する、請求項8に記載の発光装置。
【請求項10】
前記樹脂層の透過ヘイズは15%以下である、請求項2~4のいずれか一項に記載の発光装置。
(【請求項11】以降は省略されています)
発明の詳細な説明
【技術分野】
【0001】
本開示は、発光装置、封止シート、面光源装置、及び液晶表示装置に関する。
続きを表示(約 1,400 文字)
【背景技術】
【0002】
発光基板を含む発光装置が知られている。特許文献1に開示された発光装置は、表示装置として機能する。各発光素子が一つの画素として機能する。特許文献2に開示された発光素子は、発光面を有する面光源装置を構成する。面光源装置は、液晶表示装置のバックライトでもよい。
【0003】
発光基板は、配線基板と、配線基板に支持された複数の発光素子と、を含む。発光素子は、外部との接触や水分の付着により、安定して発光できなくなり得る。特許文献1及び特許文献2では、発光素子の保護を目的として、封止シートを用いることが検討されている。
【0004】
特許文献1:WO2011/152314A1
特許文献2:WO2021/201164A1
【発明の開示】
【0005】
本開示は、発光素子の封止に用いられる封止シートの改良を目的とする。
【0006】
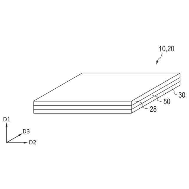
本開示の一実施の形態による第1の発光装置は、
発光基板と、
前記発光基板と第1方向に重ねられた封止シートと、を備え、
前記発光基板は、配線基板と、前記配線基板に支持された複数の発光素子と、を含み、
前記発光素子は、前記配線基板と前記封止シートとの間に位置し、
前記封止シートは、前記第1方向に対向する入光側面及び出光側面を含み、
前記発光素子は、前記入光側面に対面する発光面を含み、
一つの発光素子上となる前記出光側面での輝度の、前記一つの発光素子の前記発光面での輝度に対する割合は、90%以上である。
【0007】
本開示の一実施の形態による第2の発光装置は、
発光基板と、
前記発光基板と第1方向に重ねられた封止シートと、を備え、
前記発光基板は、配線基板と、前記配線基板に支持された複数の発光素子と、を含み、
前記発光素子は、前記配線基板と前記封止シートとの間に位置し、
前記封止シートは、オレフィン系樹脂をベース樹脂とする樹脂層を含み、
前記樹脂層を構成する材料の100℃残存結晶量は8.0J/g以上である。
【0008】
本開示の一実施の形態による第3の発光装置は、
発光基板と、
前記発光基板と第1方向に重ねられた封止シートと、を備え、
前記発光基板は、配線基板と、前記配線基板に支持された複数の発光素子と、を含み、
前記発光素子は、前記配線基板と前記封止シートとの間に位置し、
前記封止シートは、熱可塑性樹脂をベース樹脂とする樹脂層と、前記樹脂層と重ねられた無機酸化物層と、を含み、
前記樹脂層は、前記発光基板と前記無機酸化物層との間に位置する。
【0009】
本開示の一実施の形態による第1の封止シートは、
本開示の一実施の形態によるいずれかの発光装置に用いられる。
【0010】
本開示の一実施の形態による第2の封止シートは、
発光素子を封止する封止シートであって、
オレフィン系樹脂をベース樹脂とする樹脂層を備え、
前記樹脂層を構成する材料の100℃残存結晶量は8.0J/g以上である。
(【0011】以降は省略されています)
この特許をJ-PlatPat(特許庁公式サイト)で参照する
関連特許
大日本印刷株式会社
印刷物
1か月前
大日本印刷株式会社
印刷物
1か月前
大日本印刷株式会社
除電装置
1か月前
大日本印刷株式会社
太陽電池
1か月前
大日本印刷株式会社
床構成体
1か月前
大日本印刷株式会社
床用化粧材
1か月前
大日本印刷株式会社
装飾パネル
11日前
大日本印刷株式会社
積層シート
1か月前
大日本印刷株式会社
プリフォーム
18日前
大日本印刷株式会社
インテリア用品
23日前
大日本印刷株式会社
位置決め搬送装置
3日前
大日本印刷株式会社
プラスチックボトル
18日前
大日本印刷株式会社
旅行記作成システム
1か月前
大日本印刷株式会社
積層体および包装容器
1か月前
大日本印刷株式会社
調光部材及び合わせ板
1か月前
大日本印刷株式会社
化粧シート及び化粧材
26日前
大日本印刷株式会社
積層体および包装容器
1か月前
大日本印刷株式会社
広告ボード体および脚体
2日前
大日本印刷株式会社
加飾シート及び樹脂成形品
10日前
大日本印刷株式会社
加飾シート及び樹脂成形品
1か月前
大日本印刷株式会社
再配線層及びその製造方法
1か月前
大日本印刷株式会社
情報処理装置及びプログラム
1か月前
大日本印刷株式会社
学習支援装置及びプログラム
1か月前
大日本印刷株式会社
処理装置、判断方法及び評価方法
25日前
大日本印刷株式会社
紙印刷物および紙印刷物の製造方法
25日前
大日本印刷株式会社
水素センサおよび水素検知システム
1か月前
大日本除蟲菊株式会社
薬剤揮散装置
1か月前
大日本印刷株式会社
位相差板、光学部材、及び、表示装置
1か月前
大日本印刷株式会社
音響機能付き低反射透明フィルム装置
4日前
大日本印刷株式会社
熱転写シートと中間転写媒体との組合せ
1か月前
大日本印刷株式会社
加飾シート、加飾部材及び表示システム
1か月前
大日本印刷株式会社
有機デバイス及び有機デバイスの製造方法
3日前
大日本印刷株式会社
情報処理システム、装着装置及びプログラム
1か月前
大日本印刷株式会社
情報処理装置、情報処理方法及びプログラム
1か月前
大日本印刷株式会社
情報処理装置、情報処理方法及びプログラム
1か月前
大日本印刷株式会社
情報処理装置、情報処理方法、及びプログラム
24日前
続きを見る
他の特許を見る