TOP
|
特許
|
意匠
|
商標
特許ウォッチ
Twitter
他の特許を見る
公開番号
2025172646
公報種別
公開特許公報(A)
公開日
2025-11-26
出願番号
2024078277
出願日
2024-05-13
発明の名称
洗濯機
出願人
日立グローバルライフソリューションズ株式会社
代理人
弁理士法人磯野国際特許商標事務所
主分類
D06F
37/12 20060101AFI20251118BHJP(繊維または類似のものの処理;洗濯;他に分類されない可とう性材料)
要約
【課題】洗濯兼脱水槽を小さくした場合でも衣類飛び出しを抑制して洗濯が円滑に行える洗濯機を提供する。
【解決手段】本発明の洗濯機Sは、洗濯液が貯留される外槽2と、外槽2内に回転自在に設けられ、洗濯物が収容される内槽3と、内槽3の底部に設けられて回転駆動され、洗濯液を攪拌する回転翼盤4と、内槽3の上部に固定される環状の流体バランサ14とを備え、流体バランサ14は、上部に洗濯物収容リブ16が設けられ、洗濯物収容リブ16は、上方に突出する第一ストッパ部16aと、内槽3の回転軸Oの方向に突出する第二ストッパ部16bとを有している。
【選択図】図4
特許請求の範囲
【請求項1】
洗濯液が貯留される外槽と、
前記外槽内に回転自在に設けられ、洗濯物が収容される内槽と、
前記内槽の底部に設けられて回転駆動され、前記洗濯液を攪拌する回転翼盤と、
前記内槽の上部に固定される環状の流体バランサとを備え、
前記流体バランサは、上部に洗濯物収容リブが設けられ、
前記洗濯物収容リブは、上方に突出する第一ストッパ部と、前記内槽の回転軸の方向に突出する第二ストッパ部とを有している
ことを特徴とする洗濯機。
続きを表示(約 470 文字)
【請求項2】
請求項1に記載の洗濯機において、
前記第一ストッパ部は、前記流体バランサの全周に亘って設けられ、
前記第二ストッパ部は、前記流体バランサの全周に亘って設けられている
ことを特徴とする洗濯機。
【請求項3】
請求項1に記載の洗濯機において、
前記第二ストッパ部の前記内槽の回転軸に向かって延びる内径側端部は、下方に向かって伸びる折り返し部を有している
ことを特徴とする洗濯機。
【請求項4】
請求項3に記載の洗濯機において、
前記折り返し部は、前記内槽の回転軸に向かって延びている
ことを特徴とする洗濯機。
【請求項5】
請求項3に記載の洗濯機において、
前記折り返し部は、全周に亘って設けられている
ことを特徴とする洗濯機。
【請求項6】
請求項1に記載の洗濯機において、
前記洗濯物収容リブの外周面は、凸状の曲面に形成されている
ことを特徴とする洗濯機。
発明の詳細な説明
【技術分野】
【0001】
本発明は、洗濯機に関する。
続きを表示(約 1,500 文字)
【背景技術】
【0002】
洗濯槽を縦に置いた縦型洗濯機では、脱水運転時などに洗濯兼脱水槽を高速回転して、衣類の水分を遠心力によって洗濯兼脱水槽の脱水孔から排出させ、脱水する。
ところが、脱水運転時などに衣類が衣類の重なり具合から、遠心力の鉛直上方向きの分力により洗濯兼脱水槽(洗濯兼脱水槽4+流体バランサ20)から飛び出す現象が生じるおそれがある。この場合、槽カバーと洗濯兼脱水槽との間に衣類が噛み込み、その状態でパルセーターや洗濯兼脱水槽が回動して衣類に引張力等の外力が加わり、衣類を傷つけるおそれが生じる。
【0003】
また、近年顧客ニーズ、低コスト化等により洗濯兼脱水槽の小型化が図られており(段落0015など)、衣類がさらに飛び出しが起こりやすくなっている。そこで、衣類の飛び出し防止のため、脱水運転時の高速回転による防振のための流体バランサ(20)の上部にバランサリブ(24)を設けている洗濯機がある。
【先行技術文献】
【特許文献】
【0004】
特許5879490号公報
【発明の概要】
【発明が解決しようとする課題】
【0005】
ところで、脱水時には洗濯兼脱水槽の高速回転による遠心力が発生し、衣類が洗濯兼脱水槽外周側に張り付く。バランサリブ(24)によって洗濯兼脱水槽の縦寸法を増加させて洗濯槽上部からの衣類飛び出しを低減することが可能となる。しかしながら、バランサリブ(24)の周囲に張り付いた衣類は脱水工程終了後も張り付いたままの状態であり、次の工程(例えば、2度目の脱水、すすぎ工程など)においても張り付いたままの状態となっている。そのため、流体バランサ(20)下方の洗濯兼脱水槽内に収容されていない衣類は、次のすすぎ工程で十分にすすぎが行われないという問題があった。
【0006】
本発明は上記実状に鑑みなされたものであり、洗濯兼脱水槽を小さくした場合でも衣類飛び出しを抑制して洗濯が円滑に行える洗濯機の提供を目的とする。
【課題を解決するための手段】
【0007】
前記課題を解決するため、本発明の洗濯機は、洗濯液が貯留される外槽と、前記外槽内に回転自在に設けられ、洗濯物が収容される内槽と、前記内槽の底部に設けられて回転駆動され、前記洗濯液を攪拌する回転翼盤と、前記内槽の上部に固定される環状の流体バランサとを備え、前記流体バランサは、上部に洗濯物収容リブが設けられ、前記洗濯物収容リブは、上方に突出する第一ストッパ部と、前記内槽の回転軸の方向に突出する第二ストッパ部とを有している。
【発明の効果】
【0008】
本発明によれば、洗濯兼脱水槽を小さくした場合でも衣類飛び出しを抑制して洗濯が円滑に行える洗濯機を提供することができる。
【図面の簡単な説明】
【0009】
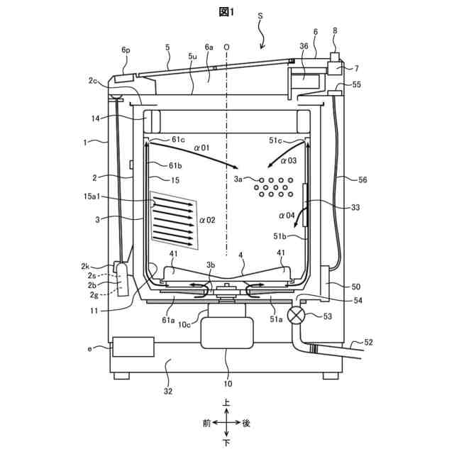
本実施形態に係る洗濯機を示す右側縦断面図。
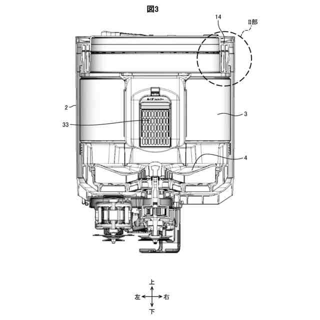
洗濯機から外枠、トップカバー、外蓋等を取り外した状態を右斜め前上方から目視した斜視図。
図2のI-I断面図。
図3のII部拡大断面図。
図3のII部近傍を上方から目視した斜視拡大図。
【発明を実施するための形態】
【0010】
以下、本発明の実施形態について、適宜図面を参照しながら詳細に説明する。
図1は、本実施形態に係る洗濯機Sを示す右側縦断面図である。
なお、以下では、洗濯、すすぎ、脱水を行うことができる縦型の洗濯機Sを例示して説明する。
(【0011】以降は省略されています)
この特許をJ-PlatPat(特許庁公式サイト)で参照する
関連特許
個人
洗濯機
10日前
個人
洗濯装置
3か月前
個人
洗濯物干しハンガー
26日前
セーレン株式会社
複合表皮材
10日前
株式会社青柳
染め加工方法
2か月前
東レ株式会社
繊維断面の検査方法
1か月前
株式会社アライホーム
物干装置
10日前
東レ株式会社
樹脂含浸繊維束の製造方法
3か月前
株式会社槌屋
加飾用表皮材
1か月前
東レ株式会社
炭素繊維シートの製造方法
3か月前
東レ株式会社
ゴム補強用合成繊維コード
2か月前
有限会社高田紙器製作所
紙製洗濯バサミ
3か月前
リンナイ株式会社
衣類乾燥機
1か月前
個人
ポリエステル染色物の製造方法
1か月前
株式会社大阪ソーダ
撥水撥油性繊維処理剤
2か月前
株式会社創和
ボックス状洗濯ネット
2か月前
個人
洗濯用洗剤容器の蓋
3か月前
シャープ株式会社
洗濯機
3か月前
リンテック株式会社
耐水性基材
1か月前
アイリスオーヤマ株式会社
洗濯機
26日前
大阪瓦斯株式会社
衣類乾燥機
3か月前
松本油脂製薬株式会社
繊維用処理剤及びその利用
3か月前
大阪瓦斯株式会社
衣類乾燥機
3か月前
大阪瓦斯株式会社
衣類乾燥機
3か月前
個人
開閉角度調整可能な角型折畳みピンチハンガー
3か月前
シャープ株式会社
洗濯機
3か月前
シャープ株式会社
洗濯機
3か月前
ダイニック株式会社
ターポリン、及びその製造方法
1か月前
個人
パイプ用係止、固定装置及び洗濯バサミ取り付け具
3か月前
株式会社wash-plus
ランドリーシステム
26日前
東芝ライフスタイル株式会社
洗濯機
2か月前
株式会社コーワ
乾燥機のフィルター清掃装置及び乾燥機
1か月前
東レ株式会社
人工皮革およびその製造方法ならびに雑貨
2か月前
東レ株式会社
抗菌性アクリル系繊維およびその製造方法
2か月前
シャープ株式会社
洗濯機
3か月前
シャープ株式会社
衣類処理システム
3か月前
続きを見る
他の特許を見る