TOP
|
特許
|
意匠
|
商標
特許ウォッチ
Twitter
他の特許を見る
10個以上の画像は省略されています。
公開番号
2025172644
公報種別
公開特許公報(A)
公開日
2025-11-26
出願番号
2024078270
出願日
2024-05-13
発明の名称
洗濯機
出願人
日立グローバルライフソリューションズ株式会社
代理人
弁理士法人磯野国際特許商標事務所
主分類
D06F
39/02 20060101AFI20251118BHJP(繊維または類似のものの処理;洗濯;他に分類されない可とう性材料)
要約
【課題】洗剤が内槽と外槽間の洗濯液に落下し、洗浄力が向上する洗濯機を提供する。
【解決手段】本発明の洗濯機Sは、洗濯液が貯留される外槽2と、外槽2内に回転自在に設けられ、洗濯物が収容される内槽3と、外槽2の上部に設けられ、洗剤が投入される洗剤投入口12とを備え、外槽2は、洗剤が落下する洗剤投入口12から下方の箇所が径方向外方に出張って形成される洗剤投入経路2aが設けられている。
【選択図】図3
特許請求の範囲
【請求項1】
洗濯液が貯留される外槽と、
前記外槽内に回転自在に設けられ、洗濯物が収容される内槽と、
前記外槽の上部に設けられ、洗剤が投入される洗剤投入口とを備え、
前記外槽は、前記洗剤が落下する前記洗剤投入口から下方の箇所が径方向外方に出張って形成される洗剤投入経路が設けられている
ことを特徴とする洗濯機。
続きを表示(約 900 文字)
【請求項2】
請求項1に記載の洗濯機において、
前記内槽は、周壁に脱水孔が複数設けられ、
前記洗剤投入経路は、前記内槽の最下部にある前記脱水孔より下方の位置まで設けられている
ことを特徴とする洗濯機。
【請求項3】
洗濯液が貯留され有底筒状に形成される外槽と、
前記外槽内に回転自在に設けられ、洗濯物が収容される内槽と、
前記外槽の上部に設けられ、洗剤が投入される洗剤投入口とを備え、
前記洗剤投入口の下方に前記外槽の略径方向に延びて形成され、洗剤が前記外槽と前記内槽との間に落下するように案内する洗剤投入体が設けられている
ことを特徴とする洗濯機。
【請求項4】
請求項1に記載の洗濯機において、
前記洗剤投入口の下方に前記外槽の略径方向に延びて形成され、洗剤が前記外槽と前記内槽との間に落下するように案内する洗剤投入体が設けられている
ことを特徴とする洗濯機。
【請求項5】
請求項3または請求項4に記載の洗濯機において、
前記洗剤投入体は、板状である
ことを特徴とする洗濯機。
【請求項6】
請求項3または請求項4に記載の洗濯機において
前記洗剤投入体は、外槽の中心側より外方がより下方により長く形成されている
ことを特徴とする洗濯機。
【請求項7】
請求項3または請求項4に記載の洗濯機において、
前記洗剤投入体の上面は、前記外槽に近づくに従い下方に位置する傾斜面と前記傾斜面に外方に接続するとともに下方に凹状の曲率をもつ曲面とを有している
ことを特徴とする洗濯機。
【請求項8】
請求項3または請求項4に記載の洗濯機において、
前記洗剤投入体は、複数設けられている
ことを特徴とする洗濯機。
【請求項9】
請求項8に記載の洗濯機において、
複数の前記洗剤投入体の間の間隔は、2mmより大きい
ことを特徴とする洗濯機。
発明の詳細な説明
【技術分野】
【0001】
本発明は、洗濯機に関する。
続きを表示(約 1,300 文字)
【背景技術】
【0002】
洗濯槽を縦に置いた縦型洗濯機では、粉末洗剤、液体洗剤等の洗剤を投入するための洗剤ケースがトップカバーの後部内側に配設されている。
利用者が洗剤を投入するに際しては、洗剤ケースをトップカバーから引き出し、洗剤を入れ、洗剤ケースをトップカバーに押し戻す。
すると、洗剤ケースに入れられた洗剤が洗剤投入口から、外槽と内槽間に供給される。
【先行技術文献】
【特許文献】
【0003】
特開2005-34905号公報
【発明の概要】
【発明が解決しようとする課題】
【0004】
外槽と内槽との間から外槽内に投入された洗剤は外槽下部まで到達する過程において、内槽の脱水孔を介して内槽内に入ってしまい、内槽内の衣類に直接かかるおそれがある。この場合、洗剤が外槽下部まで降下せず洗濯水に溶けることなく、洗浄力が落ちるおそれがある。
【0005】
本発明は上記実状に鑑みなされたものであり、洗剤が内槽と外槽間の洗濯液に落下し、洗浄力が向上する洗濯機の提供を目的とする。
【課題を解決するための手段】
【0006】
前記課題を解決するため、本発明の洗濯機は、洗濯液が貯留される外槽と、前記外槽内に回転自在に設けられ、洗濯物が収容される内槽と、前記外槽の上部に設けられ、洗剤が投入される洗剤投入口とを備え、前記外槽は、前記洗剤が落下する前記洗剤投入口から下方の箇所が径方向外方に出張って形成される洗剤投入経路が設けられている。
【発明の効果】
【0007】
本発明によれば、洗剤が内槽と外槽間の洗濯液に落下し、洗浄力が向上する洗濯機を提供することができる。
【図面の簡単な説明】
【0008】
本実施形態に係る洗濯機の外観図。
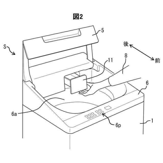
洗濯機の外蓋を開き、洗剤投入容器を引き出した状態の斜視図。
洗濯機の要部を示す縦断面図。
洗濯機から外枠とトップカバーとベースを外した状態の外槽、洗濯兼脱水槽等を後ろ斜め上方から目視した斜視図。
図4のI-I断面図。
図4のII方向矢視図。
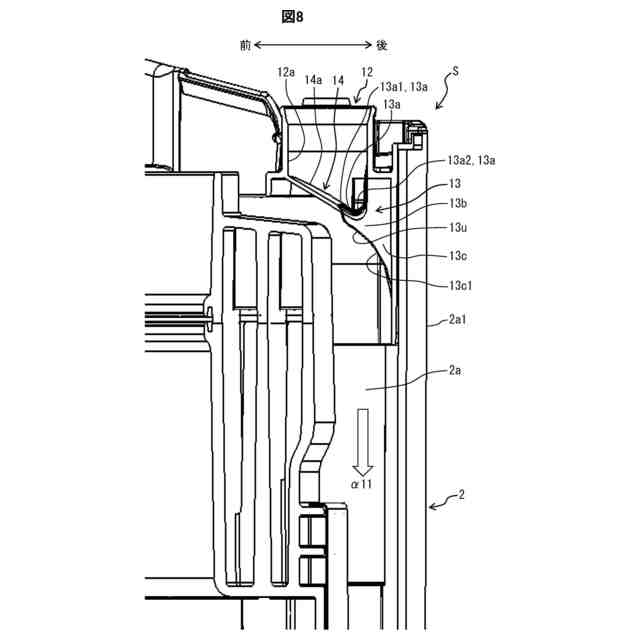
図6のIII部拡大図。
図7のIV-IV断面図。
図7のIV-IV近傍の斜視図。
【発明を実施するための形態】
【0009】
以下、本発明の実施形態について、適宜図面を参照しながら詳細に説明する。
図1は、本実施形態に係る洗濯機Sの外観図である。
なお、以下では、洗濯、すすぎ、脱水を行うことができる縦型の洗濯機Sを例示して説明する。
【0010】
図2は、洗濯機Sの外蓋5を開き、洗剤投入容器11を引き出した状態の斜視図である。図3は、洗濯機Sの要部を示す縦断面図である。
なお、本発明の洗濯機Sは、乾燥工程も行うことができる縦型の洗濯機にも有効に適用可能である。
(【0011】以降は省略されています)
この特許をJ-PlatPat(特許庁公式サイト)で参照する
関連特許
個人
洗濯機
10日前
個人
洗濯装置
3か月前
個人
洗濯物干しハンガー
26日前
セーレン株式会社
複合表皮材
10日前
東レ株式会社
繊維断面の検査方法
1か月前
株式会社青柳
染め加工方法
2か月前
株式会社アライホーム
物干装置
10日前
東レ株式会社
炭素繊維シートの製造方法
3か月前
株式会社槌屋
加飾用表皮材
1か月前
東レ株式会社
ゴム補強用合成繊維コード
2か月前
有限会社高田紙器製作所
紙製洗濯バサミ
3か月前
東レ株式会社
樹脂含浸繊維束の製造方法
3か月前
個人
ポリエステル染色物の製造方法
1か月前
株式会社大阪ソーダ
撥水撥油性繊維処理剤
2か月前
株式会社創和
ボックス状洗濯ネット
2か月前
リンナイ株式会社
衣類乾燥機
1か月前
個人
洗濯用洗剤容器の蓋
3か月前
シャープ株式会社
洗濯機
3か月前
リンテック株式会社
耐水性基材
1か月前
アイリスオーヤマ株式会社
洗濯機
26日前
松本油脂製薬株式会社
繊維用処理剤及びその利用
3か月前
大阪瓦斯株式会社
衣類乾燥機
3か月前
大阪瓦斯株式会社
衣類乾燥機
3か月前
大阪瓦斯株式会社
衣類乾燥機
3か月前
ダイニック株式会社
ターポリン、及びその製造方法
1か月前
個人
開閉角度調整可能な角型折畳みピンチハンガー
3か月前
シャープ株式会社
洗濯機
3か月前
シャープ株式会社
洗濯機
3か月前
シャープ株式会社
洗濯機
3か月前
東レ株式会社
抗菌性アクリル系繊維およびその製造方法
2か月前
株式会社wash-plus
ランドリーシステム
26日前
シャープ株式会社
洗濯機
4か月前
東芝ライフスタイル株式会社
洗濯機
2か月前
個人
パイプ用係止、固定装置及び洗濯バサミ取り付け具
3か月前
株式会社コーワ
乾燥機のフィルター清掃装置及び乾燥機
1か月前
東芝ライフスタイル株式会社
洗濯機
2か月前
続きを見る
他の特許を見る