TOP
|
特許
|
意匠
|
商標
特許ウォッチ
Twitter
他の特許を見る
公開番号
2025172568
公報種別
公開特許公報(A)
公開日
2025-11-26
出願番号
2024078147
出願日
2024-05-13
発明の名称
管理土圧の設定システム
出願人
大豊建設株式会社
代理人
弁理士法人パテントボックス
主分類
E21D
9/093 20060101AFI20251118BHJP(地中もしくは岩石の削孔;採鉱)
要約
【課題】、減圧試験を実施するうえで必要となるチャンバー内の圧力制御を正確かつ容易に行うことができる圧力復旧装置を提供する。
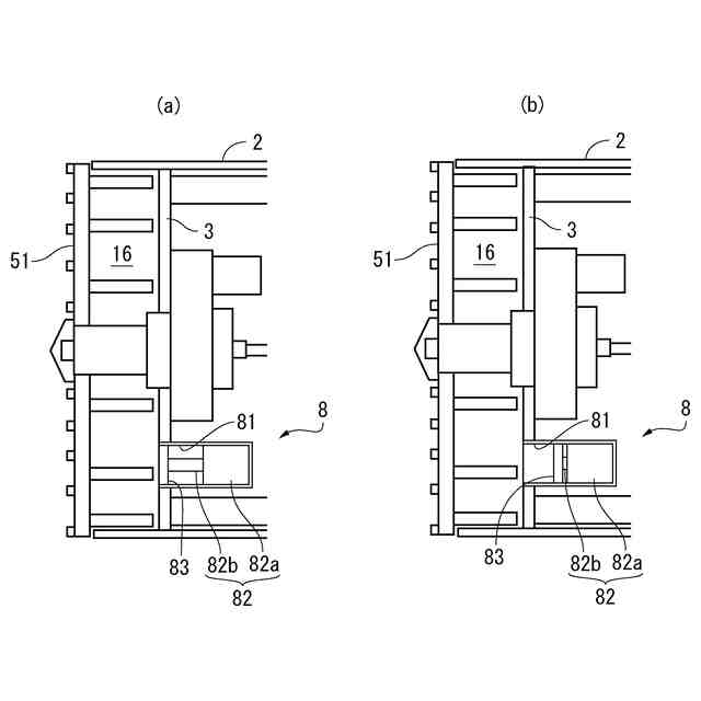
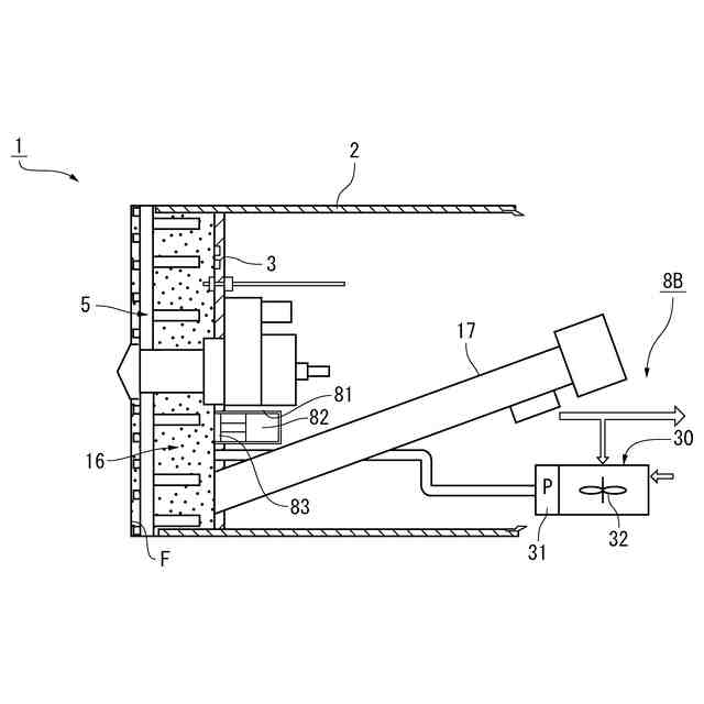
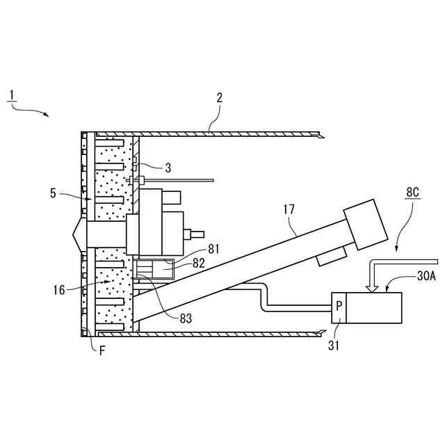
【解決手段】本実施例の圧力復旧装置8(8A)は、シールド掘進機のチャンバー16内の圧力を復旧する圧力復旧装置8であって、少なくとも一部分がチャンバー16の外側及び内側に移動されることによって、チャンバー内の体積を変化させる、体積変化機構を備えている。体積変化機構は、隔壁3に形成された凹部81と、凹部81内に設置されたジャッキ82と、ジャッキ82の前面側に取り付けられた支圧版83と、を備え、支圧版83は、ジャッキ82を伸縮駆動することで、隔壁3と同一平面を構成する基準位置から機内側に引き込まれるようになっている。
【選択図】図1
特許請求の範囲
【請求項1】
シールド掘進機のチャンバー内の圧力を復旧する圧力復旧装置であって、
少なくとも一部分が前記チャンバーの外側及び内側に移動されることによって、チャンバー内の体積を変化させる、体積変化機構を備える、圧力復旧装置。
続きを表示(約 1,200 文字)
【請求項2】
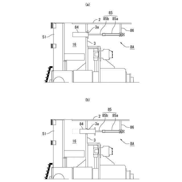
前記体積変化機構は、前記隔壁に形成された凹部と、前記凹部内に設置されたジャッキと、前記ジャッキの前面側に取り付けられた支圧版と、を備え、前記支圧版は、前記ジャッキを伸縮駆動することで、前記隔壁と同一平面を構成する基準位置から機内側に引き込まれるようになっているとともに、機内側から基準位置まで押し出すようになっている、請求項1に記載された、圧力復旧装置。
【請求項3】
前記体積変化機構は、前記隔壁からチャンバー内に突出された撹拌翼と、前記撹拌翼の背面側に取り付けられたジャッキと、を備え、前記撹拌翼は、前記ジャッキを伸縮駆動することで、前記隔壁から所定量だけ突出した基準位置から機内側に引き込まれるようになっているとともに、機内側から基準位置まで押し出すようになっている、請求項1に記載された、圧力復旧装置。
【請求項4】
シールド掘進機のチャンバー内の圧力を復旧する圧力復旧装置であって、
前記チャンバー内から排土装置によって排出された泥土の少なくとも一部を回収して貯留する回収貯留槽と、
前記回収貯留槽から前記チャンバー内へ泥土を圧送する圧送ポンプと、を備える、圧力復旧装置。
【請求項5】
前記回収貯留槽には作泥土材が注入されるとともに、
前記回収貯留槽内の泥土と作泥土材とを攪拌する攪拌機構をさらに備える、請求項4に記載された圧力復旧装置。
【請求項6】
シールド掘進機のチャンバー内の圧力を復旧する圧力復旧装置であって、
坑外又は機内の所定の場所で作泥された泥土を貯留する作泥貯留槽と、
前記作泥貯留槽から前記チャンバー内へ泥土を圧送する圧送ポンプと、を備える、圧力復旧装置。
【請求項7】
シールド掘進機における管理土圧の設定システムであって、
チャンバー内の泥土圧を計測する圧力計と、
請求項1乃至請求項6のいずれか一項に記載された圧力復旧装置と、
切羽の変位を計測する変位計測手段と、
計測された泥土圧と計測された切羽の変位に基づいて地盤の変形特性を解析する解析部と、
解析された変形特性に基づいて、管理土圧を設定する設定部と、
を備える、管理土圧の設定システム。
【請求項8】
前記シールド掘進機の停止時に、前記圧力復旧装置によって前記チャンバー内の泥土圧が減圧されることで、前記解析部によって地盤の変形から主働土圧が求められるようになっている、請求項7に記載された、管理土圧の設定システム。
【請求項9】
前記解析部は、
解析された地盤の変形特性に基づいて、地盤の力学定数を逆解析によって推定し、当該地盤の力学定数を用いてFEMモデルを更新するとともに、
更新されたFEMモデルを用いて、周辺の地盤及び/又は構造物への影響を予測するようになっている、請求項8に記載された、管理土圧の設定システム。
発明の詳細な説明
【技術分野】
【0001】
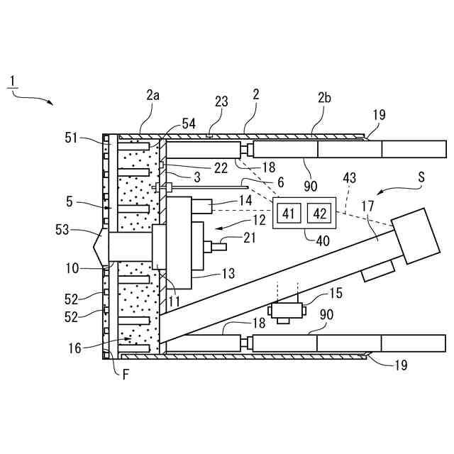
本発明は、シールド掘進機において使用されるチャンバー内の圧力復旧装置に関するものである。
続きを表示(約 1,600 文字)
【背景技術】
【0002】
従来から、土圧式シールドにおけるチャンバー内泥土圧の管理は、切羽の安定を保持しながら周辺地盤の変形や沈下等を生じさせないようにシールドを掘進させるために不可欠なものであり、適正な管理を行うことで周辺地盤の変位を抑制することができる。
【0003】
土圧式シールドでは、チャンバー内泥土圧の管理土圧は、以下の範囲に設定されている。
(受働土圧+水圧)>チャンバー内泥土圧(管理土圧)>(主働土圧+水圧)
【0004】
チャンバー内泥土圧が上記範囲内に保持されていれば、切羽の安定は理論上確保されるが、チャンバー内泥土圧が高くなることで、カッタートルクやジャッキ推力の増大を招き、施工上非効率となることから、切羽の安定が確保される範囲で管理土圧を低く設定することが望ましい。そこで、下限値については(主働土圧+水圧)にプラスαを加えた値を、上限値については前記下限値(主働土圧+水圧+α)に施工変動幅を更に考慮した値、または(静止土圧+水圧)を設定することが一般的である。
【0005】
なお、ここで言う受働土圧、主働土圧および静止土圧とは、土粒子間で伝達される有効土圧の事を示し、間隙水圧を含まない。一方、チャンバー内泥土圧とは、チャンバー内の土粒子および間隙水を一体と考えた全土圧の事であり、間隙水圧を含む。
【0006】
従来の土圧式シールドにおけるチャンバー内泥土圧の管理手法には、以下に示す1)の方法と2)の方法がある。
1)事前の土質調査により推定される対象地盤の土質定数(φ、C、γ等)、地下水位や上載荷重から土圧の算定式を用いて、主働土圧、受働土圧や静止土圧などを算定し、その数値を基に、チャンバー内泥土圧の上限値と下限値を設定して管理する方法(例えば、特許文献1参照)。
2)シールドの停止時に測定される停止時チャンバー内泥土圧を基に、管理土圧を設定する方法(例えば、非特許文献1参照)。
【先行技術文献】
【特許文献】
【0007】
特開2012-233372号公報
「シールドトンネル工事の安全・安心な施工に関するガイドライン」シールドトンネル施工技術検討会、令和3年12月、P.19
【発明の概要】
【発明が解決しようとする課題】
【0008】
・管理手法 1)の課題:
事前の土質調査は通常ボーリングにより実施されるが、その頻度は路線延長に対して200(m)間隔程度で行われることが多い。したがって、調査地点の間で土質条件等が変化する場合には、適正な管理土圧を算定できないことがある。また、土圧の算定式自体が2次元に簡略化された力のつり合いだけに基づく理論的なものであることから、必ずしも実際の3次元状態のシールド切羽地盤の土圧を正確に算定できているとは限らない。
【0009】
・管理手法 2)の課題:
シールドの停止時に測定される停止時泥土圧は、シールド自体が動くことがなく、かつ、カッタヘッドに面板がない場合は、切羽に作用する土圧を比較的正確に反映していると考えられるが、これらの条件が維持されない場合には、停止時泥土圧が地盤の静止土圧又は主働土圧プラス水圧を表しているとは限らない。
【0010】
そこで、発明者らは、仮定や推定による管理土圧の設定ではなく、チャンバー内泥土圧と切羽付近の変位関係を直接計測することで管理土圧を設定する、シールド掘進機の管理土圧の設定システムを開発してきた。この管理土圧の設定システムでは、対象地盤のチャンバー内の圧力変化に基づく変形特性を求めるために、チャンバー内泥土圧を減圧する減圧試験を実施する必要がある。
(【0011】以降は省略されています)
この特許をJ-PlatPat(特許庁公式サイト)で参照する
関連特許
大豊建設株式会社
管理土圧の設定システム
7日前
大豊建設株式会社
管理土圧の逐次更新システム
2か月前
個人
掘削機
5か月前
日特建設株式会社
切断装置
1か月前
株式会社奥村組
地山探査方法
3か月前
株式会社奥村組
地山探査装置
3か月前
株式会社奥村組
地山探査装置
3か月前
株式会社奥村組
地山探査装置
3か月前
株式会社奥村組
シールド掘進機
6か月前
日特建設株式会社
削孔システム
13日前
株式会社奥村組
シールド掘進機
2か月前
株式会社笠原建設
横孔形成方法
7か月前
日特建設株式会社
ボーリング装置
7か月前
岐阜工業株式会社
トンネルセントル
2か月前
花王株式会社
岩盤の掘削方法
5か月前
株式会社奥村組
セグメントの組立方法
2か月前
個人
掘削機、及び、資源回収システム
7か月前
株式会社奥村組
泥土圧シールド掘進機
6か月前
個人
オープンシールド機
3か月前
株式会社熊谷組
天井板撤去装置
7か月前
個人
オープンシールド機
3か月前
岐阜工業株式会社
コンクリート分配装置
26日前
個人
箱形ルーフおよびその施工法
2か月前
大阪瓦斯株式会社
牽引装置
6か月前
株式会社金澤製作所
発進坑口のエントランス装置
6か月前
デンカ株式会社
静的破砕方法
3か月前
地中空間開発株式会社
トンネル掘削機
1か月前
個人
メタンハイドレート等海底鉱物資源の採取方法
4か月前
大阪瓦斯株式会社
切欠開裂治具
6か月前
岐阜工業株式会社
トンネルセントルの妻板装置
3か月前
日鉄建材株式会社
構造物用補強リング及び構造物
2か月前
株式会社奥村組
地山探査装置に用いる地山保持材
3か月前
大成建設株式会社
トンネルとその施工方法
7か月前
株式会社ケー・エフ・シー
トンネル水圧調整装置
2か月前
戸田建設株式会社
掘削機切削部側壁
4か月前
株式会社トーメック
開削型自走シールド管渠接合装置
5日前
続きを見る
他の特許を見る