TOP
|
特許
|
意匠
|
商標
特許ウォッチ
Twitter
他の特許を見る
公開番号
2025172546
公報種別
公開特許公報(A)
公開日
2025-11-26
出願番号
2024078109
出願日
2024-05-13
発明の名称
粉粒体回収装置
出願人
株式会社サタケ
代理人
個人
,
個人
,
個人
,
個人
,
個人
,
個人
,
個人
,
個人
,
個人
,
個人
主分類
B65G
65/46 20060101AFI20251118BHJP(運搬;包装;貯蔵;薄板状または線条材料の取扱い)
要約
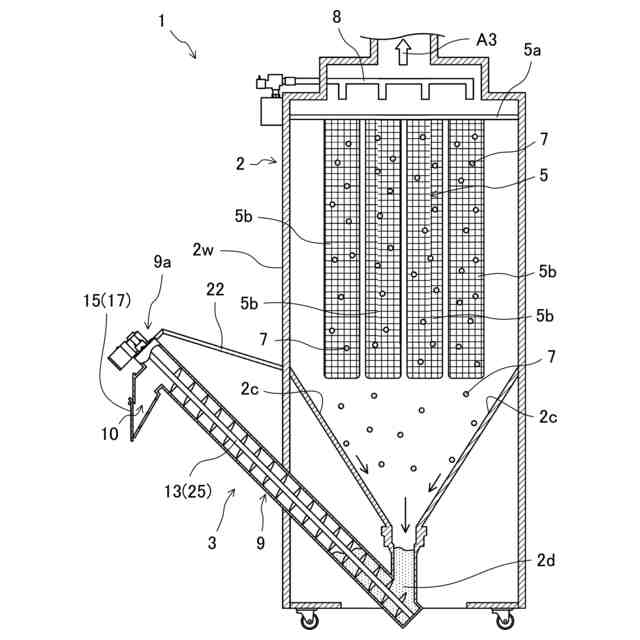
【課題】簡単な機構で、装置本体の内部の負圧状態を維持しつつ、粉粒体を装置本体から取り出すことができる粉粒体回収装置を提供する。
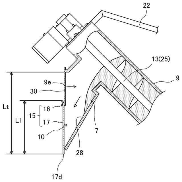
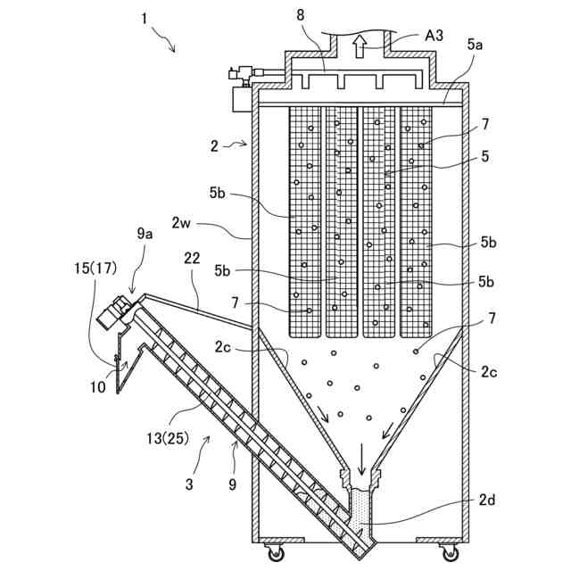
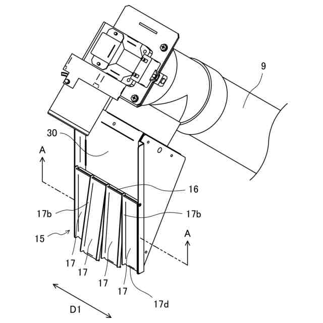
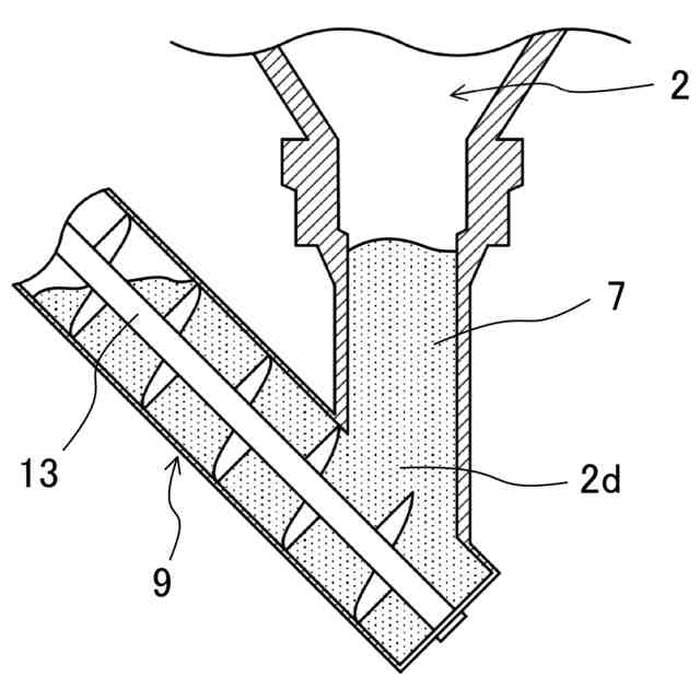
【解決手段】本発明の粉粒体回収装置は、内部が負圧の状態に維持される装置本体2と、装置本体2の下端に連なる粉粒体回収部3とを含む。粉粒体回収部3は、装置本体2に連通する連通管9と、粉粒体7を吐出する吐出口10と、連通管9の内部に配され、かつ、粉粒体7を吐出口10まで搬送する搬送装置13と、吐出口10を開閉できるフラップ15とを含む。フラップ15は、揺動軸16と、揺動軸16を中心に揺動する少なくとも1枚のフラップ板17とを含み、装置本体2内の負圧によって前記吐出口10を閉じることができる。
【選択図】図3
特許請求の範囲
【請求項1】
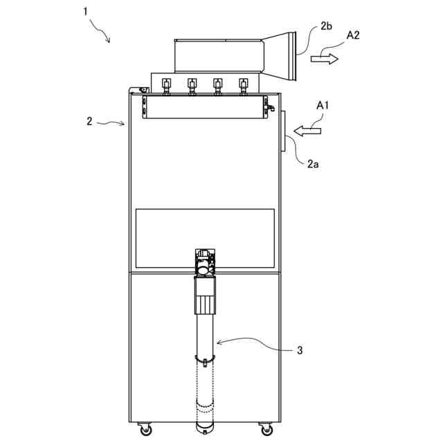
内部が負圧の状態に維持されると共に、前記内部に粉粒体が流入してくる装置本体と、
前記装置本体の下端に連なって前記装置本体内の粉粒体を回収する粉粒体回収部とを含み、
前記粉粒体回収部は、前記装置本体に連通する連通管と、前記連通管の下流側に配され、かつ、前記粉粒体を吐出する吐出口と、前記連通管の内部に配され、かつ、前記粉粒体を前記吐出口まで搬送する搬送装置と、前記吐出口を開閉できるフラップとを含み、
前記フラップは、揺動軸と、前記揺動軸を中心に揺動する少なくとも1枚のフラップ板とを含み、前記装置本体内の負圧によって前記吐出口を閉じることができる、
粉粒体回収装置。
続きを表示(約 560 文字)
【請求項2】
請求項1に記載の粉粒体回収装置において、
前記連通管は、前記装置本体の前記下端側から前記吐出口側に向かって上向きに傾斜している、粉粒体回収装置。
【請求項3】
請求項2に記載の粉粒体回収装置において、
前記搬送装置は、スクリューコンベアである、粉粒体回収装置。
【請求項4】
請求項1ないし3のいずれか1項に記載の粉粒体回収装置において、
前記フラップは、前記揺動軸の軸方向に配列された複数の前記フラップ板を含む、粉粒体回収装置。
【請求項5】
請求項4に記載の粉粒体回収装置において、
前記複数のフラップ板は、それぞれ、前記吐出口に対向する第1面部と、前記第1面部のフラップ板配列方向の端部に連なり、かつ、前記第1面部と交差する向きに延びる第2面部とを含む、粉粒体回収装置。
【請求項6】
請求項5に記載の粉粒体回収装置において、
1つの前記フラップ板の前記第2面部は、隣接する他の前記フラップ板の前記第2面部と接触している、粉粒体回収装置。
【請求項7】
請求項6に記載の粉粒体回収装置において、
前記第2面部は、前記吐出口とは反対側に延びている、粉粒体回収装置。
発明の詳細な説明
【技術分野】
【0001】
本発明は、粉粒体回収装置に関する。
続きを表示(約 1,100 文字)
【背景技術】
【0002】
例えば、下記特許文献1には、中空フィルタを含む集塵機が提案されている。この集塵機は、粉塵を含むガスを中空フィルタによって濾過する。濾過された粉塵は、取出バルブによって、中空フィルタが設けられた集塵室から排出される。この取出バルブは、前記集塵室をエアロックした状態で粉塵を排出することができる。
【先行技術文献】
【特許文献】
【0003】
特開平7-16413号公報
【発明の概要】
【発明が解決しようとする課題】
【0004】
従来の粉粒体回収装置では、装置本体の内部の負圧状態を維持しつつ、粉粒体を取り出すためのバルブとして、例えば、エアロック機能を有したロータリーバルブが採用され得る。
【0005】
しかしながら、前記ロータリーバルブは、構造が複雑で重量も大きく、しかも高価である。したがって、粉粒体回収装置において、前記ロータリーバルブに代替できる簡単な機構が求められていた。
【0006】
本発明は、以上のような実状に鑑み案出されたもので、簡単な機構で、装置本体の内部の負圧状態を維持しつつ、粉粒体を装置本体から取り出すことができる粉粒体回収装置を提供することを主たる目的としている。
【課題を解決するための手段】
【0007】
第1の発明は、内部が負圧の状態に維持されると共に、前記内部に粉粒体が流入してくる装置本体と、前記装置本体の下端に連なって前記装置本体内の粉粒体を回収する粉粒体回収部とを含み、前記粉粒体回収部は、前記装置本体に連通する連通管と、前記連通管の下流側に配され、かつ、前記粉粒体を吐出する吐出口と、前記連通管の内部に配され、かつ、前記粉粒体を前記吐出口まで搬送する搬送装置と、前記吐出口を開閉できるフラップとを含み、前記フラップは、揺動軸と、前記揺動軸を中心に揺動する少なくとも1枚のフラップ板とを含み、前記装置本体内の負圧によって前記吐出口を閉じることができる、粉粒体回収装置である。
【0008】
第2の発明は、第1の発明において、前記連通管は、前記装置本体の前記下端側から前記吐出口側に向かって上向きに傾斜していることを特徴とする。
【0009】
第3の発明は、第2の発明において、前記搬送装置は、スクリューコンベアであることを特徴とする。
【0010】
第4の発明は、第1ないし第3のいずれかの発明において、前記フラップは、前記揺動軸の軸方向に配列された複数の前記フラップ板を含むことを特徴とする。
(【0011】以降は省略されています)
この特許をJ-PlatPat(特許庁公式サイト)で参照する
関連特許
株式会社サタケ
塗膜剥離装置
4日前
株式会社サタケ
醸造用精米機
1か月前
株式会社サタケ
粉粒体回収装置
6日前
株式会社サタケ
粒状物の乾燥装置
1か月前
株式会社サタケ
共同乾燥調製施設
1か月前
株式会社サタケ
循環式穀物乾燥機
2か月前
株式会社サタケ
測定装置および選別装置
1か月前
株式会社サタケ
精白米中の土砂混入率の検査方法
1か月前
株式会社サタケ
集塵機における圧力計測配管の取付構造
2か月前
個人
束ね具
21日前
個人
収容箱
4か月前
個人
コンベア
6か月前
個人
ゴミ収集器
8か月前
個人
段ボール箱
8か月前
個人
段ボール箱
8か月前
個人
容器
10か月前
個人
バンド
3か月前
個人
土嚢運搬器具
9か月前
個人
角筒状構造体
6か月前
個人
宅配システム
8か月前
個人
テープ引出機
21日前
個人
楽ちんハンド
6か月前
個人
お薬の締結装置
7か月前
個人
包装容器
2か月前
個人
棒状体収容容器
25日前
個人
廃棄物収容容器
3か月前
個人
コード類収納具
9か月前
個人
閉塞装置
11か月前
個人
貯蔵サイロ
8か月前
株式会社コロナ
梱包材
6か月前
株式会社和気
包装用箱
10か月前
株式会社バンダイ
物品
1か月前
個人
把手付米袋
5か月前
株式会社和気
包装用箱
1か月前
個人
蓋閉止構造
5か月前
個人
ゴミ処理機
10か月前
続きを見る
他の特許を見る