TOP
|
特許
|
意匠
|
商標
特許ウォッチ
Twitter
他の特許を見る
10個以上の画像は省略されています。
公開番号
2025172543
公報種別
公開特許公報(A)
公開日
2025-11-26
出願番号
2024078106
出願日
2024-05-13
発明の名称
遮蔽装置
出願人
株式会社ニチベイ
代理人
個人
,
弁理士法人i.PARTNERS特許事務所
主分類
E06B
9/80 20060101AFI20251118BHJP(戸,窓,シャッタまたはローラブラインド一般;はしご)
要約
【課題】より容易に上昇限界位置を調整することができる技術を提供する。
【解決手段】昇降される遮蔽材の上限位置である上昇限界位置を調整可能な遮蔽装置であって、回転軸方向が前後方向を向くギアである第1回転部材302と、前記第1回転部材302と噛み合い、回転軸方向が左右方向を向くギアである第2回転部材303と、前記第2回転部材303と一体回転可能に設けられたネジ軸の回転により、前記遮蔽材を昇降させる昇降軸を回転させることで前記上昇限界位置を調整可能な上昇限界位置規制機構とを備えた。
【選択図】図8
特許請求の範囲
【請求項1】
昇降される遮蔽材の上限位置である上昇限界位置を調整可能な遮蔽装置であって、
回転軸方向が前後方向を向くギアである第1回転部材と、
前記第1回転部材と噛み合い、回転軸方向が左右方向を向くギアである第2回転部材と、
前記第2回転部材と一体回転可能に設けられた調整軸の回転により、前記遮蔽材を昇降させる昇降軸を回転させることで前記上昇限界位置を調整可能な上昇限界位置規制機構と
を備える遮蔽装置。
続きを表示(約 640 文字)
【請求項2】
前記第1回転部材はウォームであり、前記第2回転部材はウォームホイールであることを特徴とする請求項1に記載の遮蔽装置。
【請求項3】
前記第1回転部材の回転軸方向前方側には、該回転軸方向に直交する径方向に延びる少なくとも1つの溝部が形成された操作部が設けられることを特徴とする請求項2に記載の遮蔽装置。
【請求項4】
前記操作部には、互いに交差する複数の溝部が形成されることを特徴とする請求項3に記載の遮蔽装置。
【請求項5】
前記第1回転部材及び前記第2回転部材は筐体内に画成された収容空間内に収容され、
前記筐体には、前記操作部を前方に露出する開口部が形成されることを特徴とする請求項3または請求項4に記載の遮蔽装置。
【請求項6】
前記開口部を開閉可能に構成されたカバーを更に備え、
前記カバーには、前記開口部を閉鎖した状態において前記第1回転部材の回転を規制するように前記溝部と係合する回転規制部が形成されることを特徴とする請求項5に記載の遮蔽装置。
【請求項7】
前記カバーは、前記開口部を閉鎖する閉鎖状態と、前記開口部を開放する開放状態とを切り替え可能に構成されることを特徴とする請求項6に記載の遮蔽装置。
【請求項8】
前記操作部には、前記溝部の底部に向かって傾斜する傾斜面が形成されることを特徴とする請求項3または請求項4に記載の遮蔽装置。
発明の詳細な説明
【技術分野】
【0001】
本実施形態は、遮蔽材の位置調整に関する。
続きを表示(約 2,000 文字)
【背景技術】
【0002】
従来の遮蔽装置として、特許文献1に示されるものが知られている。この遮蔽装置は、スクリーンの巻取上限位置を調整するための調整機構と、調整機構を駆動させるための操作部とを備える。操作部は、サイドプレートに連結されたベースとベースを覆うベースカバーとの間に収容され、ベースカバーのスクリーン幅方向に直交する面に形成された開口部を介して外部から操作可能とされる。また、ベースカバーには、開口部を閉塞する着脱自在な閉塞カバーが設けられる。
【0003】
このような遮蔽装置によれば、巻上限界位置の調整操作時にはベースカバーから閉塞カバーを取り外して操作部を操作でき、非調整操作時にはベースカバーに閉塞カバーを取り付けることで美観が損なわれることを防止できる。
【先行技術文献】
【特許文献】
【0004】
特開2015-117464号公報
特開2015-148113号公報
【発明の概要】
【発明が解決しようとする課題】
【0005】
しかしながら、上述の遮蔽装置において巻上限界位置を調整する際、調整を行う操作者は側面側から操作部を操作する必要がある。このため、遮蔽装置の側面側に操作部を操作するために十分な空間がない場合、操作者は、遮蔽装置を外してから操作を行わなければならない。このように、遮蔽装置の設置状況によっては、巻上限界位置を含む遮蔽材の上昇限界位置の調整作業が煩雑なものとなっていた。
【0006】
本発明は上述した問題点を解決するためになされたものであり、より容易に上昇限界位置を調整することができる技術を提供することを目的とする。
【課題を解決するための手段】
【0007】
上述した課題を解決するため、本発明の一態様は、昇降される遮蔽材の上限位置である上昇限界位置を調整可能な遮蔽装置であって、回転軸方向が前後方向を向くギアである第1回転部材と、前記第1回転部材と噛み合い、回転軸方向が左右方向を向くギアである第2回転部材と、前記第2回転部材と一体回転可能に設けられた調整軸の回転により、前記遮蔽材を昇降させる昇降軸を回転させることで前記上昇限界位置を調整可能な上昇限界位置規制機構とを備える。
【発明の効果】
【0008】
本発明によれば、より容易に上昇限界位置を調整することができる。
【図面の簡単な説明】
【0009】
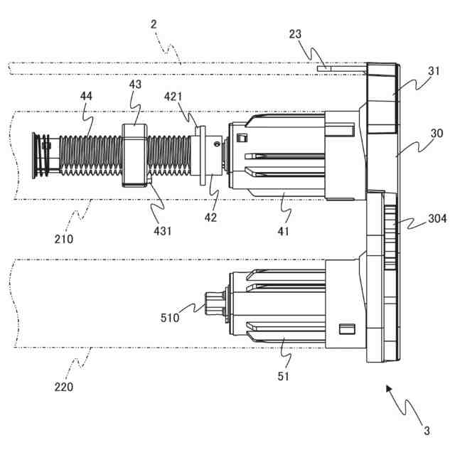
第1実施形態に係る遮蔽装置の構成を示す斜視図である。
上昇限界位置規制機構の構成を示す正面図である。
クラッチ機構の構成を示す側面図である。
操作装置の構成を示す側面図である。
第1クラッチ装置、第2クラッチ装置及び操作装置の構成を示す斜視図である。
操作装置内の駆動機構の構成を示す分解斜視図である。
操作装置内の駆動機構の構成を示す側面図である。
操作装置内の調整機構の構成を示す分解斜視図である。
第1回転部材の構成を示す斜視図である。
カバーの構成を示す斜視図である。
規制状態にある調整機構を示す側面図である。
非規制状態にある調整機構を示す側面図である。
第1スクリーンが上昇される遮蔽装置の構成を示す斜視図である。
第1スクリーンが上昇される第1巻取パイプ及び第2巻取パイプ内の構成を示す正面図である。
上昇調整される遮蔽装置を示す斜視図である。
上昇調整される調整機構を示す図である。
上昇調整される遮蔽装置における図14のA-A断面相当図である。
下降調整される遮蔽装置を示す斜視図である。
下降調整される調整機構を示す図である。
下降調整される遮蔽装置における図14のA-A断面相当図である。
第2実施形態に係る調整機構の構成を示す正面図である。
第2実施形態に係る調整機構の構成を示す側面図である。
【発明を実施するための形態】
【0010】
本発明に係る実施形態について図面を参照しつつ説明する。本実施形態においては、遮蔽材として昇降可能なスクリーンを備えるロールスクリーンである遮蔽装置を例にとり説明を行う。なお、本実施形態においては、遮蔽装置が設けられた際の室内側の面を正面、室外側の面を背面、正面と背面とからなる方向を前後方向、遮蔽装置の幅方向を左右方向と称して以後説明を行う。また、本明細書及び図面において、実質的に同一の機能を有する構成要素については、同一の符号を付することにより重複説明を省略する。
(【0011】以降は省略されています)
この特許をJ-PlatPat(特許庁公式サイト)で参照する
関連特許
株式会社ニチベイ
遮蔽装置
4日前
株式会社ニチベイ
遮蔽装置
1か月前
株式会社ニチベイ
遮蔽構造
2か月前
株式会社ニチベイ
縦型ブラインド
24日前
株式会社ニチベイ
ロールスクリーン
1か月前
株式会社ニチベイ
ロールスクリーン
2か月前
株式会社ニチベイ
ブラインド用カバー装置
1か月前
株式会社ニチベイ
ルーバー回転装置及び間仕切装置
1か月前
株式会社ニチベイ
ルーバー回転装置及び間仕切装置
1か月前
株式会社ニチベイ
回転規制具及びロールスクリーン
2か月前
中国電力株式会社
脚立
3か月前
株式会社ナカオ
作業台
2か月前
株式会社ESP
止水板
3か月前
株式会社ニチベイ
遮蔽装置
1か月前
三協立山株式会社
開口部装置
3か月前
三協立山株式会社
開口部建材
24日前
三協立山株式会社
開口部建材
24日前
三協立山株式会社
開口部装置
2か月前
三協立山株式会社
開口部装置
2か月前
三協立山株式会社
開口部装置
1か月前
三協立山株式会社
開口部装置
3か月前
三協立山株式会社
開口部装置
3か月前
ミサワホーム株式会社
水切り材
3か月前
文化シヤッター株式会社
止水装置
1か月前
株式会社ニチベイ
縦型ブラインド
3か月前
豊田合成株式会社
調光装置
23日前
不二サッシ株式会社
引違いサッシ
1か月前
文化シヤッター株式会社
引戸装置
1か月前
豊田合成株式会社
調光装置
1か月前
不二サッシ株式会社
引違いサッシ
2か月前
株式会社LIXIL
太陽電池ガラス
2か月前
三協立山株式会社
サッシの製造方法
2か月前
株式会社LIXIL
建具
3か月前
倉敷紡績株式会社
外構ユニット
1か月前
株式会社LIXIL
建具
1か月前
三協立山株式会社
エクステリア構成材
3か月前
続きを見る
他の特許を見る