TOP
|
特許
|
意匠
|
商標
特許ウォッチ
Twitter
他の特許を見る
10個以上の画像は省略されています。
公開番号
2025172401
公報種別
公開特許公報(A)
公開日
2025-11-26
出願番号
2024077892
出願日
2024-05-13
発明の名称
接続体、および接続体の接続方法
出願人
日本航空電子工業株式会社
代理人
個人
,
個人
,
個人
主分類
H01R
13/20 20060101AFI20251118BHJP(基本的電気素子)
要約
【課題】部品点数の増加を抑制し、大電流にも耐えられる接続を実現可能とする。
【解決手段】接続体1Bにおける、第2のボルト挿通部10Bbと第3のボルト挿通部50Bbとは、以下の位置関係にある。一対の第1端子20Bの基部20Bbの夫々を第2切り欠き部10Baの夫々に挿入し、一対の第2端子61Bの夫々を第1コンタクト部20Baの端部の夫々に搭載し、一対の第1押圧部50Baの夫々を第2コンタクト部61Baの端部の夫々に搭載した状態において、1つのボルト80Bを挿通して締結可能な位置関係にある。この締結により、第1コンタクト部20Baの夫々と第2コンタクト部61Baの夫々とが導通する。
【選択図】図14
特許請求の範囲
【請求項1】
両端に設けられた一対の第2切り欠き部と、前記一対の第2切り欠き部の間に設けられた第2のボルト挿通部と、を有する第1絶縁プレートと、
前記第2切り欠き部に挿入可能な平板状の基部と、前記基部の長さ方向の一端と連接するものであって、前記基部の幅方向の両側に前記第2切り欠き部の幅よりも広い幅を有して延設された平板状の第1コンタクト部と、を有する一対の第1端子と、
前記一対の第1端子の夫々において、前記第1コンタクト部における前記基部とは反対側の端部上に搭載可能な平板状の第2コンタクト部を有する一対の第2端子と、
前記一対の第2端子の夫々において、前記第2コンタクト部における前記第1端子とは反対側の面上に搭載可能な一対の第1押圧部と、前記一対の第1押圧部を連結する第1連結部と、前記第1連結部に設けられた第3のボルト挿通部と、を有する第2絶縁プレートと、
を有し、
前記第2のボルト挿通部と前記第3のボルト挿通部の位置関係は、前記第1端子の基部の夫々を前記第2切り欠き部の夫々に挿入し、前記第2端子の夫々を前記第1コンタクト部の端部の夫々に搭載し、前記第1押圧部の夫々を前記第2コンタクト部の端部の夫々に搭載した状態において、1つのボルトを挿通して締結可能な位置関係にあり、前記締結により、前記第1コンタクト部の夫々と前記第2コンタクト部の夫々とが導通する、
接続体。
続きを表示(約 3,400 文字)
【請求項2】
両端に設けられた一対の第1切り欠き部と、前記一対の第1切り欠き部の間に設けられた第1のボルト挿通部と、を有する第1金属プレートと、
前記第1金属プレート上に搭載したときに、前記一対の第1切り欠き部と対向する位置に設けられた一対の第2切り欠き部と、前記一対の第2切り欠き部の間に設けられた第2のボルト挿通部と、を有する第1絶縁プレートと、
前記一対の第1切り欠き部と前記一対の第2切り欠き部とを夫々対向させて、前記第1金属プレート上に前記第1絶縁プレートを搭載した第1状態において、前記第1切り欠き部と前記第2切り欠き部とにより形成された第3切り欠き部に挿入可能な平板状の基部と、前記基部の長さ方向の一端と連接するものであって、前記基部の幅方向の両側に前記第3切り欠き部の幅よりも広い幅を有して延設された平板状の第1コンタクト部と、を有する一対の第1端子と、
前記一対の第1端子の夫々において、前記第1コンタクト部における前記基部とは反対側の端部上に搭載可能な平板状の第2コンタクト部を有する一対の第2端子と、
前記一対の第2端子の夫々において、前記第2コンタクト部における前記第1端子とは反対側の面上に搭載可能な一対の第1押圧部と、前記一対の第1押圧部を連結する第1連結部と、前記第1連結部に設けられた第3のボルト挿通部と、を有する第2絶縁プレートと、
前記一対の第1押圧部の夫々において、前記第2コンタクト部とは反対側の前記第1押圧部上に搭載可能な一対の第2押圧部と、前記一対の第2押圧部を連結する第2連結部と、前記第2連結部に設けられた第4のボルト挿通部と、を有する第2金属プレートと、
を有し、
前記第1から第4のボルト挿通部の位置関係は、前記第1状態において前記第1端子の基部の夫々を前記第3切り欠き部の夫々に挿入し、前記第2端子の夫々を前記第1コンタクト部の端部の夫々に搭載し、前記第1押圧部の夫々を前記第2コンタクト部の端部の夫々に搭載し、前記第2押圧部の夫々を前記第1押圧部の夫々に搭載した第2状態において、1つのボルトを挿通して締結可能な位置関係にあり、前記締結により、前記第1コンタクト部の夫々と前記第2コンタクト部の夫々とが導通する、
接続体。
【請求項3】
前記第1端子と、前記第1金属プレートとは接触することなく所定の間隔を有している、請求項2に記載の接続体。
【請求項4】
ヘッダーと、前記ヘッダーと嵌合されるプラグハーネスとからなる接続体であって、
前記ヘッダーは、
貫通して平行に設けられた一対の第1穴部と、前記一対の第1穴部の間に前記一対の第1穴部に平行に設けられた第2のボルト挿通部と、を有する絶縁材からなる第1ハウジングと、
一端に第1コンタクト面を有し、前記第1穴部の夫々に前記第1コンタクト面側から挿入可能な平板形状の第1コンタクト部を有する一対の第1端子と、
前記第1穴部の夫々に前記第1端子の夫々を前記第1コンタクト面から挿入した第1状態において、前記第1端子の夫々を、前記第1コンタクト面とは反対側の面側から前記第1コンタクト面側に押圧するための一対の第1押圧部と、前記第1押圧部を連接するための連接部と、前記連接部に設けられた第1のボルト挿通部とを有する、絶縁材からなる第1押さえ部材と、を有し、
前記プラグハーネスは、
前記プラグハーネスが前記ヘッダーに嵌合された場合に、少なくとも一部が、前記第1コンタクト面と対向するように平行に設けられた一対の第2穴部と、前記第2穴部の夫々の一部を包含し、前記第2穴部の穴の方向と交わる第1軸の一方向に開口する開口部と、前記一対の第2穴部の間に前記第1軸に平行に設けられた第3のボルト挿通部と、を有する、前記第1ハウジングと嵌合可能な絶縁材からなる第2ハウジングと、
一端に前記第2穴部の夫々に挿入可能な平板形状の第2コンタクト部を有する一対の第2端子と、
前記第2ハウジングの外側の面であって前記第3のボルト挿通部が設けられた第1面の所定領域を前記一方向に押圧するための第2押圧部と、前記第2押圧部を貫通する第4のボルト挿通部と、を有する、第2押さえ部材と、
を備え、
前記第1から第4のボルト挿通部の位置関係は、前記第1状態の内、前記一対の第1押圧部が前記第1端子の夫々を押圧可能な状態とし、前記一対の第2端子を前記一対の第2穴部にそれぞれ挿入し、前記第1ハウジングと前記第2ハウジングとを、前記第1穴部の夫々と前記開口部とを対向させて嵌合し、前記第2押さえ部材の前記第2押圧部を前記所定領域上に搭載し、前記第1押さえ部材の第1押圧部の夫々を前記第1端子の前記第1コンタクト面とは反対側の面に当接可能とした第2状態とした場合に、1つのボルトを挿通して締結可能な位置関係にあり、前記締結により、前記第1コンタクト部の夫々と前記第2コンタクト部の夫々とが導通する、
接続体。
【請求項5】
前記一対の第1コンタクト部及び前記一対の第2コンタクト部は、少なくとも一方が前記ボルトの挿通方向に沿って起立するように設けられている、請求項4に記載の接続体。
【請求項6】
前記一対の第2端子の夫々は複数の心線から構成され、前記第2コンタクト部の夫々は、前記心線をコンパクション加工して形成されている、請求項4に記載の接続体。
【請求項7】
前記第1コンタクト部の夫々は、前記第1押さえ部材に対して起立した姿勢になるように設けられおり、
前記第1コンタクト部の夫々の一方の端部周辺の周囲を、前記端部を露出した状態で覆う一対のシャッター部を有するシャッター部材を更に有する、
請求項4に記載の接続体。
【請求項8】
前記シャッター部材は、一対のシャッター部の間を連接する連接部と、前記連接部に設けられた前記ボルトの挿通が可能な第5のボルト挿通部を有するものであり、
前記第1押さえ部材と前記連接部との間に設けられる弾性部材と、をさらに備え、
前記締結の完了前は、前記シャッター部材が前記弾性部材に押圧されることで、前記シャッター部の端部は前記第1コンタクト部の端部より前記第1押圧部の押圧方向側に位置し、前記締結の完了前から完了に至るまでに、前記シャッター部材は、前記第1コンタクト部の端部が前記第2コンタクトと導通可能な位置に移動する、
請求項7に記載の接続体。
【請求項9】
前記第3のボルト挿通部における前記第2押さえ部材側に、防水部材が設けられている、請求項8記載の接続体。
【請求項10】
両端に設けられた一対の第2切り欠き部と、前記一対の第2切り欠き部の間に設けられた第2のボルト挿通部と、を有する第1絶縁プレートと、
前記第2切り欠き部に挿入可能な平板状の基部と、前記基部の長さ方向の一端と連接するものであって、前記基部の幅方向の両側に前記第2切り欠き部の幅よりも広い幅を有して延設された平板状の第1コンタクト部と、を有する一対の第1端子と、
前記一対の第1端子の夫々において、前記第1コンタクト部における前記基部とは反対側の端部上に搭載可能な平板状の第2コンタクト部を有する一対の第2端子と、
前記一対の第2端子の夫々において、前記第2コンタクト部における前記第1端子とは反対側の面上に搭載可能な一対の第1押圧部と、前記一対の第1押圧部を連結する第1連結部と、前記第1連結部に設けられた第3のボルト挿通部と、を有する第2絶縁プレートと、を用意し、
前記第1端子の基部の夫々を前記第2切り欠き部の夫々に挿入し、
前記第2端子の夫々を前記第1コンタクト部の端部の夫々に搭載し、
前記第1押圧部の夫々を前記第2コンタクト部の端部の夫々に搭載し、
前記第3のボルト挿通部から前記第2のボルト挿通部に、1つのボルトを挿通して、前記第1コンタクト部の夫々と前記第2コンタクト部の夫々とを導通させる、
接続体の接続方法。
(【請求項11】以降は省略されています)
発明の詳細な説明
【技術分野】
【0001】
本開示は接続体の接続構造に関する。
続きを表示(約 2,800 文字)
【背景技術】
【0002】
コネクタアセンブリの従来技術として、例えば、特許文献1のように、構造の簡素化により製造コストの低減や小型化を図るものがある。図15,16は、従来技術のコネクタアセンブリの構造を示した図である。図15,16のコネクタアセンブリは、コネクタアセンブリ10が、第1コネクタ12と第2コネクタ14を含み、第1コネクタ12は、金属製の筐体20から外方に突出する第1端子金具16と、第1端子金具16を囲って筐体20から突出する金属製のフード部22とを備え、第2コネクタ12は、第1端子金具16と接続される第2端子金具18と、第2端子金具18を収容する絶縁性のハウジング74と、ハウジング74の外面側に固定的に配設される金属製の平板部76と、を備え、第1コネクタ12と第2コネクタ14の嵌合状態で、第1コネクタ12のフード部22内
に第2コネクタ14のハウジング74が収容配置されて、フード部22の突出端面64に平板部76の接触部156が載置されて接続されており、フード部22の突出側開口部58が平板部76に覆われている。
【先行技術文献】
【特許文献】
【0003】
特開2024-4140号公報
【発明の概要】
【発明が解決しようとする課題】
【0004】
特許文献1のコネクタアセンブリは、第1コネクタ12と第2コネクタ14との嵌合状態において、締結ボルト190を挿通して、第1コネクタ12と第2コネクタ14とを相互に固定する(段落0074)。また、このコネクタアセンブリは、第1コネクタ12と第2コネクタ14との導通は、各第1端子金具16と各第2端子金具18とが電気的に導通状態とされるようになっている(段落0073)。ここで、第2端子金具18は、第2端子金具本体86と、第2端子金具本体86の先端部(前端部)に取り付けられる弾性部材としてのクリップばね88とを含んで構成されている(0040段落)。即ち、特許文献1のコネクタアセンブリは、締結ボルト190を挿通して、嵌合させるとともに、クリップばね88により導通を図る構成を採用しており、例えば大電流に向けた接続構造としては、部品点数が増加してしまう他、接触強度が不足してしまうという課題があった。
【0005】
本開示は、上記課題に鑑み、部品点数の増加を抑制し、大電流にも耐えられる接続を実現可能とする接続体を提供することを目的とする。
【課題を解決するための手段】
【0006】
上記課題を解決するために、本実施形態に係る接続体は、両端に設けられた一対の第2切り欠き部と、一対の第2切り欠き部の間に設けられた第2のボルト挿通部と、を有する第1絶縁プレートと、第2切り欠き部に挿入可能な平板状の基部と、基部の長さ方向の一端と連接するものであって、基部の幅方向の両側に第2切り欠き部の幅よりも広い幅を有して延設された平板状の第1コンタクト部と、を有する一対の第1端子と、一対の第1端子の夫々において、第1コンタクト部における基部とは反対側の端部上に搭載可能な平板状の第2コンタクト部を有する一対の第2端子と、一対の第2端子の夫々において、第2コンタクト部における第1端子とは反対側の面上に搭載可能な一対の第1押圧部と、一対の第1押圧部を連結する第1連結部と、第1連結部に設けられた第3のボルト挿通部と、を有する第2絶縁プレートと、を有する。第2のボルト挿通部と第3のボルト挿通部の位置関係は、第1端子の基部の夫々を第2切り欠き部の夫々に挿入し、第2端子の夫々を第1コンタクト部の端部の夫々に搭載し、第1押圧部の夫々を第2コンタクト部の端部の夫々に搭載した状態において、1つのボルトを挿通して締結可能な位置関係にあり、締結により、第1コンタクト部の夫々と第2コンタクト部の夫々とが導通する。
【発明の効果】
【0007】
本実施形態の接続体によれば、部品点数の増加を抑制し、大電流にも耐えられる接続を実現できる。
【図面の簡単な説明】
【0008】
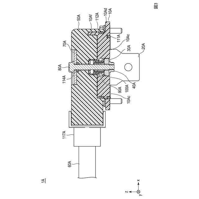
図1は、第1実施形態に係る接続体の一実施例を示した図であり、Aは斜視図、Bは平面図、Cは左側面図である。
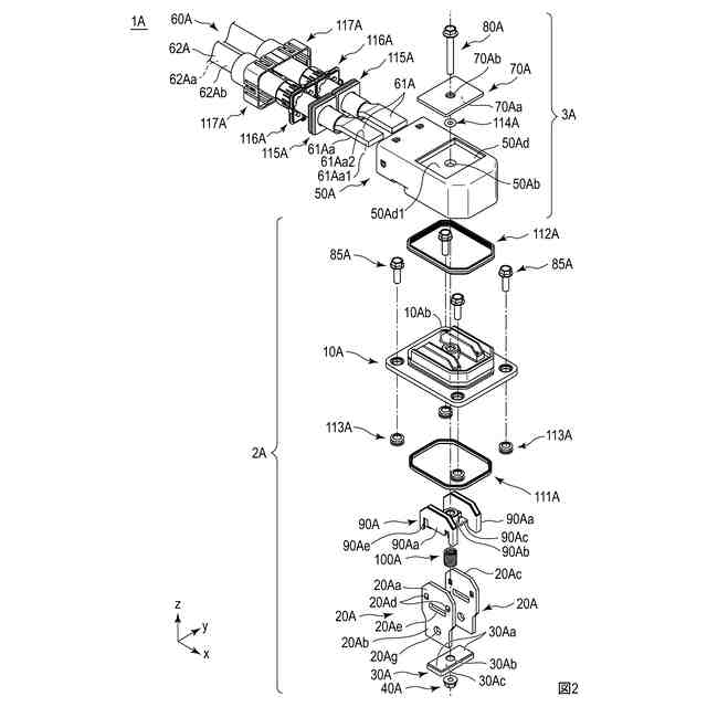
図2は、接続体1Aの分解斜視図である。
図3は、図1BのK-K断面図である。
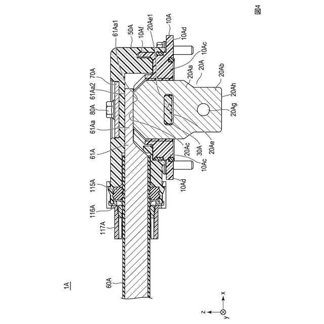
図4は、図1BのL-L断面図である。
図5は、図1CのI-I断面図である。
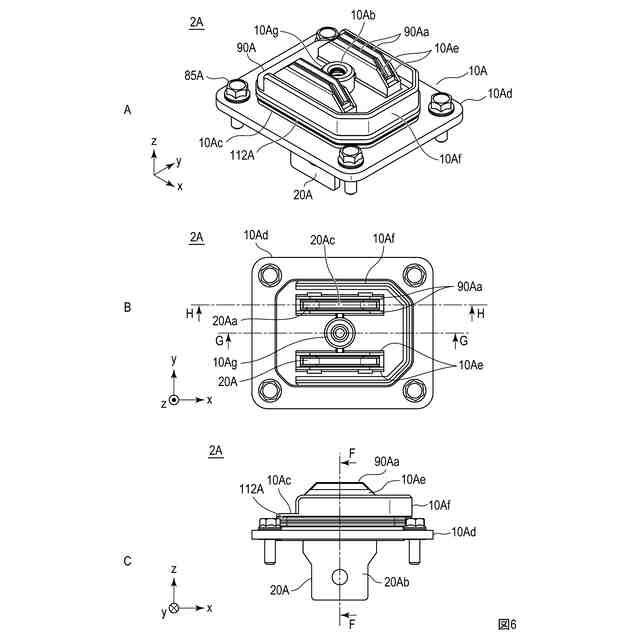
図6は、ヘッダー2Aを示した図であり、Aは斜視図、Bは平面図、Cは左側面図である。
図7は、図6CのF-F断面図である。
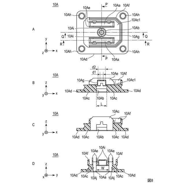
図8は、第1ハウジング10Aを示した図であり、Aは平面図、BはAのQ-Q断面図、CはAのR-R断面図、DはAのP-P断面図である。
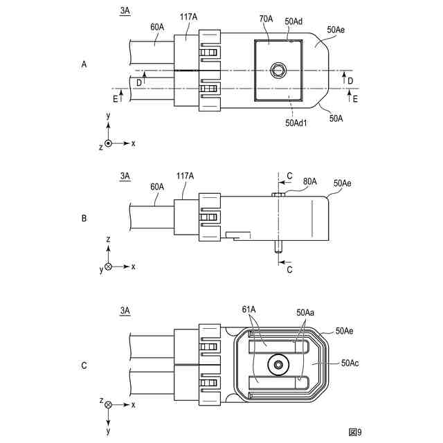
図9は、プラグハーネス3Aを示した図であり、Aは平面図、Bは左側面図、Cは底面図である。
図10は、第2ハウジング50Aを示した図であり、Aは平面図、BはAのN-N断面図、CはAのO-O断面図、DはAのM-M断面図である。
図11は、第2実施形態に係る接続体の一実施例を示した図であり、Aは斜視図、Bは平面図、Cは左側面図である。
図12は、接続体1Bを示した図であり、Aは底面図、Bは正面図、Cは図11BのB-B断面図である。
図13は、接続体1Bを示した図であり、Aは図11BのJ-J断面図、Bは図11CのA-A断面図である。
図14は、接続体1Bの分解斜視図である。
図15は、従来技術のコネクタアセンブリを示した図である。
図16は、従来技術のコネクタアセンブリを示した図である。
【発明を実施するための形態】
【0009】
<<第1実施形態>>
以下、本開示の第1実施形態に係る接続体について図面を参照して説明する。なお、同じ機能を有する構成部には同じ番号を付し、重複説明を省略する。図1は、第1実施形態に係る接続体の一実施例を示した図であり、Aは斜視図、Bは平面図、Cは左側面図である。図2は、接続体1Aの分解斜視図である。図3は、図1BのK-K断面図である。図4は、図1BのL-L断面図である。
【0010】
本開示の接続体は、例えば、数百アンペアの大電流向けのコネクタである。但し、本開示の接続体は、電流の大きさに制限はなく、更に大きな電流、あるいはこれよりも小さな電流での適用を妨げない。本実施形態における接続体1Aは、図1,2に示すように、ヘッダー2Aと、ヘッダー2Aと嵌合されるプラグハーネス3Aとから構成されている。
(【0011】以降は省略されています)
この特許をJ-PlatPat(特許庁公式サイト)で参照する
関連特許
日本航空電子工業株式会社
コネクタ
22日前
日本航空電子工業株式会社
接続体、および接続体の接続方法
3日前
APB株式会社
蓄電セル
1か月前
東ソー株式会社
絶縁電線
1か月前
個人
フレキシブル電気化学素子
1か月前
ローム株式会社
半導体装置
1か月前
株式会社東芝
端子台
1か月前
マクセル株式会社
電源装置
1か月前
株式会社ユーシン
操作装置
1か月前
日新イオン機器株式会社
イオン源
1か月前
株式会社GSユアサ
蓄電装置
1か月前
株式会社GSユアサ
蓄電装置
23日前
株式会社GSユアサ
蓄電装置
1か月前
三菱電機株式会社
回路遮断器
17日前
株式会社GSユアサ
蓄電設備
1か月前
株式会社GSユアサ
蓄電設備
1か月前
株式会社GSユアサ
蓄電装置
9日前
オムロン株式会社
電磁継電器
1か月前
太陽誘電株式会社
コイル部品
1か月前
株式会社ホロン
冷陰極電子源
1か月前
富士電機株式会社
電磁接触器
9日前
日本特殊陶業株式会社
保持装置
1か月前
トヨタ自動車株式会社
冷却構造
1か月前
大電株式会社
電線又はケーブル
1日前
日東電工株式会社
積層体
1か月前
日本特殊陶業株式会社
保持装置
22日前
トヨタ自動車株式会社
蓄電装置
1か月前
トヨタ自動車株式会社
蓄電装置
1日前
ホシデン株式会社
複合コネクタ
3日前
サクサ株式会社
電池の固定構造
1か月前
トヨタ自動車株式会社
バッテリ
1か月前
日新イオン機器株式会社
基板処理装置
1か月前
ノリタケ株式会社
熱伝導シート
1か月前
トヨタ自動車株式会社
蓄電装置
1か月前
北道電設株式会社
配電具カバー
1か月前
株式会社ダイヘン
搬送装置
1か月前
続きを見る
他の特許を見る