TOP
|
特許
|
意匠
|
商標
特許ウォッチ
Twitter
他の特許を見る
10個以上の画像は省略されています。
公開番号
2025172284
公報種別
公開特許公報(A)
公開日
2025-11-26
出願番号
2024077655
出願日
2024-05-13
発明の名称
スキャナスタンド、及びPOS端末
出願人
ステアリテール株式会社
代理人
個人
主分類
G07G
1/00 20060101AFI20251118BHJP(チェック装置)
要約
【課題】 店員が顧客と対面で操作可能な操作モードと、顧客が自身で操作可能な操作モードと、が切り替えられるPOS端末において、利便性の低下を抑制することが可能なスキャナスタンド等を提供することを目的の一つとする。
【解決手段】 本開示の一態様にかかるスキャナスタンドは、POS端末が有するスキャナを設置可能な設置台と、前記POS端末の一部と接続する接続部を有し、前記POS端末の側面に対する方向に延在する支持部と、を備え、前記支持部は、一端において、前記設置台を、前記POS端末に接近する方向に移動可能に支持する。
【選択図】 図2
特許請求の範囲
【請求項1】
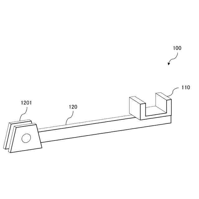
POS端末が有するスキャナを設置可能な設置台と、
前記POS端末の一部と接続する接続部を有し、前記POS端末の側面に対する方向に延在する支持部と、を備え、
前記支持部は、一端において、前記設置台を、前記POS端末に接近する方向に移動可能に支持する、
スキャナスタンド。
続きを表示(約 1,100 文字)
【請求項2】
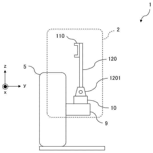
前記支持部は、前記接続部と前記設置台との間に、前期POS端末の側面方向を回転軸とする回動機構を有し、
前記支持部は、前期設置台とともに、前記回転軸を中心に回動する、
請求項1に記載のスキャナスタンド。
【請求項3】
前記接続部には、貫通孔が設けられ、
前記支持部は、前記貫通孔と嵌合し、
前記支持部は、前記貫通孔に沿ってスライドする、
請求項1に記載のスキャナスタンド。
【請求項4】
前記支持部は、延在方向に伸縮する伸縮機構を有する、
請求項1に記載のスキャナスタンド。
【請求項5】
前記支持部は、前記設置台を、前記POS端末に接近する方向に移動させ、前記POS端末が有するディスプレイの背面側に収納する、
請求項1乃至4のいずれかに記載のスキャナスタンド。
【請求項6】
前記POS端末は、二のディスプレイを背中合わせに配置し、
前記支持部は、前記設置台を、前記POS端末に接近する方向に移動させ、ディスプレイ間の空間に収納させる、
請求項5に記載のスキャナスタンド。
【請求項7】
前記POS端末の側面に対する方向に延在する前記支持部は、前記POS端末が有するディスプレイの下端よりも高い位置に設置され、
前記設置台は、前記POS端末の外側に位置する、
請求項1に記載のスキャナスタンド。
【請求項8】
前記支持部は、前記設置台の前記支持部に対する角度を調整可能に支持する、
請求項1に記載のスキャナスタンド。
【請求項9】
前記接続部は、前記POS端末の載置台に対して鉛直上方向に接続する支柱と接続され、
前記接続部は、当該支柱の延在方向を回転軸として、前記支持部を回動可能な回動機構を有する、
請求項1に記載のスキャナスタンド。
【請求項10】
商品を識別する商品コードを読み取るスキャナを有し、
店員が操作する有人レジモードと、顧客が操作するセルフレジモードと、に操作モードを切り替え可能なPOS端末であって、
前記スキャナは、操作モードのそれぞれにおいて共有され、
前記スキャナを設置可能な設置台と、自端末の一部と接続する接続部を有し、自端末の側面に対する方向に延在する支持部と、を備えるスキャナスタンドを有し、
前記支持部は、一端において、前記設置台を、自端末に接近する方向に移動可能に支持する、
POS端末。
発明の詳細な説明
【技術分野】
【0001】
本開示は、スキャナスタンド、及びPOS端末に関する。
続きを表示(約 1,300 文字)
【背景技術】
【0002】
操作モードが切り替えられるPOS(Point Of Sales)端末が存在する。操作モードの一例は、店員がPOS端末越しに顧客と対面して操作を行うモードである。この場合、店員がPOS端末の操作を行うことにより、商品の登録及び精算等が行われる。また、操作モードの一例は、顧客が自身で操作を行うモードである。この場合、顧客が、店員側とは反対側から、自身でPOS端末を操作することにより、商品の登録及び精算等が行われる。
【0003】
操作モードが切り替えられるPOS端末には、店員側と店員側とは反対側である顧客側とのそれぞれに、POS端末を操作するための入力装置が設けられることがある。一方で、このような、操作モードが切り替えられるPOS端末においては、各操作モードで、商品コードを読み取るスキャナが共有されることがある。
【0004】
特許文献1では、精算装置の前面側と背面側に表示部をそれぞれ設け、顧客側に現金決済可能な決済部を向けた対面型の精算装置が開示される。さらに、特許文献1には、精算装置の各動作モードにおいて、1つのスキャナ部を共通で使用することが開示される。
【先行技術文献】
【特許文献】
【0005】
特開2021-185532号公報
【発明の概要】
【発明が解決しようとする課題】
【0006】
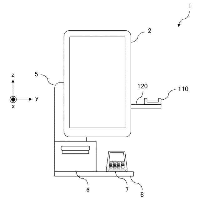
スキャナがハンドスキャナである場合、スキャナを設置するスタンドが設けられることがある。各操作モードでスキャナが共有される場合、店員が操作可能な操作モードでは、スキャナは、店員側で利用される。また、顧客が自身で操作を行うモードでは、スキャナは、顧客側で利用される。すなわち、店員が操作可能な操作モードと顧客が自身で操作を行うモードとでは、スキャナを利用した操作を行う場所が異なる。
【0007】
そのため、この場合において、POS端末の側面側等の、顧客側からも店員側からも操作者がスキャナを扱うことが可能な位置に、スキャナスタンドが設置されることが考えられる。
【0008】
ここで、店員が操作可能な操作モードの場合、店員と顧客との間で、商品の受け渡し等が行われる。例えば、POS端末の側面側の空間において、商品の受け渡しが行われる。このとき、スキャナスタンドが設置されていると、商品の受け渡しが行われる空間が狭くなる可能性があり、円滑な販売業務が阻害されるおそれがある。すなわち、POS端末の利便性が低下するおそれがある。
【0009】
特許文献1には、スキャナスタンドについては開示されていない。
【0010】
本開示は、上記課題を鑑みてなされたものであり、店員が顧客と対面で操作可能な操作モードと、顧客が自身で操作可能な操作モードと、が切り替えられるPOS端末において、利便性の低下を抑制することが可能なスキャナスタンド等を提供することを目的の一つとする。
【課題を解決するための手段】
(【0011】以降は省略されています)
この特許をJ-PlatPat(特許庁公式サイト)で参照する
関連特許
個人
自動販売機
6日前
株式会社イシダ
商品処理装置
2か月前
株式会社バンダイ
物品供給装置
4か月前
株式会社タムラ製作所
自動販売機
21日前
富士電機株式会社
通貨識別装置
4か月前
沖電気工業株式会社
媒体処理装置
3か月前
アサヒ飲料株式会社
遠隔決済方法
26日前
沖電気工業株式会社
媒体処理装置
3か月前
沖電気工業株式会社
媒体処理装置
3か月前
沖電気工業株式会社
紙幣処理装置
3か月前
沖電気工業株式会社
施錠開閉装置
1か月前
富士電機株式会社
自動販売機
3か月前
株式会社ライト
情報処理装置
3か月前
株式会社ライト
情報処理装置
3か月前
株式会社ライト
情報処理装置
4か月前
富士電機株式会社
金銭処理装置
4か月前
株式会社デンソー
車載器
2か月前
グローリー株式会社
物品投出装置
2か月前
グローリー株式会社
貨幣処理装置
26日前
株式会社トイスピリッツ
景品提供システム
3か月前
株式会社寺岡精工
商品登録システム
1か月前
アサヒ飲料株式会社
自動販売機の決済方法
26日前
日本金銭機械株式会社
硬貨処理装置
2か月前
日本金銭機械株式会社
硬貨処理装置
2か月前
ユニティガードシステム株式会社
入館監視システム
3か月前
株式会社知財事業研究所
特殊駐車場システム
15日前
株式会社寺岡精工
販売データ処理装置
1か月前
沖電気工業株式会社
媒体処理装置
2か月前
旭精工株式会社
紙葉類処理装置および紙葉類処理方法
2か月前
沖電気工業株式会社
現金処理装置及び印字装置
2か月前
沖電気工業株式会社
棒金収納装置
2か月前
沖電気工業株式会社
現金処理装置
3か月前
沖電気工業株式会社
棒金収納装置
3か月前
沖電気工業株式会社
媒体識別装置及び媒体処理装置
3か月前
沖電気工業株式会社
硬貨処理装置及び貨幣取扱装置
3か月前
株式会社バンダイ
物品供給装置、及び物品供給装置セット
1か月前
続きを見る
他の特許を見る