TOP
|
特許
|
意匠
|
商標
特許ウォッチ
Twitter
他の特許を見る
10個以上の画像は省略されています。
公開番号
2025172240
公報種別
公開特許公報(A)
公開日
2025-11-20
出願番号
2025158595,2024121245
出願日
2025-09-24,2023-03-07
発明の名称
洗濯機
出願人
アイリスオーヤマ株式会社
代理人
個人
,
個人
主分類
D06F
39/02 20060101AFI20251113BHJP(繊維または類似のものの処理;洗濯;他に分類されない可とう性材料)
要約
【課題】限られたスペースであっても自動投入部を設けることが可能な縦型洗濯機を実現することである。
【解決手段】縦型洗濯機は、水槽と前記水槽内に回転可能に設けられる回転槽とを含む洗濯槽と、前記洗濯槽を収容する本体部と、前記本体部の上側に設けられる上カバー部と、複数のタンクに収容された洗濯処理剤を前記洗濯槽に投入する自動投入部と、1回分の洗濯処理剤が投入される手動投入部と、前記自動投入部と連通する自動投入経路と、前記手動投入部と連通する手動投入経路とを有する注水部と、を備え、前記手動投入部と前記注水部とは管部によって接続される。
【選択図】図2
特許請求の範囲
【請求項1】
水槽と前記水槽内に回転可能に設けられる回転槽とを含む洗濯槽と、
前記洗濯槽を収容する本体部と、
タンクに収容された洗濯処理剤を前記洗濯槽に投入する自動投入手段と、
を備え、
前記タンクは、前側に位置する前室と、当該前室の上部から後方に延伸し、前記前室よりも底面が高い後室とを有し、
前記自動投入手段が、前記前室の後側であって、前記後室の下側に配されている、
洗濯機。
続きを表示(約 600 文字)
【請求項2】
前記後室の底面である後底壁部が前側下がりに傾斜している、
請求項1に記載の洗濯機。
【請求項3】
前記前室に吸引管が取り付けられ、
当該吸引管に前記自動投入手段が接続される、
請求項1又は2に記載の洗濯機。
【請求項4】
前記タンクは左右方向に複数並んで設けられており、
前記自動投入手段は、複数の前記タンクにそれぞれ設けられ、複数の前記タンクの並び方向に沿って並んでいる、
請求項1又は2に記載の洗濯機。
【請求項5】
複数の前記タンクを収容し、前記タンクをそれぞれ前側から出し入れ可能とするタンク収容部を有し、
前記タンク収容部は、隣接する前記タンクの並び方向の位置決めを行う位置決め部を有している、
請求項4に記載の洗濯機。
【請求項6】
前記洗濯槽の中心軸が上下方向に延伸する縦型洗濯機であって、
前記本体部の上側に設けられ、前記洗濯槽への洗濯物の投入及び取り出しを可能とする開口部を有する上カバー部を備えており、
前記タンク収容部は前記上カバー部の内周壁部の後側に設けられている、
請求項5に記載の洗濯機。
【請求項7】
前記上カバー部は、天壁部が後上がり状に傾斜している、
請求項6に記載の洗濯機。
発明の詳細な説明
【技術分野】
【0001】
本発明は、洗濯槽を備える洗濯機に関する。
続きを表示(約 2,900 文字)
【背景技術】
【0002】
近年、ドラム式の洗濯機においては、手動用の洗剤収容ケースに加えて、洗剤や柔軟仕上剤などの洗濯処理剤をタンク内に予め複数回分貯留しておき、洗濯運転中に、ポンプの駆動により必要量をタンクから自動的に水槽内へ投入する自動投入装置を設けることが提案されている(特許文献1)。
【先行技術文献】
【特許文献】
【0003】
特開2017-74080号公報
【発明の概要】
【発明が解決しようとする課題】
【0004】
上記の洗濯機では、自動投入装置を縦型洗濯機に設ける場合、ドラム式洗濯機よりも狭い空間に組込まなければならないといった問題がある。
本発明は、限られたスペースであっても自動投入部を設けることが可能な縦型洗濯機を実現することである。
【課題を解決するための手段】
【0005】
本発明に係る縦型洗濯機は、水槽と前記水槽内に回転可能に設けられる回転槽とを含む洗濯槽と、前記洗濯槽を収容する本体部と、前記本体部の上側に設けられる上カバー部と、複数のタンクに収容された洗濯処理剤を前記洗濯槽に投入する自動投入部と、1回分の洗濯処理剤が投入される手動投入部と、を備え、前記自動投入部は、前記上カバー部の前後方向の後側に位置し、前記手動投入部は、前記上カバー部の前記タンクの並び方向のいずれか一方側、又は、前後方向における前側に存在する。
本発明に係る縦型洗濯機は、水槽と前記水槽内に回転可能に設けられる回転槽とを含む洗濯槽と、前記洗濯槽を収容する本体部と、前記本体部の上側に設けられる上カバー部と、複数のタンクに収容された洗濯処理剤を前記洗濯槽に投入する自動投入部と、1回分の洗濯処理剤が投入される手動投入部と、を備え、前記自動投入部は、前記上カバー部の前後方向の後側に位置し、前記手動投入部は、前記複数のタンクよりタンクの並び方向の外側であって、前記並び方向の端に位置するタンクと前記並び方向に並ぶように存在する。
【発明の効果】
【0006】
上記構成によれば、限られたスペースであっても自動投入部を設けることができる。
【図面の簡単な説明】
【0007】
実施形態の洗濯機の概略斜視図である。
洗濯機の蓋部が開いた状態の拡大斜視図である。
前後方向と直交する断面を前側から見た図である。
左右方向と直交する断面を右側から見た図である。
上カバー部と蓋部とを分離させた状態の斜視図である。
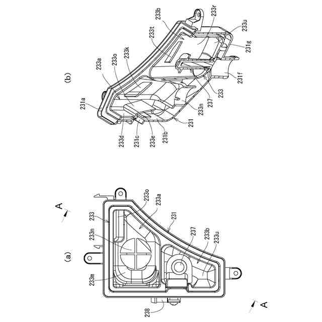
自動投入部及びその周辺部の分解状態を上方から見た斜視図である。
自動投入部及びその周辺部の分解状態を下方から見た斜視図である。
供給部の斜視図であり、(a)は前側上方から見た図であり、(b)は後側下方から見た図である。
蓋を取り外した手動投入部の図であり、(a)は上方から見た図であり、(b)は(a)のA-A断面を矢印側から見た断面図である。
蓋を取り外した手動投入部の分解斜視図であり、(a)は前側上方から見た図であり、(b)は後側下方から見た図である。
(a)は注水部を上方から見た図であり、(b)は上形成体を取り外した状態を上方から見た図であって投入経路を説明する図である。
注水部の斜視図であり、(a)は前側上方から見た図であり、(b)は後側下方から見た図である。
自動投入部とその周辺部における左右方向と直交する断面を前側上方から見た斜視図である。
分解状態のタンク収容部及びタンクを前側上方から見た斜視図である。
分解状態のタンク収容部及びタンクを後側下方から見た斜視図である。
タンク体からフィルタを取り外した状態の斜視図であり、(a)は前側上方から見た図であり、(b)は後側上方から見た図である。
注水部と自動投入部との接続部分の断面図である。
他の形態の注水部の投入経路を説明する図である。
【0008】
<実施形態>
1.概要
洗濯機1は、図1に示すように、縦型タイプである。
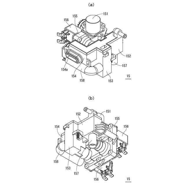
洗濯機1は、図3及び図4に示すように、洗濯槽11と、洗濯槽11等を回転駆動するモータ12と、洗濯処理の運転コースの入力や選択を行うための操作部13、洗濯処理の運転状況等を表示するための表示部14と、洗濯槽11に給水するための給水部15(図5参照)と、給水された水を洗濯槽11に注水するための注水部16と、洗濯槽11から排水する排水部17と、注水部16に洗剤、柔軟仕上剤等の洗濯処理剤を投入する処理剤投入部と、モータ12等を制御して洗濯処理等を行う制御部と、モータ12や制御部等の駆動手段に給電するための電源部と、を筐体18に備える。
なお、縦型タイプ、つまり、縦型洗濯機は、洗濯槽11の中心軸が上下方向(垂直方向)に延伸する、又は上下方向に対して所定角度、例えば10度以内の角度で傾斜している洗濯機をいう。
【0009】
処理剤投入部は、複数のタンク27に収容された洗濯処理剤を自動で投入するための自動投入部21と、手動により洗濯処理剤を投入するための手動投入部23とを備える。タンク27には、複数回の洗濯運転のための洗濯処理剤が貯留される。
洗濯機1は、風呂水を吸引して洗濯槽11に投入する風呂水投入部25(図5参照)を備える。制御部は、自動投入部21の投入量や投入タイミングを制御し、ここでは、電源部と共に回路構成されて回路ユニット26として設けられている。
ここで、図1に示すように、給水部15がある側を前後方向の後側とすると、上下方向と前後方向とに直交する方向を左右方向とする。操作部13や表示部14は、洗濯物を投入する開口部181aを開閉するための蓋部182を挟んで、前側に存在する場合を例に説明するが、この位置に限定されるものではない。なお、左右方向は、前後方向の前側から見た状態を基準とする。
なお、例えば、「AがB方向の一方(他方)側に位置する」は、AにおけるB方向の中心が、洗濯機におけるB方向の中心よりも一方(他方)側に位置している場合を含み、「AがB方向の一方(他方)側にある(存在する)」も同様とする。
また、例えば、「AがCの後(左)側に位置する」とは、Aにおける前後方向(左右方向)の中心が、Cにおける前後方向(左右方向)方向の中心よりも後(左)側に位置している場合を含み、「AがCの後(左)側にある(存在する)」も同様とし、「前(右)側」も同様とする。
さらに、「Dの後(左)側」には、Dの後部(左部)及びDの後方(左側方)を含む場合がある。
以下、要部について説明する。
【0010】
2.要部
(1)洗濯槽
洗濯槽11は、洗濯水を貯留するための水槽111と、水槽111内に回転可能に支持された回転槽113と備える。
(【0011】以降は省略されています)
この特許をJ-PlatPat(特許庁公式サイト)で参照する
関連特許
個人
洗濯機
10日前
個人
洗濯装置
3か月前
個人
ハンガー保持具
5か月前
個人
洗濯物干しハンガー
26日前
セーレン株式会社
複合表皮材
10日前
東レ株式会社
繊維断面の検査方法
1か月前
株式会社青柳
染め加工方法
2か月前
株式会社アライホーム
物干装置
10日前
日本バイリーン株式会社
内装用表面材
4か月前
株式会社槌屋
加飾用表皮材
1か月前
花王株式会社
洗浄剤組成物
4か月前
東レ株式会社
炭素繊維シートの製造方法
3か月前
東レ株式会社
ゴム補強用合成繊維コード
2か月前
東レ株式会社
樹脂含浸繊維束の製造方法
3か月前
有限会社高田紙器製作所
紙製洗濯バサミ
3か月前
リンナイ株式会社
衣類乾燥機
1か月前
個人
ポリエステル染色物の製造方法
1か月前
株式会社創和
ボックス状洗濯ネット
2か月前
株式会社大阪ソーダ
撥水撥油性繊維処理剤
2か月前
シャープ株式会社
洗濯機
3か月前
個人
洗濯用洗剤容器の蓋
3か月前
リンテック株式会社
耐水性基材
1か月前
日本バイリーン株式会社
表皮材とその製造方法
4か月前
株式会社コーワ
フィルター清掃装置及び乾燥機
4か月前
株式会社コーワ
フィルター清掃装置及び乾燥機
4か月前
アイリスオーヤマ株式会社
洗濯機
26日前
大阪瓦斯株式会社
衣類乾燥機
3か月前
松本油脂製薬株式会社
繊維用処理剤及びその利用
3か月前
大阪瓦斯株式会社
衣類乾燥機
3か月前
大阪瓦斯株式会社
衣類乾燥機
3か月前
シャープ株式会社
洗濯機
3か月前
個人
開閉角度調整可能な角型折畳みピンチハンガー
3か月前
シャープ株式会社
洗濯機
3か月前
ダイニック株式会社
ターポリン、及びその製造方法
1か月前
東レ株式会社
人工皮革、乗物用内装材、および座席
5か月前
株式会社コーワ
フィルター装置及び洗濯機又は乾燥機
4か月前
続きを見る
他の特許を見る