TOP
|
特許
|
意匠
|
商標
特許ウォッチ
Twitter
他の特許を見る
10個以上の画像は省略されています。
公開番号
2025172168
公報種別
公開特許公報(A)
公開日
2025-11-20
出願番号
2025153353,2021094510
出願日
2025-09-16,2021-06-04
発明の名称
電気コネクタ・ユニット
出願人
TE Connectivity Japan合同会社
代理人
個人
,
個人
主分類
H01R
13/6592 20110101AFI20251113BHJP(基本的電気素子)
要約
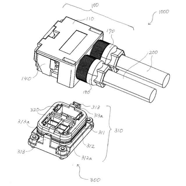
【課題】ケーブルおよびケーブルに接続された端子を電気的に遮蔽するための、より好適な電磁シールドの構成を備えた電気コネクタ・ユニットを提供すること。
【解決手段】コネクタおよび該コネクタに接続されるケーブルを有して成る電気コネクタ・ユニットであって、前記ケーブルが、複数の内部ケーブルから構成される内部ケーブル束、ケーブル・シールド、ならびに、該内部ケーブル束および該ケーブル・シールドを包囲する絶縁性の被覆部材を備え、前記コネクタが、筐体ハウジング、および該筐体ハウジング内に設けられるコネクタ・シールドを備えており、前記ケーブル・シールドの一部であって該ケーブル・シールドから延出する線状シールドが、前記コネクタ・シールドに取り付けられる、電気コネクタ・ユニットが提供される。
【選択図】図7A
特許請求の範囲
【請求項1】
コネクタおよび該コネクタに接続されるケーブルを有して成る電気コネクタ・ユニットであって、
前記ケーブルが、複数の内部ケーブルから構成される内部ケーブル束、ケーブル・シールド、ならびに、該内部ケーブル束および該ケーブル・シールドを包囲する絶縁性の被覆部材を備え、
前記コネクタが、筐体ハウジング、および該筐体ハウジング内に設けられるコネクタ・シールドを備えており、
前記ケーブル・シールドの一部であって該ケーブル・シールドから延出する線状シールドが、前記コネクタ・シールドに取り付けられる、電気コネクタ・ユニット。
続きを表示(約 980 文字)
【請求項2】
前記ケーブル・シールドは編組であって、前記線状シールドが、該編組を成す導電性のストランドまたはファイバーの端部を束ねることで構成される、請求項1に記載の電気コネクタ・ユニット。
【請求項3】
前記線状シールドが、前記被覆部材の表面上に位置付けられず、前記ケーブル・シールドの端部と前記コネクタ・シールドとの間をブリッジする、請求項1または2に記載の電気コネクタ・ユニット。
【請求項4】
前記コネクタ・シールドから突出するシールド・アームに対して前記線状シールドが取り付けられる、請求項1~3のいずれかに記載の電気コネクタ・ユニット。
【請求項5】
前記コネクタ・シールドがバレル部を有し、該バレル部に前記線状シールドが圧着される、請求項1~4のいずれかに記載の電気コネクタ・ユニット。
【請求項6】
デバイスに設けられるデバイス・コネクタを更に有し、
前記コネクタと前記デバイス・コネクタとが互いに組み合わされると、前記コネクタ・シールドが前記デバイス・コネクタの導電性ハウジングに電気的に接続される、請求項1~5のいずれかに記載の電気コネクタ・ユニット。
【請求項7】
前記組み合わされた状態では、前記線状シールドを介して前記ケーブル・シールドと前記コネクタ・シールドと前記導電性ハウジングとが互いに電気的に接続されている、請求項6に記載の電気コネクタ・ユニット。
【請求項8】
前記コネクタ・シールドが板バネ部を備え、前記組み合わされた状態において該板バネ部が前記導電性ハウジングと接する、請求項6または7に記載の電気コネクタ・ユニット。
【請求項9】
前記デバイス・コネクタが、モータ・デバイスに設けられるモータ側コネクタである、請求項6~8のいずれかに記載の電気コネクタ・ユニット。
【請求項10】
前記コネクタが、前記筐体ハウジング内に設けられ、前記ケーブルと電気的に接続する端子を備えた内部ハウジングを更に有し、
前記コネクタ・シールドが、前記内部ハウジングに対して取り付けられている、請求項1~9のいずれかに記載の電気コネクタ・ユニット。
(【請求項11】以降は省略されています)
発明の詳細な説明
【技術分野】
【0001】
本開示は電気コネクタ・ユニットに関する。特に、本開示は、電気的に接続されるケーブルを有する電気コネクタ・ユニットに関する。
続きを表示(約 1,400 文字)
【背景技術】
【0002】
特許文献1には、多芯ケーブルを電気装置へ接続するための、多極のL型コネクタが開示されている。
【0003】
かかるコネクタでは、電気装置へ送達される信号による電磁波の外部への放射、または外部からの電磁波の侵入を抑制するため、コネクタに取り付けられたケーブルと、コネクタに設けられた端子とを電気的に遮蔽する電磁シールド構造が設けられている。
【先行技術文献】
【特許文献】
【0004】
特開2018-45835号公報
【発明の概要】
【発明が解決しようとする課題】
【0005】
本願発明者は、従来のコネクタの電磁シールドの構造に克服すべき課題があることに気づき、そのための対策をとる必要性を見出した。具体的には、以下の課題があることを見出した。
【0006】
例えば、特許文献1に記載のコネクタでは、内部ケーブルの外周側を包囲する外部導体と、内部に端子を備えるコネクタ・ハウジングに設けられたシールド部材とが電気的に接続される。接続に際して、外部導体の外周を覆う絶縁皮膜の端部を除去して外部導体の端部を全体的に外側へ折り返し、折り返された部分に銅テープを巻き付けることで、ケーブルの端末処理が為される。つまり、かかる端末処理では、折り返された外部導体が絶縁皮膜上に直接的に位置付けられている。このような端末処理部分に対してシールド部材を圧着または押圧することによって、外部導体とシールド部材とが電気的に接続される。
【0007】
しかしながら、かかるコネクタに用いられるケーブルの絶縁皮膜は、一般的に、温度上昇に伴って収縮する熱収縮性の材料から形成されるため、ケーブルの外径は電気装置の作動・運転に伴う発熱によって減じられる場合がある。したがって、上述のようにケーブルの外周を圧着または押圧することによって為される接続では、電気装置からの発熱によるケーブルの外径の減寸によって接触不良が発生し得、電磁シールドの機能が損なわれる懸念がある。
【0008】
本開示は、かかる課題に鑑みてなされたものである。すなわち、本開示の主たる目的は、ケーブルおよびケーブルに接続された端子を電気的に遮蔽するための、より好適な電磁シールドの構成を備えた電気コネクタ・ユニットを供することである。
【課題を解決するための手段】
【0009】
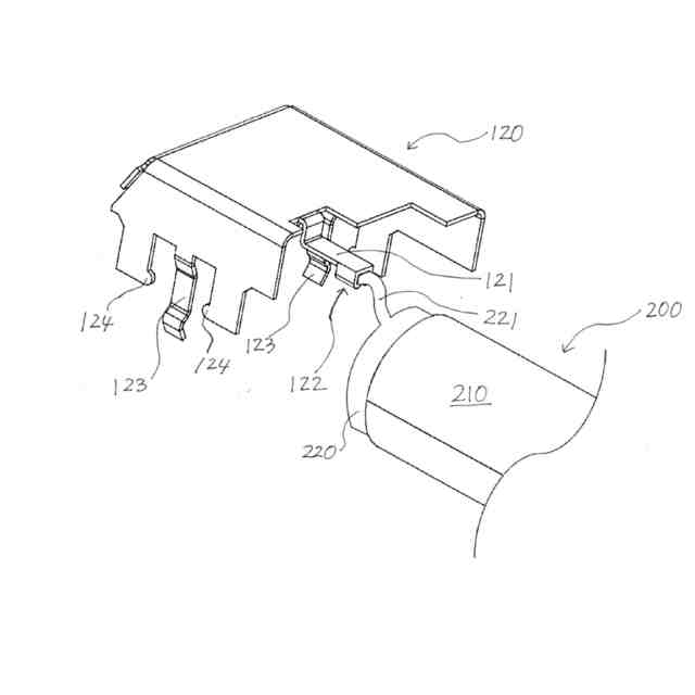
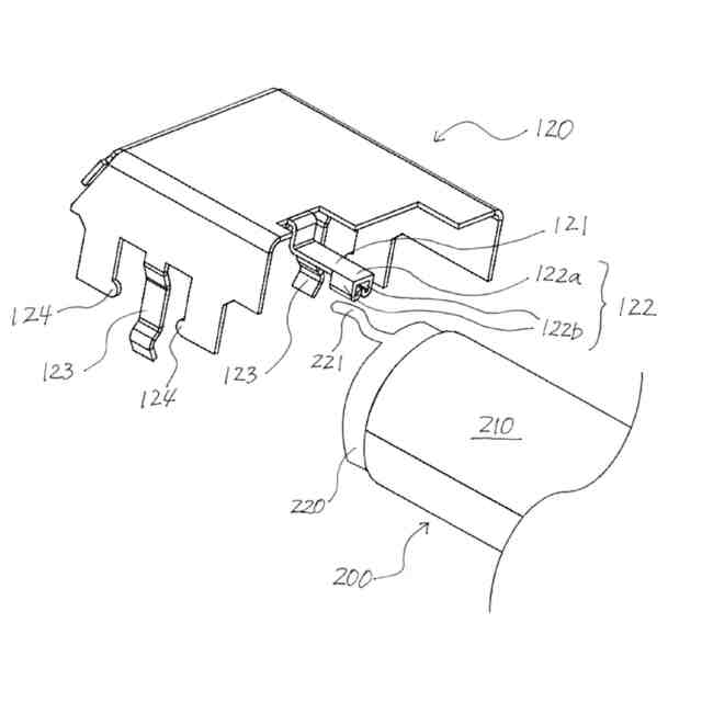
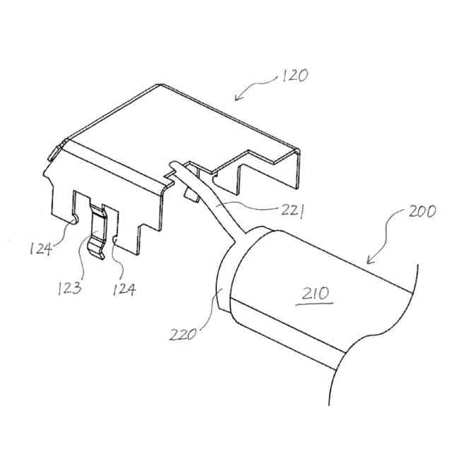
上記目的を達成するため、本開示では、コネクタおよび該コネクタに接続されるケーブルを有して成る電気コネクタ・ユニットであって、前記ケーブルが、複数の内部ケーブルから構成される内部ケーブル束、ケーブル・シールド、ならびに、該内部ケーブル束および該ケーブル・シールドを包囲する絶縁性の被覆部材を備え、前記コネクタが、筐体ハウジング、および該筐体ハウジング内に設けられるコネクタ・シールドを備えており、前記ケーブル・シールドの一部であって該ケーブル・シールドから引き出された線状シールドが、前記コネクタ・シールドに取り付けられる、電気コネクタ・ユニットが提供される。
【発明の効果】
【0010】
本開示に係る電気コネクタ・ユニットは、ケーブルおよびケーブルに接続された端子を電気的に遮蔽するための、より好適な電磁シールドの構成を実現する。
(【0011】以降は省略されています)
特許ウォッチbot のツイートを見る
この特許をJ-PlatPat(特許庁公式サイト)で参照する
関連特許
他の特許を見る