TOP
|
特許
|
意匠
|
商標
特許ウォッチ
Twitter
他の特許を見る
10個以上の画像は省略されています。
公開番号
2025171774
公報種別
公開特許公報(A)
公開日
2025-11-20
出願番号
2024077431
出願日
2024-05-10
発明の名称
箱体の製造方法
出願人
株式会社大北製作所
代理人
弁理士法人あいち国際特許事務所
主分類
B65D
1/26 20060101AFI20251113BHJP(運搬;包装;貯蔵;薄板状または線条材料の取扱い)
要約
【課題】低コストで成形できて軽量化の要請に応えることができるとともに、成形精度の向上が図られる箱体を提供する。
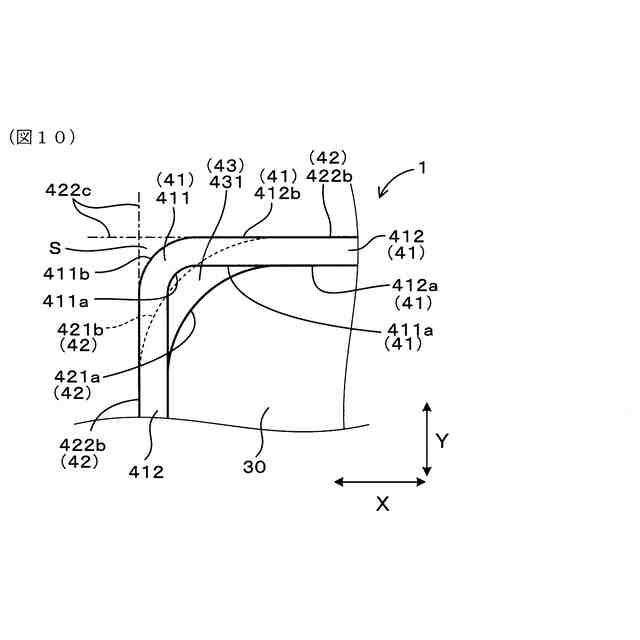
【解決手段】箱体100は、有底角型の本体1の開口30側端部に蓋嵌入部41を有し、蓋嵌入部41の下方に収容部42を有する。蓋嵌入部41の平面部412の内側面412a及び外側面412bは収容部42の平面部422の内側面422a及び外側面422bと面一である。蓋嵌入部41の隅部411は収容部42の隅部421よりも曲率半径の小さい円弧状をなす。開口30側から見て、蓋嵌入部41の隅部411の外側面411bは収容部42の隅部421の外側面421bよりも本体1の外側に位置し、外側面421bと収容部42の平面部422に沿った4つの仮想直線422cとで囲まれる領域S内に位置する。収容部42の隅部421と蓋嵌入部41の隅部411との間には蓋を支持する支持面431を有する段差部43が形成されている。
【選択図】図10
特許請求の範囲
【請求項1】
略矩形状の底部と、該底部の外周縁から立設されるとともに立設方向の端部に開口を形成する4つの側壁部とを備える有底角型の本体と、前記開口を閉塞可能に構成された蓋とを備える箱体であって、
前記本体の開口側端部には、前記蓋が嵌まり込む蓋嵌入部が形成されており、
前記本体の内部の前記蓋嵌入部よりも立設方向下方には、収容物を収容する収容部が形成されており、
前記蓋嵌入部の四隅を形成する4つの隅部において隣り合う隅部の間の4つの平面部の内側面及び外側面はそれぞれ、前記収容部の四隅を形成する4つの隅部において隣り合う隅部の間の4つの平面部の内側面及び外側面と面一に形成されており、
前記立設方向に垂直な断面において、前記収容部の隅部は円弧状をなしているとともに、前記蓋嵌入部の隅部は前記収容部の隅部よりも曲率半径の小さい円弧状をなしており、
前記開口側から見たとき、前記蓋嵌入部の隅部の外側面は、前記収容部の隅部の外側面よりも前記本体の外側に位置しているとともに、前記収容部の隅部の外側面と前記収容部の4つの前記平面部に沿った4つの仮想直線とで囲まれる領域内に位置しており、
前記収容部の隅部と前記蓋嵌入部の隅部との間には、前記蓋嵌入部に嵌まり込んだ前記蓋を支持する支持面を有する段差部が形成されている、箱体。
続きを表示(約 62 文字)
【請求項2】
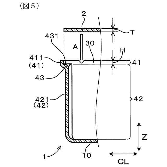
前記立設方向における前記蓋嵌入部の高さは、前記蓋の厚さと一致している、請求項1に記載の箱体。
発明の詳細な説明
【技術分野】
【0001】
本発明は、箱体に関する。
続きを表示(約 2,500 文字)
【背景技術】
【0002】
種々の物品を収容可能な箱体として、有底筒状の本体の開口に蓋を取り付けたものが広く用いられている。特許文献1には、本体の隅部を肉厚な円弧状にしつつ、開口端の隅部の内側面を切り欠いて段差部を形成した構成が開示されている。当該構成では、本体の隅部を肉厚とすることで機械的強度を向上させるとともに、段差部により蓋が本体の内部に入り込みすぎることを防止している。
【先行技術文献】
【特許文献】
【0003】
特開平9-265966号公報
【発明の概要】
【発明が解決しようとする課題】
【0004】
しかしながら、特許文献1に開示の構成において、開口端の隅部の内側面を切り欠く加工は加工コストが高く、加工の難易度も高い。また、特許文献1に開示の構成では、隅部を肉厚とすることで重量が増加するため、軽量化の要請に反する。また、肉厚な隅部の外側面は曲率半径の小さい曲面となっているため、高い成形精度を維持するには手間がかかる。
【0005】
本発明は、かかる背景に鑑みてなされたものであり、低コストで成形できて軽量化の要請に応えることができるとともに、成形精度の向上が図られる箱体を提供しようとするものである。
【課題を解決するための手段】
【0006】
本発明の一態様は、
略矩形状の底部と、該底部の外周縁から立設されるとともに立設方向の端部に開口を形成する4つの側壁部とを備える有底角型の本体と、前記開口を閉塞可能に構成された蓋とを備える箱体であって、
前記本体の開口側端部には、前記蓋が嵌まり込む蓋嵌入部が形成されており、
前記本体の内部の前記蓋嵌入部よりも立設方向下方には、収容物を収容する収容部が形成されており、
前記蓋嵌入部の四隅を形成する4つの隅部において隣り合う隅部の間の4つの平面部の内側面及び外側面はそれぞれ、前記収容部の四隅を形成する4つの隅部において隣り合う隅部の間の4つの平面部の内側面及び外側面と面一に形成されており、
前記立設方向に垂直な断面において、前記収容部の隅部は円弧状をなしているとともに、前記蓋嵌入部の隅部は前記収容部の隅部よりも曲率半径の小さい円弧状をなしており、
前記開口側から見たとき、前記蓋嵌入部の隅部の外側面は、前記収容部の隅部の外側面よりも前記本体の外側に位置しているとともに、前記収容部の隅部の外側面と前記収容部の4つの前記平面部に沿った4つの仮想直線とで囲まれる領域内に位置しており、
前記収容部の隅部と前記蓋嵌入部の隅部との間には、前記蓋嵌入部に嵌まり込んだ前記蓋を支持する支持面を有する段差部が形成されている、箱体にある。
【発明の効果】
【0007】
上記箱体においては、本体における蓋嵌入部の平面部は収容部の平面部と面一であるが、蓋嵌入部の円弧状の隅部の曲率半径が、収容部の円弧状の隅部の曲率半径よりも小さくなっている。そして、蓋嵌入部の隅部の外側面は、収容部の隅部の外側面よりも外側であって、収容部の平面部に沿った4つの仮想直線で囲まれる領域内に位置している。そして、蓋嵌入部の隅部と収容部の隅部との間に段差部を形成している。これにより、当該箱体の設置スペースを拡大することなく、蓋が本体内に入り込みすぎないようにする支持面を形成することができる。その結果、収容部の隅部は肉厚にする必要がないため、軽量化を図ることができるとともに、収容部の隅部の外側面の曲率半径を大きくできるため、高精度に成形することが容易となる。
【0008】
さらに、段差部を形成する際に切り欠き加工が不要となるため、加工コストを低減できる。また、収容部の隅部は蓋嵌入部の隅部に対して、本体内側に位置するため、当該箱体を密に配置したり、壁際に配置したりすると、収容部の隅部の外方に隙間が生じることとなるため、当該隙間に当該箱体を固定したり位置決めする部品を配置することができ、全体としての設置スペースが大きくなることを抑制できる。なお、収容部の内部において円弧状の隅部の近傍領域は収容に利用されにくいため、収容部の隅部の曲率半径が大きくなっても収容物への実質的な影響は限定的である。
【0009】
以上のごとく、本発明によれば、軽量化の要請に応えることができるとともに、成形精度の向上が図られる箱体を提供することができる。
【図面の簡単な説明】
【0010】
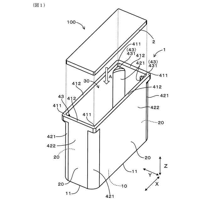
実施形態1における、本体に蓋を取り付ける前の状態の箱体の斜視図である。
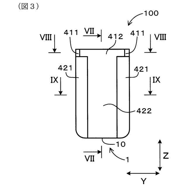
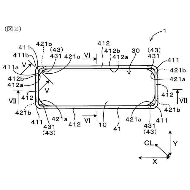
実施形態1における、箱体の本体の上面図である。
実施形態1における、箱体の本体の第1の側面図である。
実施形態1における、箱体の本体の第2の側面図である。
図2のV-V線位置断面図である。
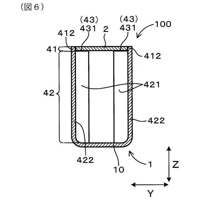
図2及び図4のVI-VI線位置断面図である。
図2及び図3のVII-VII線位置断面図である。
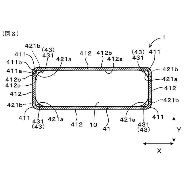
図3及び図4のVIII-VIII線位置断面図である。
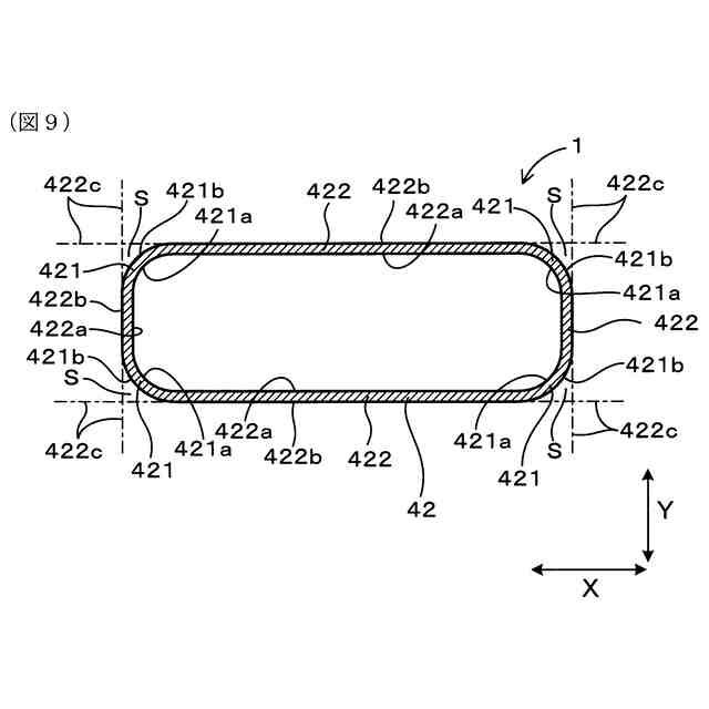
図2及び図3のIX-IX線位置断面図である。
図2の本体の角部の一つを拡大した図である。
実施形態1における、箱体の設置状態の一例を表す底面図である。
実施形態1における、箱体の製造方法を説明する第1の斜視図である。
実施形態1における、箱体の製造方法を説明する第2の斜視図である。
図13のXIV-XIV線位置断面図である。
図14における、差込治具を挿入した状態のXIV-XIV線位置断面図である。
図13のXVI-XVI線位置断面図である。
図16における、差込治具を挿入した状態のXVI-XVI線位置断面図である。
変形形態1における、箱体の製造方法に使用する内側治具及び差込治具の斜視図である。
変形形態2における、箱体の製造方法に使用する内側治具及び差込治具の斜視図である。
【発明を実施するための形態】
(【0011】以降は省略されています)
この特許をJ-PlatPat(特許庁公式サイト)で参照する
関連特許
他の特許を見る