TOP
|
特許
|
意匠
|
商標
特許ウォッチ
Twitter
他の特許を見る
10個以上の画像は省略されています。
公開番号
2025171753
公報種別
公開特許公報(A)
公開日
2025-11-20
出願番号
2024077400
出願日
2024-05-10
発明の名称
飲料容器の止水構造
出願人
株式会社SUS
代理人
主分類
B65D
53/02 20060101AFI20251113BHJP(運搬;包装;貯蔵;薄板状または線条材料の取扱い)
要約
【課題】直飲みタイプの携帯用飲料容器において、樹脂製飲み口の口当たりの良さを維持したまま、整流機能、調温機能を損なわず部品点数を削減し、止水機能を損なわない容器の構造を提供する。
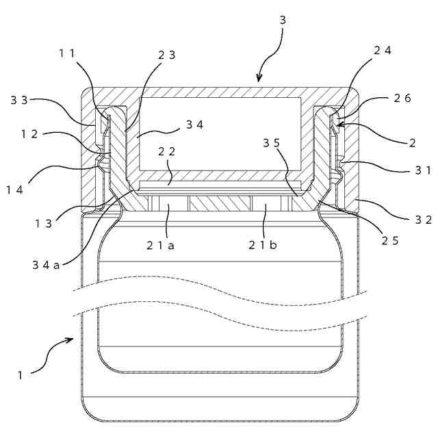
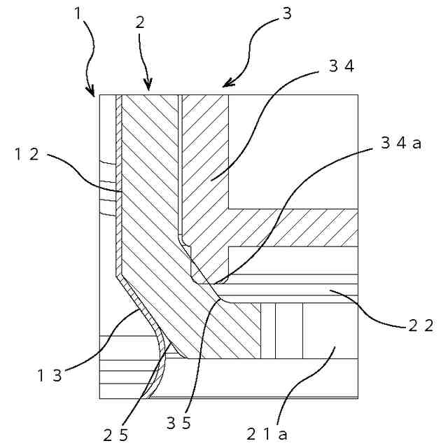
【解決手段】開口部11を備えた容器本体1と、容器本体1に着脱可能な飲み口2と、飲み口2に蓋をする蓋体3とを備え、開口部11に係合する係合部24と、開口部内側面12に設けられている載置部13上に載置される下端部25とを備える。飲み口2は有底筒状の弾性部材で、容器本体1の開口部内側面12に沿って挿入され、飲み口2の底に設けられた貫通孔21と、貫通孔21を介し飲料を流通する液通空間22を区画する内筒面23が設けられ、整流機能、調温機能を備える。蓋体3の下方から延びる延出部34の先端に設けられた延出部先端34aが飲み口2の内側底壁35を押圧することで液通空間22が閉塞され、飲料が水密に貯留される。
【選択図】図1
特許請求の範囲
【請求項1】
開口部を備えた有底筒状の容器本体と、前記容器本体に着脱可能な飲み口と、前記飲み口に蓋をする蓋体とを備える飲料容器であって、前記飲み口は、有底筒状の弾性部材であり、前記容器本体の開口部内側面に沿って挿入され、前記飲み口の底に設けられた貫通孔と、前記貫通孔を介して飲料を流通する液通空間を区画する内筒面と、前記開口部に係合する係合部と、前記開口部内側面に設けられている載置部上に載置される下端部とを備え、前記蓋体の下方から延出する延出部の先端が、前記飲み口の内筒側底面にある内側底壁を押圧することで前記液通空間が閉塞され、前記飲料が水密に貯留されることを特徴とする飲料容器。
続きを表示(約 460 文字)
【請求項2】
請求項1に記載の飲料容器であって、前記飲み口は折り返し部を備え、前記折り返し部は前記係合部を介して下方に凸出し、前記開口部の上端にはまって着座することを特徴とする飲料容器。
【請求項3】
請求項1または2に記載の飲料容器であって、前記貫通孔が複数設けられていることを特徴とする飲料容器。
【請求項4】
請求項1または2に記載の飲料容器であって、前記飲み口が前記延出部の先端と前記載置部とによって挟持されることで、前記液通空間と前記開口部が閉塞され、前記飲料が水密に貯留されることを特徴とする飲料容器。
【請求項5】
請求項1または2に記載の飲料容器であって、前記蓋体は前記延出部を内包する外周壁を更に備え、前記外周壁の内壁部に蓋接続部が設けられていることを特徴とする飲料容器。
【請求項6】
請求項5に記載の飲料容器であって、前記容器本体には前記開口部の外周に本体接続部が設けられ、前記蓋接続部と相補的に接続することを特徴とする飲料容器。
発明の詳細な説明
【技術分野】
【0001】
本発明は、飲料容器に関し、より具体的には部品点数も削減でき、飲み心地が良く、かつメンテナンス性にも優れた飲料容器に関するものである。
続きを表示(約 1,800 文字)
【背景技術】
【0002】
従来から、例えばステンレス製の水筒やスープジャーのように、有底筒状の容器本体と、容器本体に装着する飲み口、容器本体の開口部を閉塞する蓋体から成り、飲料等を貯留する飲料容器(以下、従来例1)が知られている。(特許文献1、図10参照)
【0003】
この従来例1は、金属製の容器本体に樹脂製の飲み口が螺着等で装着され、樹脂製の蓋体を飲み口に螺着し、飲み口や蓋体それぞれに取り付けられるシール部材によって止水されることを特徴としている。
【0004】
金属製の容器本体はステンレス製であり、内筒と外筒が開口部で溶接され、内筒と外筒の間に真空断熱層が設けられる真空二重容器であり、保温保冷性能を持っている。
【0005】
樹脂製の飲み口は一般的にポリプロピレン製でできており、射出成型によって作られるため、形状の自由度が高く、唇形状に合わせ口当たりよくすることができ、更に、飲料の通る貫通孔は流量を調整できる形状にできる他、貫通孔を複数設ければ氷止めや茶こし等の機能を付けることも可能である。
【0006】
しかし、この従来例1は、1.金属製の容器本体、2.樹脂製の飲み口、3.樹脂製の蓋体、4.容器本体と飲み口を密着させ止水するシリコンゴム製の飲み口シール部材、5.飲み口または容器本体と密着させ止水するシリコンゴム製の蓋シール部材の、合計5つの部品から構成されており、以下の課題が挙げられる。
[課題1 工程数の削減]
部品点数が多いことで、部品の成形、運搬、組付け等、工程数が多くなってしまい、それぞれの工程にかかる加工費や材料費、加工時間が多くかかってしまう他、金型作成時や加工時の二酸化炭素の排出で環境への負荷もかかってしまうため、工程数の削減が課題となる。
[課題2 シール部材の劣化]
シール部材は弾性のあるシリコンゴム製でできており、輪ゴムの様に伸縮させて飲み口と蓋体に着脱する他、図12と図13に示すように薄肉の可撓部が容器や飲み口に螺着方向に捻じれながら押し当てられ負荷がかかってしまい、早い頻度で交換対応をする必要性が出るため、シール部材の劣化が課題となる。
[課題3 洗浄性の悪さ]
洗浄する部品点数が多い他、各部品同士の嵌合箇所には狭い空間にネジ山やリブ等の凹凸があり、シール部材には可撓部の隙間ができるため、洗浄性の悪さが課題となる。
【0007】
従来例1の改善策として、金属製の容器本体に飲み口としての機能を設けることで、部品点数の削減がなされており、有底筒状の容器本体と、容器本体の開口部を閉塞する蓋体から成り、飲料等を貯留する飲料容器(以下、従来例2)が知られている。(特許文献2、特許文献3、図11参照)
【0008】
この従来例2は、金属製の容器本体の開口部をそのまま飲み口として兼用し、蓋体の凸部下端に設けられているシール部材を容器内部と密着させることで止水される。
【0009】
シール部材は、別パーツとして着脱可能なシリコンゴム部品を使用する場合と、ポリプロピレン製の蓋体とシリコンゴム製の止水部を一体で成形されている場合があり、ユーザーにとっての部品点数は1.容器本体、2.蓋体の2点、もしくはシール部材を含めた3点となり、部品点数の削減がなされている。
【0010】
しかし、この従来例2は容器本体の開口部を飲み口として兼用しシール部材の数を減らすことによって、従来例1とは違った課題が、以下の通り挙げられる。
[課題1 口当たり]
金属製の容器本体は、内筒又は外筒の先を折り返し、丸みを付けて溶接することで良好な飲み心地と安全性を高めるための工夫がなされているが、金属製の固く冷たい感触が唇に直接触れる他、射出成型に比べて自由度の高い形状に加工ができないため、樹脂製に比べ口当たりの良さが劣ってしまうのが課題となる。
[課題2 蓋体の劣化]
蓋体とシール部材が一体の場合、負荷がかかりやすい可撓部の劣化が早く、ポリプロピレン部分が劣化していなくても交換する必要があり、蓋体の劣化が課題となる。(特許文献4参照)
【先行技術文献】
【特許文献】
(【0011】以降は省略されています)
この特許をJ-PlatPat(特許庁公式サイト)で参照する
関連特許
他の特許を見る