TOP
|
特許
|
意匠
|
商標
特許ウォッチ
Twitter
他の特許を見る
公開番号
2025171555
公報種別
公開特許公報(A)
公開日
2025-11-20
出願番号
2024077031
出願日
2024-05-10
発明の名称
コークス乾式消火設備及びそのスローピングフリュー部構造
出願人
日鉄エンジニアリング株式会社
代理人
個人
,
個人
,
個人
,
個人
主分類
C10B
39/02 20060101AFI20251113BHJP(石油,ガスまたはコークス工業;一酸化炭素を含有する工業ガス;燃料;潤滑剤;でい炭)
要約
【課題】本開示は、スローピングフリュー部からの赤熱コークスの排出を促進することが可能なコークス乾式消火設備及びそのスローピングフリュー部構造を説明する。
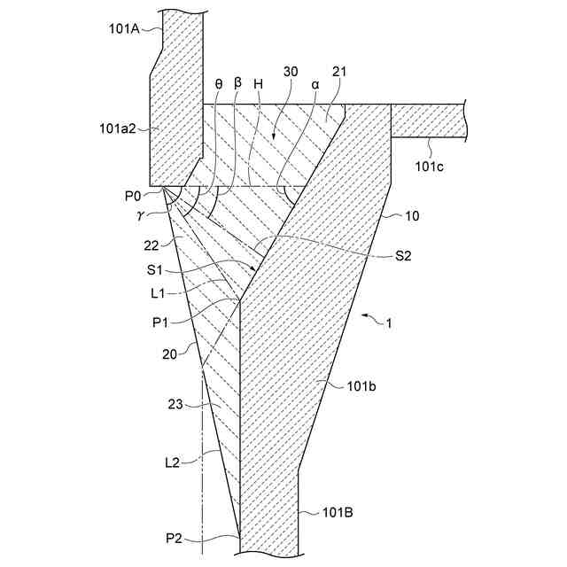
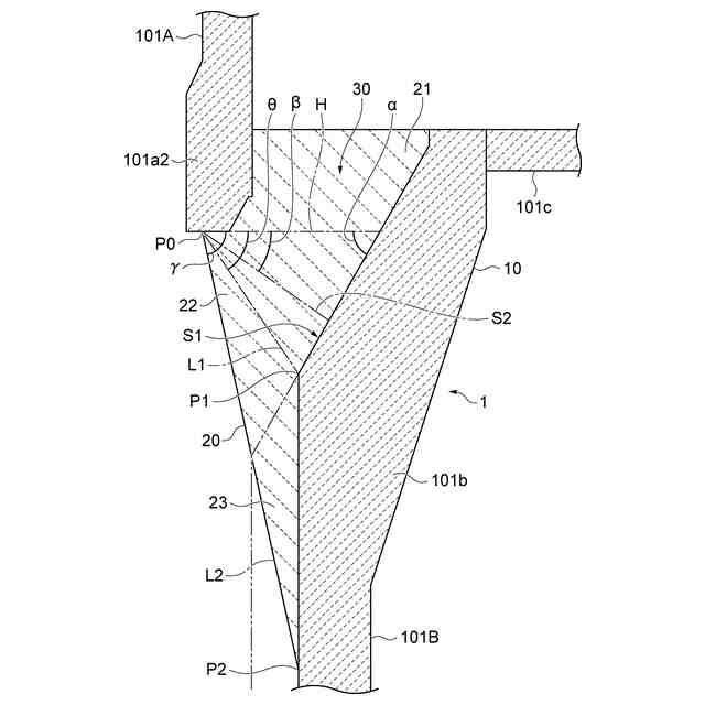
【解決手段】コークス乾式消火設備は、予備室、冷却室、環状ダクト及びスローピングフリュー部を含む冷却塔を備える。スローピングフリュー部は、予備室の下端部を外側から取り囲むように冷却室の上端部から上方に向けて延びる環状壁と、予備室の下端部と冷却室の上端部及び環状壁との間において冷却室の径方向に延び、且つ、冷却室の周方向に沿って並ぶように配置された、複数の支持壁とを含む。環状壁の内周面は、上方に向かうにつれて冷却室の径方向外方に拡がる傾斜面を含む。複数の支持壁のうち一の支持壁を含む鉛直断面において、傾斜面と冷却室の内周面とが交差する第1の交差部は、一の支持壁の下端と冷却室の内周面とが交差する第2の交差部よりも上方に位置する。
【選択図】図3
特許請求の範囲
【請求項1】
筒状を呈する予備室と、前記予備室の下方に配置され且つ筒状を呈する冷却室と、前記予備室の周囲に形成された環状ダクトと、スローピングフリュー部とを含む冷却塔と、
前記スローピングフリュー部は、
前記予備室の下端部を外側から取り囲むように前記冷却室の上端部から上方に向けて延びる環状壁と、
耐火レンガによって構成され、前記予備室の下端部と前記冷却室の上端部及び前記環状壁との間において前記冷却室の径方向に延び、且つ、前記冷却室の周方向に沿って並ぶように配置された、複数の支持壁と、
前記複数の支持壁のうち前記周方向において隣り合う支持壁と、前記予備室の下端部と、前記環状壁とによって画定され、且つ、前記冷却室と前記環状ダクトとを流体的に接続するように構成された、複数の排気流路とを含み、
前記環状壁の内周面は、上方に向かうにつれて前記冷却室の径方向外方に拡がる傾斜面を含み、
前記複数の支持壁のうち一の支持壁を含む鉛直断面において、前記傾斜面と前記冷却室の内周面とが交差する第1の交差部は、前記一の支持壁の下端と前記冷却室の内周面とが交差する第2の交差部よりも上方に位置する、コークス乾式消火設備。
続きを表示(約 820 文字)
【請求項2】
前記複数の支持壁のうち一の支持壁を含む鉛直断面において、前記予備室の下端部と前記一の支持壁の内周面とが交差する第3の交差部を含む水平面と、前記第2の交差部及び前記第3の交差部を通る仮想直線とがなす角度θは、70°以下である、請求項1に記載のコークス乾式消火設備。
【請求項3】
予備室と、前記予備室の下方に配置された冷却室と、前記予備室の周囲に形成された環状ダクトとを含む冷却塔とを備えるコークス乾式消火設備のスローピングフリュー部構造であって、
前記予備室の下端部を外側から取り囲むように前記冷却室の上端部から上方に向けて延びる環状壁と、
耐火レンガによって構成され、前記予備室の下端部と前記冷却室の上端部及び前記環状壁との間において前記冷却室の径方向に延び、且つ、前記冷却室の周方向に沿って並ぶように配置された、複数の支持壁と、
前記複数の支持壁のうち前記周方向において隣り合う支持壁と、前記予備室の下端部と、前記環状壁とによって画定され、且つ、前記冷却室と前記環状ダクトとを流体的に接続するように構成された、複数の排気流路とを備え、
前記環状壁の内周面は、上方に向かうにつれて外方に拡がる傾斜面を含み、
前記複数の支持壁のうち一の支持壁を含む鉛直断面において、前記傾斜面と前記冷却室の内周面とが交差する第1の交差部は、前記一の支持壁の下端と前記冷却室の内周面とが交差する第2の交差部よりも上方に位置する、コークス乾式消火設備のスローピングフリュー部構造。
【請求項4】
前記複数の支持壁のうち一の支持壁を含む鉛直断面において、前記予備室の下端部と前記一の支持壁の内周面とが交差する第3の交差部を含む水平面と、前記第2の交差部及び前記第3の交差部を通る仮想直線とがなす角度θは、70°以下である、請求項3に記載のスローピングフリュー部構造。
発明の詳細な説明
【技術分野】
【0001】
本開示は、コークス乾式消火設備及びそのスローピングフリュー部構造に関する。
続きを表示(約 2,200 文字)
【背景技術】
【0002】
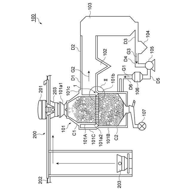
特許文献1は、コークス炉から取り出された赤熱コークスを冷却ガス(例えば、不活性ガスなど)等で消火しつつ、赤熱コークスとの熱交換後の冷却ガスの熱を利用して発電するコークス乾式消火(CDQ:Coke Dry Quenching)設備を開示している。当該コークス乾式消火設備は、赤熱コークスが貯留される予備室と、予備室の下方に配置された冷却室とを含む冷却塔を備える。予備室及び冷却室は、上下方向に延びる円筒形状を呈している。冷却室の下部には、赤熱コークスを乾式冷却するための冷却ガスが供給される供給部が設けられている。冷却室の上部には、赤熱コークスと熱交換して高温となった冷却ガスを冷却塔の外部に排気するための複数の排気口(スローピングフリュー部)が設けられている。複数の排気口は、冷却室の周方向において所定間隔をもって並ぶように配置されている。各排気口は、上方に向かうにつれて冷却室の径方向外方に拡がる傾斜面(スロープ面)を含む。各排気口の間には、予備室の環状壁を支持するために、予備室の下部と冷却室の上部の内周面とを接続する支持壁が設けられている。
【先行技術文献】
【特許文献】
【0003】
実公昭62-034975号公報
【発明の概要】
【発明が解決しようとする課題】
【0004】
当該コークス乾式消火設備の運転中、冷却塔で冷却された赤熱コークスは、冷却塔の下部から外部に排出されるため、この排出に応じて、予備室に貯留されている赤熱コークスが冷却室に流下する。この際、予備室に貯留されている赤熱コークスは、排気口内にも流入する。一方、上述のとおり、排気口からは冷却ガスが冷却塔の外部に向けて排気される。そのため、赤熱コークスが冷却ガスによって吹き上げられて排気口内に滞留していき、排気口が赤熱コークスによって閉塞されてしまう懸念がある。この場合、冷却室内を流れる冷却ガスの風量を赤熱コークスの処理量に適した大きさに調整し難い傾向にある。
【0005】
そのため、特許文献1では、排気口において、傾斜角が互いに異なる背面が連接された傾斜面を採用している。この場合、排気口から流出する赤熱コークスの量が、排気口に流入する赤熱コークスの量よりも大きくなり、排気口の閉塞が抑制されるとされている。また、予備室と冷却室との直径差を大きくすることなく、当該直径差が維持された状態で排気口の閉塞が抑制されるので、予備室の小径化を補うための予備室の高さ方向への拡大や、支持壁が長大化することによるコストアップが抑制されるとされている。
【0006】
しかしながら、特許文献1のように、排気口において、傾斜角が互いに異なる背面が連接された傾斜面を採用した場合、排気口の大きさが拡大すると共に、当該傾斜面の面積が大きくなる。そのため、予備室から排気口内に流入する赤熱コークスの量が増加することに加え、当該赤熱コークスが傾斜面から受ける摩擦抵抗も増加する。したがって、特許文献1の排気口の構造では、実際には、赤熱コークスの排気口における滞留が十分に解消することができない。
【0007】
そこで、本開示は、スローピングフリュー部からの赤熱コークスの排出を促進することが可能なコークス乾式消火設備及びそのスローピングフリュー部構造を説明する。
【課題を解決するための手段】
【0008】
コークス乾式消火設備の一例は、筒状を呈する予備室と、予備室の下方に配置され且つ筒状を呈する冷却室と、予備室の周囲に形成された環状ダクトと、スローピングフリュー部とを含む冷却塔を備える。スローピングフリュー部は、予備室の下端部を外側から取り囲むように冷却室の上端部から上方に向けて延びる環状壁と、耐火レンガによって構成され、予備室の下端部と冷却室の上端部及び環状壁との間において冷却室の径方向に延び、且つ、冷却室の周方向に沿って並ぶように配置された、複数の支持壁と、複数の支持壁のうち周方向において隣り合う支持壁と、予備室の下端部と、環状壁とによって画定され、且つ、冷却室と環状ダクトとを流体的に接続するように構成された、複数の排気流路とを含む。環状壁の内周面は、上方に向かうにつれて冷却室の径方向外方に拡がる傾斜面を含む。複数の支持壁のうち一の支持壁を含む鉛直断面において、傾斜面と冷却室の内周面とが交差する第1の交差部は、一の支持壁の下端と冷却室の内周面とが交差する第2の交差部よりも上方に位置する。
【発明の効果】
【0009】
本開示に係るコークス乾式消火設備及びそのスローピングフリュー部構造によれば、スローピングフリュー部からの赤熱コークスの排出を促進することが可能となる。
【図面の簡単な説明】
【0010】
図1は、コークス乾式消火設備の一例を概略的に示す図である。
図2は、図1のII部を拡大して、スローピングフリュー部の近傍を冷却塔の内側から見た様子を示す斜視図である。
図3は、図2のIII-III線断面図である。
図4は、従来のコークス乾式消火設備において赤熱コークスが排気流路を閉塞するメカニズムを説明するための図である。
【発明を実施するための形態】
(【0011】以降は省略されています)
この特許をJ-PlatPat(特許庁公式サイト)で参照する
関連特許
他の特許を見る