TOP
|
特許
|
意匠
|
商標
特許ウォッチ
Twitter
他の特許を見る
10個以上の画像は省略されています。
公開番号
2025171440
公報種別
公開特許公報(A)
公開日
2025-11-20
出願番号
2024076793
出願日
2024-05-09
発明の名称
遠隔操作システム
出願人
IDEC株式会社
代理人
個人
,
個人
,
個人
,
個人
,
個人
主分類
H04Q
9/00 20060101AFI20251113BHJP(電気通信技術)
要約
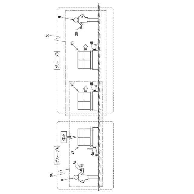
【課題】所望される無人搬送車だけを動作停止させられる遠隔操作システムを提供することを目的とする。
【解決手段】使用者Mが所持する発信端末2と無人搬送車Vに設けた受信機4とを備えた遠隔操作システム1であって、発信端末2には、当該発信端末2が属するグループを示す発信グループ識別子を記憶する発信側記憶手段(発信制御部30)と、使用者Mの押下操作を受け付ける手元ボタン26と、手元ボタン26の押下を検知した場合、発信グループ識別子を付与した停止信号を発信する発信手段(発信制御部30)とが備えられ、受信機4には、当該受信機4が属するグループを示す受信グループ識別子を記憶する受信側記憶手段(受信制御部47)と、受信した停止信号の発信グループ識別子が受信グループ識別子に一致する場合、無人搬送車Vの動作を停止させる停止制御手段(受信制御部47)とが備えられたことを特徴とする。
【選択図】図3
特許請求の範囲
【請求項1】
使用者が所持する発信端末と所定機器に設けた受信機とを備え、前記発信端末が無線を介して発信する各種信号に基づいて、前記受信機が前記所定機器を操作する遠隔操作システムであって、
前記発信端末は、
当該発信端末が属するグループを示す発信グループ識別子を記憶する発信側記憶手段と、
前記使用者の押下操作を受け付ける操作受付部と、
該操作受付部の押下を検知した場合、前記所定機器の動作を停止させるための信号に前記発信グループ識別子を付与した停止信号を通信範囲に発信する発信手段とが備えられ、
前記受信機は、
当該受信機が属するグループを示す受信グループ識別子を記憶する受信側記憶手段と、
前記停止信号を受信した場合、前記停止信号の前記発信グループ識別子が前記受信グループ識別子に一致するか否かを判定する判定手段と、
前記発信グループ識別子が前記受信グループ識別子に一致する場合、前記所定機器の動作を停止させる停止制御手段とが備えられた
遠隔操作システム。
続きを表示(約 1,600 文字)
【請求項2】
前記発信端末は、
前記使用者による前記発信グループ識別子の変更を受け付ける発信側識別子変更手段が備えられ、
前記受信機は、
前記使用者による前記受信グループ識別子の変更を受け付ける受信側識別子変更手段が備えられた
請求項1に記載の遠隔操作システム。
【請求項3】
前記発信端末は、
前記停止信号の発信出力を変更する出力変更手段が備えられた
請求項1に記載の遠隔操作システム。
【請求項4】
前記操作受付部は、
前記使用者によって押下された押下状態を、前記使用者による復帰操作を受け付けるまで維持する構成である
請求項1に記載の遠隔操作システム。
【請求項5】
前記受信機からの制御信号に基づいて前記所定機器の動作を停止させる押下状態に移行するとともに、前記押下状態を維持する非常停止ボタンが前記所定機器に備えられ、
前記受信機の前記停止制御手段は、
前記停止信号の前記発信グループ識別子が前記受信グループ識別子に一致する場合、前記非常停止ボタンを前記押下状態に移行させる構成である
請求項1に記載の遠隔操作システム。
【請求項6】
前記操作受付部は、
前記使用者によって押下された押下状態を、前記使用者による復帰操作を受け付けるまで維持する構成であり、
前記非常停止ボタンは、
前記受信機からの制御信号によって前記押下状態から復帰する構成であり、
前記発信端末の前記発信手段は、
前記操作受付部の前記押下状態の維持を解除する前記復帰操作を検知すると、前記復帰操作を示す信号に前記発信グループ識別子を付与した復帰信号を前記通信範囲に発信する構成であり、
前記受信機の前記停止制御手段は、
前記復帰信号の前記発信グループ識別子が前記受信グループ識別子に一致する場合、前記非常停止ボタンの前記押下状態を復帰させる制御信号を前記非常停止ボタンに出力する構成である
請求項5に記載の遠隔操作システム。
【請求項7】
前記発信端末の前記発信手段は、
前記発信グループ識別子が付与された確認信号を所定時間間隔で前記通信範囲に発信する構成であり、
前記受信機の前記停止制御手段は、
前記発信端末からの前記確認信号を所定時間受信しない場合、前記所定機器の動作を停止させる構成である
請求項1に記載の遠隔操作システム。
【請求項8】
前記発信端末は、前記使用者が装着するウェアラブル端末で構成された
請求項1に記載の遠隔操作システム。
【請求項9】
複数の前記所定機器にそれぞれ前記受信機が備えられ、
前記発信端末の前記発信側記憶手段は、
前記発信端末が属するグループを複数記憶する構成であり、
前記発信端末の前記発信手段は、
複数のグループを示す前記発信グループ識別子を付与した前記停止信号を発信する構成であり、
前記受信機の前記停止制御手段は、
前記発信グループ識別子が示す複数のグループのうち、いずれかの一つのグループと、前記受信グループ識別子が示すグループとが一致する場合、前記所定機器の動作を停止させる構成である
請求項1に記載の遠隔操作システム。
【請求項10】
複数の前記所定機器にそれぞれ前記受信機が備えられ、
前記受信機の前記受信側記憶手段は、
前記受信機が属するグループを複数記憶する構成であり、
前記受信機の前記停止制御手段は、
前記発信グループ識別子が示すグループと、前記受信グループ識別子が示す複数のグループのうち、いずれか一つのグループとが一致する場合、前記所定機器の動作を停止させる構成である
請求項1に記載の遠隔操作システム。
発明の詳細な説明
【技術分野】
【0001】
この発明は、例えば無人搬送車や産業用ロボットなどの所定機器を遠隔操作するような遠隔操作システムに関する。
続きを表示(約 1,600 文字)
【背景技術】
【0002】
昨今、生産工場や人間が立ち入れない場所などでは、例えばティーチングによって記憶したプログラムに基づいて動作する無人搬送車や産業用ロボットなどが人間に代わって作業を行っている。
このような無人搬送車や産業用ロボットなどには、緊急時に作業者による押下操作を受け付けて、無人搬送車や産業用ロボットの動作を停止させる非常停止ボタンが備えられている。
【0003】
しかしながら、例えば無人搬送車の場合、作業者が無人搬送車を追いかけて非常停止ボタンを押下する必要があるため、非常停止ボタンが押し難いだけでなく、非常停止に時間を要するという問題がある。
【0004】
そこで、無人搬送車や産業用ロボットなどの所定機器に設けた非常停止ボタンを、作業者が装着したウェアラブル端末で遠隔操作する技術が提案されている(特許文献1参照)。
ところが、特許文献1の場合、ウェアラブル端末が非常停止信号を発信した際、ウェアラブル端末の通信範囲内に位置する全ての所定機器が非常停止の対象となる。
【0005】
このため、例えばウェアラブル端末を着用した使用者が担当する担当エリアと、担当エリアに仕切り壁を隔てて隣接するエリアとが、ウェアラブル端末の通信範囲に含まれる場合、特許文献1では、担当エリアの所定機器だけでなく、隣接するエリアで動作する所定機器も停止するおそれがある。
【0006】
そこで、ウェアラブル端末の通信範囲を隣接するエリアを含まないように狭くすることが考えられるが、この場合、使用者の担当エリアにおいて、使用者から離れた位置の所定機器にウェアラブル端末からの非常停止信号が届かず、所望される所定機器の動作が停止しないおそれがあった。
【先行技術文献】
【特許文献】
【0007】
特開2022-66556号公報
【発明の概要】
【発明が解決しようとする課題】
【0008】
本発明は、上述の問題に鑑み、所望される所定機器だけを動作停止させられる遠隔操作システムを提供することを目的とする。
【課題を解決するための手段】
【0009】
この発明は、使用者が所持する発信端末と所定機器に設けた受信機とを備え、前記発信端末が無線を介して発信する各種信号に基づいて、前記受信機が前記所定機器を操作する遠隔操作システムであって、前記発信端末は、当該発信端末が属するグループを示す発信グループ識別子を記憶する発信側記憶手段と、前記使用者の押下操作を受け付ける操作受付部と、該操作受付部の押下を検知した場合、前記所定機器の動作を停止させるための信号に前記発信グループ識別子を付与した停止信号を通信範囲に発信する発信手段とが備えられ、前記受信機は、当該受信機が属するグループを示す受信グループ識別子を記憶する受信側記憶手段と、前記停止信号を受信した場合、前記停止信号の前記発信グループ識別子が前記受信グループ識別子に一致するか否かを判定する判定手段と、前記発信グループ識別子が前記受信グループ識別子に一致する場合、前記所定機器の動作を停止させる停止制御手段とが備えられたことを特徴とする。
【0010】
上記発信端末は、使用者が装着するウェアラブル端末、あるいは使用者が保持する携帯端末などのことをいう。
上記所定機器は、無人搬送車などの搬送車両、あるいは産業用ロボットなどの産業機械のことをいう。
上記停止信号は、緊急時や非常時に所定機器を非常停止させる信号、あるいは緊急時や非常時ではないタイミングで所定機器を一時停止させる信号のことをいう。
(【0011】以降は省略されています)
この特許をJ-PlatPat(特許庁公式サイト)で参照する
関連特許
IDEC株式会社
遠隔操作システム
9日前
IDEC株式会社
装着型アンテナ装置
1か月前
個人
イヤーピース
22日前
個人
イヤーマフ
1か月前
個人
監視カメラシステム
1か月前
キーコム株式会社
光伝送線路
1か月前
個人
スイッチシステム
1か月前
サクサ株式会社
中継装置
1か月前
サクサ株式会社
中継装置
1か月前
WHISMR合同会社
収音装置
2か月前
個人
スキャン式車載用撮像装置
1か月前
キヤノン株式会社
撮像装置
3か月前
アイホン株式会社
電気機器
2か月前
キヤノン株式会社
撮像装置
1日前
サクサ株式会社
無線システム
1か月前
ヤマハ株式会社
放音制御装置
1か月前
サクサ株式会社
無線通信装置
1か月前
株式会社リコー
画像形成装置
1か月前
キヤノン電子株式会社
画像読取装置
2か月前
キヤノン電子株式会社
画像読取装置
1か月前
キヤノン電子株式会社
画像読取装置
22日前
サクサ株式会社
無線通信装置
1か月前
個人
映像表示装置、及びARグラス
1か月前
キヤノン電子株式会社
画像読取装置
1か月前
株式会社リコー
画像形成装置
3か月前
個人
ワイヤレスイヤホン対応耳掛け
2か月前
株式会社リコー
画像形成装置
2か月前
キヤノン株式会社
画像処理装置
25日前
キヤノン株式会社
情報処理装置
9日前
キヤノン電子株式会社
シート搬送装置
22日前
個人
発信機及び発信方法
1か月前
日本電気株式会社
海底分岐装置
1か月前
キヤノン株式会社
撮像システム
2か月前
株式会社NTTドコモ
端末
1か月前
キヤノン電子株式会社
画像処理システム
1か月前
沖電気工業株式会社
画像形成装置
2か月前
続きを見る
他の特許を見る