TOP
|
特許
|
意匠
|
商標
特許ウォッチ
Twitter
他の特許を見る
公開番号
2025171084
公報種別
公開特許公報(A)
公開日
2025-11-20
出願番号
2024076076
出願日
2024-05-08
発明の名称
散薬分包装置
出願人
株式会社トーショー
代理人
個人
主分類
A61J
3/00 20060101AFI20251113BHJP(医学または獣医学;衛生学)
要約
【課題】コンパクト化を行いつつも補充の容易性や秤量の正確性を確保した散薬分包装置の提供
【解決手段】散薬が投入される収容容器と、当該配分円盤上に落下した散薬を所定量毎に均等に分配するための配分円盤と、配分円盤の上部に位置し、収容容器を環状の軌道を周回するように移送するとともに、所定の着脱位置で収容容器の着脱が成され、配分円盤上の所定の投下位置に移送されて収容容器から散薬を配分円盤に放出する収容容器バッファと、配分円盤を覆うように設けられ、少なくとも一部が開閉可能に設けられたカバー部と、投下位置の上方かつカバー部の可動部分に重複しない位置に設けられた秤量部と、を有し、秤量部は、収容容器を支持可能な固定部と、固定部に装着された収容容器の重量を測定可能な電子天秤と、秤量部の少なくとも3方を囲うように設けられたケースと、ケースの外部に設けられて電子天秤の操作を行う操作部と、を備えた散薬分包装置。
【選択図】 図1
特許請求の範囲
【請求項1】
分包される散薬が投入される収容容器と、
当該配分円盤上に落下した散薬を所定量毎に均等に分配するための配分円盤と、
前記配分円盤の上部に位置し、前記収容容器を環状の軌道を周回するように移送するとともに、所定の着脱位置で前記収容容器の着脱が成され、前記配分円盤上の所定の投下位置に移送されて前記収容容器から散薬を前記配分円盤に放出する収容容器バッファと、
前記配分円盤を覆うように設けられ、少なくとも一部が開閉可能に設けられたカバー部と、
前記投下位置の上方かつ前記カバー部の可動部分に重複しない位置に設けられた秤量部と、
を有し、
前記秤量部は、前記収容容器を支持可能な固定部と、前記固定部に装着された前記収容容器の重量を測定可能な電子天秤と、前記秤量部の少なくとも3方を囲うように設けられたケースと、前記ケースの外部に設けられて前記電子天秤の操作を行う操作部と、を備えたことを特徴とする散薬分包装置。
続きを表示(約 590 文字)
【請求項2】
請求項1に記載の散薬分包装置において、
前記散薬分包装置の筐体には、手前側に引き倒すことで前記収容容器を保持可能な可動式保持部を備えた充填作業台を有することを特徴とする散薬分包装置。
【請求項3】
請求項2に記載の散薬分包装置において、
前記可動式保持部には、当該可動式保持部に載置された前記収容容器の表示器を書き換える書き換え手段が配置されることを特徴とする散薬分包装置。
【請求項4】
請求項3に記載の散薬分包装置において、
前記収容容器は、当該収容容器固有の識別情報を保持し、
前記充填作業台は、前記可動式保持部に収容容器が載置されたことを検知する検知手段と、補充される散薬の薬品情報を読み取る読取手段と、を有し、
前記収容容器の識別情報と、前記薬品情報とが一致するかどうかを照合することを特徴とする散薬分包装置。
【請求項5】
請求項1に記載の散薬分包装置において、
前記カバー部は、前記配分円盤を二分したときに前記収容容器バッファが配置された側である第1カバー部と、前記第1カバー部とは別体として開閉可能であって、前記第1カバー部の逆側に位置する第2カバー部とを有し、前記第1カバー部は少なくとも前記着脱位置までを開放可能としたことを特徴とする散薬分包装置。
発明の詳細な説明
【技術分野】
【0001】
この発明は、薬剤を包装するための散薬分包装置に関する。
続きを表示(約 2,700 文字)
【背景技術】
【0002】
所定の長さ毎に区分された長尺の包装紙に粉体や個体を封入し、熱によってシールする包装装置が広く知られている(例えば特許文献1等参照)。
また、これらの包装装置と前述の薬剤を所定の数量ずつ排出する散薬払出機構とを組み合わせ散薬分包装置として動作させる構成もまた知られている(例えば特許文献2、3等参照)。
さて、こうした散薬分包装置としては様々な構成が考えられているが、省スペース化と高速化の要求に応えるため、散薬分包装置のさらなるコンパクト化が求められている。
【0003】
他方、散薬分包装置において、散薬収容容器への補充の際には、散薬収容容器内部の薬剤の量を在庫として把握しておくために、どの薬品をどの程度補充したかの確認も必要である。また、薬剤師による手作業での秤量作業を行った散薬を均等に分配するときにも、散薬分包装置が用いられる場合があり、こうした様々な使用形態に対して対応する必要がある。散薬収容容器内に秤量済の散薬を投入し、所定の分量に払い出すようなこともその1つである。
例えば、従来散薬収容容器に格納されている散薬を事前に秤量する方法としては、散薬秤量装置を別途用いる方式等が知られている(例えば特許文献4等参照)。
しかしながら、複数の装置を用いてこれらの様々な使用形態に対応することは、結果として装置の設置スペースの増大を招き、コンパクト化の要求とは相反する。
他方、全ての機能を1つに持たせようとすれば、結局のところ装置自体の大型化につながってしまうため、コンパクト化と多機能化とをどのように両立するかが課題であった。
また、装置の大型化は、必然的に手作業の際の移動距離の増大にもつながるため、動線の複雑化を抑えて作業者にとって作業しやすい状態を維持することも重要である。
【先行技術文献】
【特許文献】
【0004】
特許7345092号公報
特開2023-160919号公報
特開2024-019144号公報
特許第7157914号公報
【発明の概要】
【発明が解決しようとする課題】
【0005】
本発明は、かかる技術的課題を解決するためのものであり、コンパクト化を行いつつも作業者の動線の簡素化を含む補充の容易性や秤量の正確性を確保した散薬分包装置の提供を目的とする。
【課題を解決するための手段】
【0006】
本発明の散薬分包装置は、分包される散薬が投入される収容容器と、当該配分円盤上に落下した散薬を所定量毎に均等に分配するための配分円盤と、前記配分円盤の上部に位置し、前記収容容器を環状の軌道を周回するように移送するとともに、所定の着脱位置で前記収容容器の着脱が成され、前記配分円盤上の所定の投下位置に移送されて前記収容容器から散薬を前記配分円盤に放出する収容容器バッファと、前記配分円盤を覆うように設けられ、少なくとも一部が開閉可能に設けられたカバー部と、前記投下位置の上方かつ前記カバー部の可動部分に重複しない位置に設けられた秤量部と、を有し、前記秤量部は、前記収容容器を支持可能な固定部と、前記固定部に装着された前記収容容器の重量を測定可能な電子天秤と、前記秤量部の少なくとも3方を囲うように設けられたケースと、前記ケースの外部に設けられて前記電子天秤の操作を行う操作部と、を備えたことを特徴とする。
【発明の効果】
【0007】
このような散薬分包装置によれば、コンパクト化を行いつつも補充の容易性や秤量の正確性を確保することができる。
【図面の簡単な説明】
【0008】
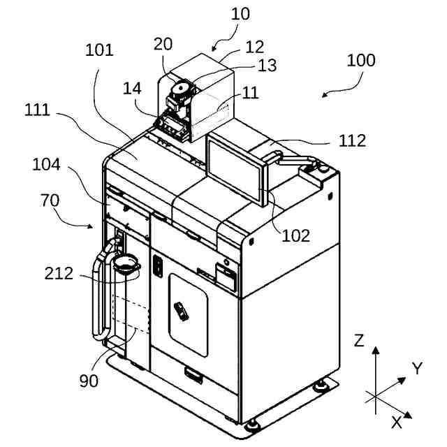
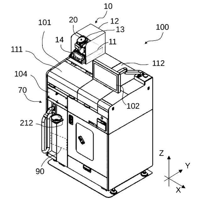
本発明の実施形態の一例として、散薬分包装置の外観を示した斜視図である。
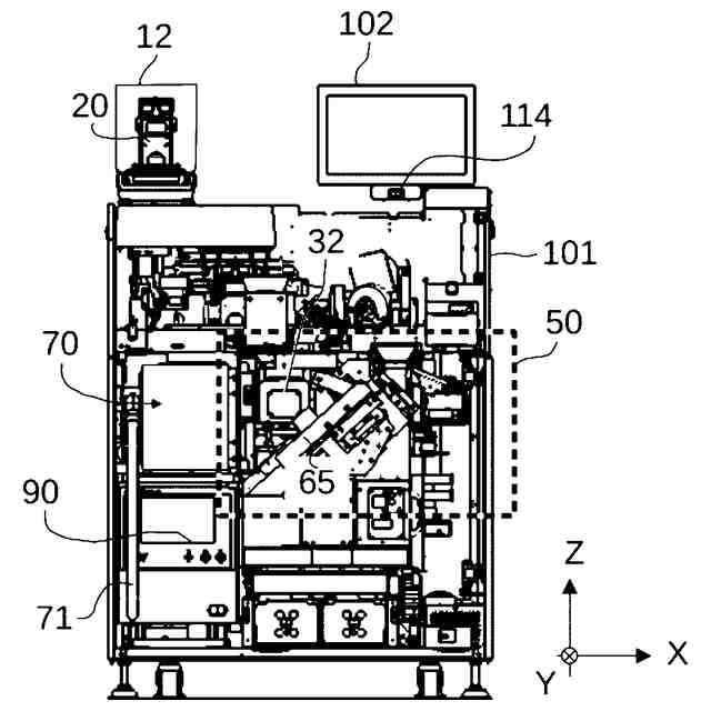
図1に示した散薬分包装置の構成を示す図である。
図1に示した筐体の内部にあるバッファ部の構成を示した図である。
図1に示した筐体の内部にある配分円盤の構成を示した図である。
図1に示した散薬カセットの構成の一例を示す図である。
図5に示した散薬カセットの動作の一例を示す図である。
図5に示した散薬カセットの補充時の構成の一例を示す図である。
図1に示した包装装置の一例を示す図である。
包装装置による散薬の分包結果の一例を示す図である。
散薬分包装置の内部構造の一例を示す図である。
散薬分包装置のカバー部の構成の一例を示す図である。
図1に示した包装装置の構成の一例を示す概略図である。
充填台扉及び保持台を格納したときの構成の一例を示す図である。
秤量部の構成の一例を示す図である。
秤量部に散薬カセットを取り付ける際の動作の一例を示す図である。
散薬分包装置の扉部分の開閉の動作の一例を示す図である。
【発明を実施するための形態】
【0009】
本発明の散薬分包装置の一例である具体的な形態を、図に沿って説明する。
図においては、簡略化のため、ボルト等の締結具や、電動モータ等の駆動源、ギヤ等の伝動部材、モータドライバ等の電気回路、コントローラ等の電子回路の詳細などは図示を割愛し、発明の説明に必要なものや関連するものを中心に図示する。
また、図1に示すように、散薬分包装置100の操作者Pの立つ正面側から見たときに、便宜上左から右へ向かう方向をX方向、手前側から奥側に向かう方向をY方向、下から上へ向かう方向をZ方向として示している。
【0010】
まず、本発明の散薬分包装置100について、外観図及び内部構成図を図1、図2に示す。
散薬分包装置100は、図1に示すように、筐体101の上部に位置し、操作者Pが手動で散薬カセット20を設置して散薬カセット20の重量を測定可能な電子天秤11と、電子天秤11の周囲を囲むように設けられた風防12と、電子天秤11上に散薬カセット20を設置可能なように設けられた固定部13と、を有している。
また、電子天秤11の操作部14は、風防12の外側から操作可能なように、風防12から突き出た態様で設けられている。
電子天秤11と、風防12と、固定部13と、操作部14と、は散薬分包装置100において秤量部10を構成する各部である。
(【0011】以降は省略されています)
この特許をJ-PlatPat(特許庁公式サイト)で参照する
関連特許
個人
貼付剤
1か月前
個人
簡易担架
25日前
個人
足踏み器具
1か月前
個人
腋臭防止剤
25日前
個人
短下肢装具
4か月前
個人
前腕誘導装置
4か月前
個人
排尿補助器具
1か月前
個人
嚥下鍛錬装置
5か月前
個人
腰ベルト
1か月前
個人
歯の修復用材料
5か月前
個人
バッグ式オムツ
5か月前
個人
ウォート指圧法
1か月前
個人
汚れ防止シート
2か月前
個人
アイマスク装置
3か月前
個人
テスト肺
6日前
個人
矯正椅子
6か月前
個人
水分吸収性物品
4日前
個人
ホバーアイロン
8か月前
個人
胸骨圧迫補助具
3か月前
個人
湿布連続貼り機。
3か月前
個人
陣痛緩和具
5か月前
個人
シャンプー
7か月前
個人
美容セット
1か月前
個人
歯の保護用シール
6か月前
個人
哺乳瓶冷まし容器
4か月前
個人
介護移乗アシスト
4日前
個人
排尿排便補助器具
27日前
個人
性行為補助具
4か月前
株式会社コーセー
化粧料
1か月前
個人
エア誘導コルセット
3か月前
株式会社八光
剥離吸引管
6か月前
株式会社大野
骨壷
5か月前
個人
治療用酸化防御装置
2か月前
株式会社ダリヤ
毛髪化粧料
4日前
個人
精力増強キット
2か月前
株式会社ニデック
検眼装置
5か月前
続きを見る
他の特許を見る