TOP
|
特許
|
意匠
|
商標
特許ウォッチ
Twitter
他の特許を見る
公開番号
2025170539
公報種別
公開特許公報(A)
公開日
2025-11-19
出願番号
2024075198
出願日
2024-05-07
発明の名称
プレス加工装置
出願人
トヨタ自動車株式会社
代理人
弁理士法人明成国際特許事務所
主分類
B21D
45/10 20060101AFI20251112BHJP(本質的には材料の除去が行なわれない機械的金属加工;金属の打抜き)
要約
【課題】プレス成形品およびスクラップの位置エネルギーを有効に活用できる技術を提供する。
【解決手段】プレス加工装置は、磁性体である被プレス材をプレス加工することで成形されたプレス成形品、または、プレス成形品の成形時に生じるスクラップが下方に移動する通路と、送電装置と、を備え、通路は、コイルを備え、プレス成形品およびスクラップは、コイルの内部を通過し、送電装置は、コイルの内部をプレス成形品またはスクラップが通過することで生じた電力を送電する。
【選択図】図1
特許請求の範囲
【請求項1】
プレス加工装置であって、
磁性体である被プレス材をプレス加工することで成形されたプレス成形品、または、前記プレス成形品の成形時に生じるスクラップが下方に移動する通路と、
送電装置と、を備え、
前記通路は、コイルを備え、
前記プレス成形品および前記スクラップは、前記コイルの内部を通過し、
前記送電装置は、前記コイルの内部を前記プレス成形品または前記スクラップが通過することで生じた電力を送電する、
プレス加工装置。
発明の詳細な説明
【技術分野】
【0001】
本開示は、プレス加工装置に関する。
続きを表示(約 1,200 文字)
【背景技術】
【0002】
特許文献1には、プレス装置の上型の上下運動を利用して発電を行う、プレス装置の付帯装置が開示されている。
【先行技術文献】
【特許文献】
【0003】
特開2018-164927号公報
【発明の概要】
【発明が解決しようとする課題】
【0004】
従来、プレス加工装置で成形されたプレス成形品やスクラップはプレス加工装置の下部に落下するだけであり、これらの位置エネルギーは有効に活用されていなかった。
【課題を解決するための手段】
【0005】
本開示は、以下の形態として実現することが可能である。
【0006】
本開示の一形態によれば、プレス加工装置が提供される。このプレス加工装置は、磁性体である被プレス材をプレス加工することで成形されたプレス成形品、または、前記プレス成形品の成形時に生じるスクラップが下方に移動する通路と、送電装置と、を備え、前記通路は、コイルを備え、前記プレス成形品および前記スクラップは、前記コイルの内部を通過し、前記送電装置は、前記コイルの内部を前記プレス成形品または前記スクラップが通過することで生じた電力を送電する。
この形態のプレス加工装置によれば、発電した電力を電力消費装置やバッテリに送電することで、プレス成形品およびスクラップの位置エネルギーを有効に活用することができる。
【図面の簡単な説明】
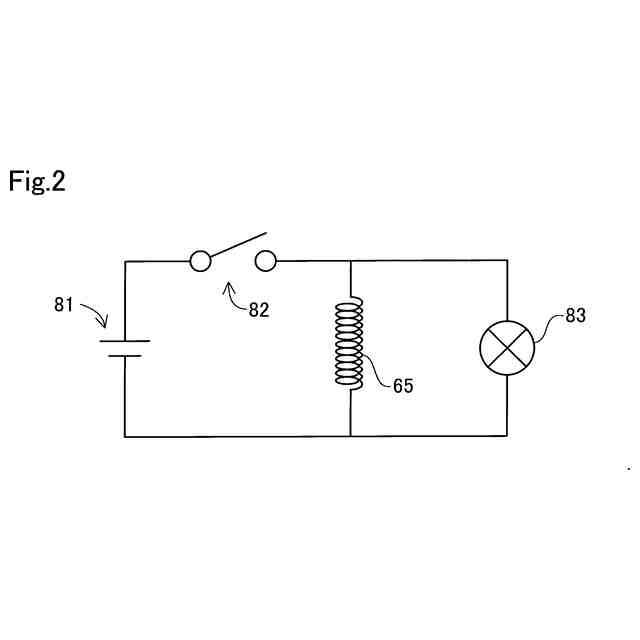
【0007】
プレス加工システムの概略構成を示す説明図。
プレス加工装置で発電された電力を電力消費装置が消費する例を示す回路図。
【発明を実施するための形態】
【0008】
A.第1実施形態:
図1は、プレス加工システム100の概略構成を示す説明図である。プレス加工システム100は、アンコイラ10と、ループコントローラ20と、フィーダ30と、プレス加工装置40と、を備える。プレス加工装置40は、被プレス材91をプレス加工することで、被プレス材91をプレス成形品92に成形する装置である。本実施形態では、被プレス材91は、電磁鋼板である。なお、被プレス材91は、磁性体であればよく、例えば、フェライト系ステンレスやマルテンサイト系ステンレスなどであってもよい。また、被プレス材91は、熱延鋼板や冷延鋼板であってもよい。
【0009】
アンコイラ10には、コイル状に巻回された帯状の被プレス材91が取り付けられている。アンコイラ10は、被プレス材91を巻きほぐす。巻きほぐされた被プレス材91は、アンコイラ10から、ループコントローラ20、プレス加工装置40の順に搬送される。
【0010】
ループコントローラ20は、アンコイラ10から供給された被プレス材91のたるみを調整し、被プレス材91のバタツキおよび折れ曲がりを抑制する。
(【0011】以降は省略されています)
この特許をJ-PlatPat(特許庁公式サイト)で参照する
関連特許
トヨタ自動車株式会社
車両
今日
トヨタ自動車株式会社
電動車
今日
トヨタ自動車株式会社
反応容器
今日
トヨタ自動車株式会社
判定装置
今日
トヨタ自動車株式会社
制御装置
今日
トヨタ自動車株式会社
蓄電装置
今日
トヨタ自動車株式会社
歯面磨き加工装置
今日
トヨタ自動車株式会社
巻線界磁型モータ
今日
トヨタ自動車株式会社
巻線界磁型モータ
今日
トヨタ自動車株式会社
車両スイッチ装置
今日
トヨタ自動車株式会社
過給機冷却システム
今日
トヨタ自動車株式会社
内燃機関の制御装置
今日
トヨタ自動車株式会社
車両の空力特性制御装置
今日
トヨタ自動車株式会社
降車支援装置及び降車支援システム
今日
トヨタ自動車株式会社
ユーザインターフェースの電力消費の削減
今日
トヨタ自動車株式会社
ダイヤモンド量子センサのノイズ除去方法
今日
トヨタ自動車株式会社
端末装置、感情推定方法、及びプログラム
今日
トヨタ自動車株式会社
電池
今日
株式会社オートネットワーク技術研究所
オプション機器追加用内装部材
今日
株式会社オートネットワーク技術研究所
オプション機器組込内装部材、オプション機器及び内装部材
今日
個人
鋼線の連続伸線方法
6日前
株式会社不二越
NC転造盤
4か月前
オムロン株式会社
導線折り曲げ治具
2か月前
株式会社アマダ
曲げ金型
2か月前
トヨタ紡織株式会社
プレス金型
2か月前
日鉄建材株式会社
成形装置
1か月前
トヨタ自動車株式会社
打ち抜き加工装置
27日前
トヨタ自動車株式会社
鋼板部材の製造方法
28日前
トヨタ自動車株式会社
鋼板部材の製造方法
28日前
株式会社三明製作所
転造装置
2か月前
フジテック株式会社
金属棒曲げ工具
1か月前
ユニプレス株式会社
プレス加工装置
3か月前
ユニオンツール株式会社
転造ダイスセット
4か月前
株式会社アマダ
ビード形成方法
22日前
JFEスチール株式会社
熱延鋼板の製造方法
3か月前
東京精密発條株式会社
金属板の曲げ加工装置
2か月前
続きを見る
他の特許を見る