TOP
|
特許
|
意匠
|
商標
特許ウォッチ
Twitter
他の特許を見る
公開番号
2025170509
公報種別
公開特許公報(A)
公開日
2025-11-19
出願番号
2024075133
出願日
2024-05-07
発明の名称
レーザ加工装置
出願人
トヨタ自動車株式会社
代理人
個人
主分類
B23K
26/00 20140101AFI20251112BHJP(工作機械;他に分類されない金属加工)
要約
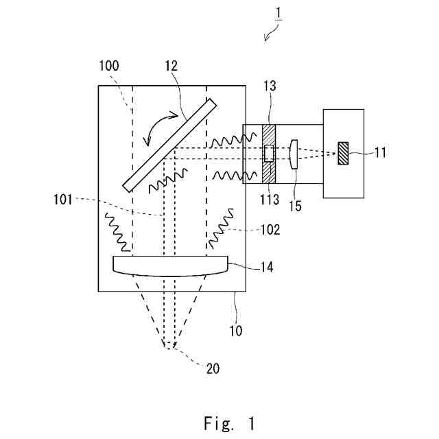
【課題】被加工物の溶接状態を精度良く監視できるレーザ加工装置を提供すること。
【解決手段】本開示にかかるレーザ加工装置1は、集光されたレーザ光100を被加工物の加工点20に照射して加工を行うレーザ加工装置であって、加工点からの戻り光101を集光する集光レンズ15と、集光レンズによって集光された戻り光を検出する光センサ11と、集光レンズに対して光センサ側とは反対側に配置され、光路の中央部にピンホール113を有する遮光部材13と、を備えるものである。
【選択図】図1
特許請求の範囲
【請求項1】
集光されたレーザ光を被加工物の加工点に照射して加工を行うレーザ加工装置であって、
前記加工点からの戻り光を集光する集光レンズと、
前記集光レンズによって集光された前記戻り光を検出する光センサと、
前記集光レンズに対して前記光センサ側とは反対側に配置され、光路の中央部にピンホールを有する遮光部材と、を備える、
レーザ加工装置。
続きを表示(約 260 文字)
【請求項2】
さらに、角度が調整可能である部分反射ミラーを備え、
前記戻り光は、前記部分反射ミラーによって前記ピンホールを通過する、
請求項1に記載のレーザ加工装置。
【請求項3】
さらに、前記遮光部材と前記集光レンズとの間にフィルタを備え、
前記フィルタは、前記戻り光の特定の波長のみを通過させる、
請求項1に記載のレーザ加工装置。
【請求項4】
前記ピンホールの径は、6mm以下である、
請求項1~3のいずれか一項に記載のレーザ加工装置。
発明の詳細な説明
【技術分野】
【0001】
本開示は、レーザ加工装置に関する。
続きを表示(約 1,100 文字)
【背景技術】
【0002】
レーザ加工技術は、被加工物に光源から発されたレーザ光を照射して、レーザ光の熱量で被加工物を溶融させる技術である。これにより、被加工物の成形だけでなく、他の加工物と溶接することができる。
【0003】
レーザ加工において、レーザ光照射時に加工物を監視することは、異常検知をリアルタイムで行えるため有用である。特許文献1には、レーザ加工状態を監視する光センサを設けたレーザ加工装置が開示されている。
【先行技術文献】
【特許文献】
【0004】
特開2021-186848号公報
【発明の概要】
【発明が解決しようとする課題】
【0005】
レーザ加工装置の加工ヘッド内において、迷光と呼ばれる加工ヘッド筐体内にて不要な光の散乱が発生することがある。光センサに迷光が入射されると、ノイズとなり、レーザ光の検出感度が低減する。特許文献1に開示されるレーザ加工装置は、迷光の影響を抑制するために、レーザ光路の中央に遮光部材を設けている。
【0006】
しかしながら、レーザ光路の中央に遮光部材を配置しているため、レーザ加工の状態監視として非常に有効である戻り光の主要部も遮られてしまい、レーザ加工状態の監視精度が低下する課題を有している。
【0007】
本開示は、このような課題を解決するためになされたものであり、被加工物の溶接状態を精度良く監視できるレーザ加工装置を提供することを目的とする。
【課題を解決するための手段】
【0008】
本開示にかかるレーザ加工装置は、集光されたレーザ光を被加工物の加工点に照射して加工を行うレーザ加工装置であって、前記加工点からの戻り光を集光する集光レンズと、前記集光レンズによって集光された前記戻り光を検出する光センサと、前記集光レンズに対して前記光センサ側とは反対側に配置され、光路の中央部にピンホールを有する遮光部材と、を備えるものである。これにより、被加工物の溶接状態を精度良く監視できるレーザ加工装置を提供することができる。
【0009】
さらに、角度が調整可能である部分反射ミラーを備え、前記戻り光は、前記部分反射ミラーによって前記ピンホールを通過するようにしてもよい。これにより、戻り光を効率よくピンホールに通過することができる。
【0010】
さらに、前記遮光部材と前記集光レンズとの間にフィルタを備え、前記フィルタは、前記戻り光の特定の波長のみを通過させるようにしてもよい。これにより、複数の光センサを使用する場合において、異なる波長の戻り光をそれぞれの光センサで検出することができる。
(【0011】以降は省略されています)
この特許をJ-PlatPat(特許庁公式サイト)で参照する
関連特許
トヨタ自動車株式会社
車両
2日前
トヨタ自動車株式会社
配管
2日前
トヨタ自動車株式会社
電池
1日前
トヨタ自動車株式会社
車両
1日前
トヨタ自動車株式会社
電池
7日前
トヨタ自動車株式会社
ロータ
2日前
トヨタ自動車株式会社
電動車
1日前
トヨタ自動車株式会社
電動車
2日前
トヨタ自動車株式会社
制御装置
2日前
トヨタ自動車株式会社
蓄電装置
1日前
トヨタ自動車株式会社
監視装置
7日前
トヨタ自動車株式会社
制御装置
2日前
トヨタ自動車株式会社
学習装置
1日前
トヨタ自動車株式会社
エンジン
1日前
トヨタ自動車株式会社
製造設備
7日前
トヨタ自動車株式会社
蓄電セル
9日前
トヨタ自動車株式会社
制御装置
1日前
トヨタ自動車株式会社
コネクタ
1日前
トヨタ自動車株式会社
蓄電装置
1日前
トヨタ自動車株式会社
蓄電装置
1日前
トヨタ自動車株式会社
制御装置
14日前
トヨタ自動車株式会社
判定装置
1日前
トヨタ自動車株式会社
制御装置
1日前
トヨタ自動車株式会社
制御装置
2日前
トヨタ自動車株式会社
エンジン
2日前
トヨタ自動車株式会社
蓄電装置
14日前
トヨタ自動車株式会社
反応容器
1日前
トヨタ自動車株式会社
電気自動車
1日前
トヨタ自動車株式会社
車両制御装置
1日前
トヨタ自動車株式会社
燃料電池セル
2日前
トヨタ自動車株式会社
情報処理装置
1日前
トヨタ自動車株式会社
車両駆動装置
9日前
トヨタ自動車株式会社
車両制御装置
2日前
トヨタ自動車株式会社
車輪制御構造
1日前
トヨタ自動車株式会社
電池搭載構造
2日前
トヨタ自動車株式会社
スイッチ装置
2日前
続きを見る
他の特許を見る