TOP
|
特許
|
意匠
|
商標
特許ウォッチ
Twitter
他の特許を見る
公開番号
2025170026
公報種別
公開特許公報(A)
公開日
2025-11-14
出願番号
2025141859,2023180085
出願日
2025-08-28,2014-10-09
発明の名称
カテーテルポンプ
出願人
エーツェーペー エントヴィッケルングゲゼルシャフト エムベーハー
代理人
弁理士法人YKI国際特許事務所
主分類
A61M
5/142 20060101AFI20251107BHJP(医学または獣医学;衛生学)
要約
【課題】カテーテルポンプにおいて、液体損失の少ない安定した動作を確保する。
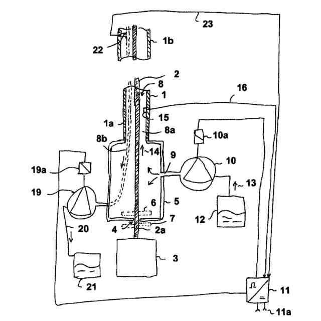
【解決手段】カテーテルポンプであって、中空カテーテルと、中空カテーテルの遠位端に設けられる血液ポンプと、を含み、中空カテーテルは、当該中空カテーテルの遠位端と近位端との間に延びる導管(8)に液体を供給する供給装置を有し、供給装置は、膜型ポンプ(10、19)と、磁気装置(10a)と、制御装置(11)を有し、磁気装置(10a)は、磁力によって膜型ポンプ(10、19)を作動させ、制御装置(11)は、生成したパルスによって磁気装置(10a)を駆動し、パルスの周波数とストロークによって膜型ポンプ(10、19)により生成される流速および/または圧力を調整し、中空カテーテルは、導管(8)内に配置されたシャフト(2)を含み、液体は、シャフト(2)をフラッシュするために使用される。
【選択図】図1
特許請求の範囲
【請求項1】
カテーテルポンプであって、
中空カテーテルと、
前記中空カテーテルの遠位端に設けられる血液ポンプと、を含み、
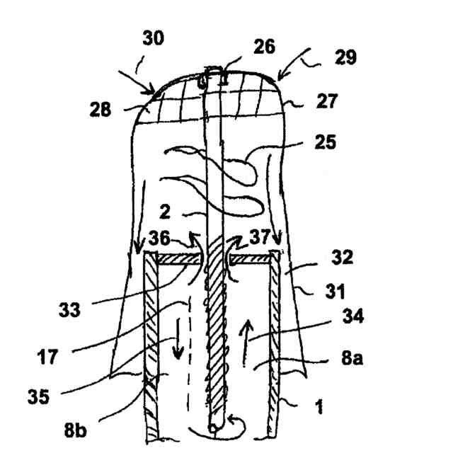
前記中空カテーテルは、当該中空カテーテルの前記遠位端と近位端との間に延びる導管(8)に液体を供給する供給装置を有し、
前記供給装置は、少なくとも1つの膜型ポンプ(10、19)と、磁気装置(10a)と、制御装置(11)を有し、
前記磁気装置(10a)は、磁力によって前記膜型ポンプ(10、19)を作動させ、
前記制御装置(11)は、生成したパルスによって前記磁気装置(10a)を駆動し、
前記制御装置(11)は、前記パルスの周波数とストロークによって前記膜型ポンプ(10、19)により生成される流速および/または圧力を調整し、
前記中空カテーテルは、当該中空カテーテル内で回転可能なシャフト(2)を含み、
前記回転可能な前記シャフト(2)は、前記導管(8)内に配置され、
前記液体は、前記シャフト(2)をフラッシュするために使用される、
ことを特徴とするカテーテルポンプ。
続きを表示(約 1,600 文字)
【請求項2】
カテーテルポンプであって、
中空カテーテルと、
前記中空カテーテルの遠位端に設けられる血液ポンプと、を含み、
前記中空カテーテルは、当該中空カテーテルの前記遠位端と近位端との間に延びる導管(8)に液体を供給する供給装置を有し、
前記供給装置は、少なくとも1つの膜型ポンプ(10、19)と、連結筐体(5)と、制御装置(11)を有し、
前記連結筐体(5)は、前記導管(8)と前記膜型ポンプ(10、19)の間に配置され、前記導管(8)よりも直径が大きく、
前記制御装置(11)は、生成される圧力および/または送出速度の点で前記膜型ポンプ(10,19)を制御し、
前記中空カテーテルは、当該中空カテーテル内で回転可能なシャフト(2)を含み、
前記回転可能な前記シャフト(2)は、前記導管(8)内に配置され、
前記液体は、前記膜型ポンプ(10、19)によって前記連結筐体(5)の中に輸送され、前記連結筐体(5)の中で広がってから前記導管(8)に沿って移動し、前記シャフト(2)をフラッシュするために使用される、
ことを特徴とするカテーテルポンプ。
【請求項3】
請求項1または2に記載のカテーテルポンプであって、
前記回転可能な前記シャフト(2)は柔軟であること、
を特徴とするカテーテルポンプ。
【請求項4】
請求項1から3のいずれか1項に記載のカテーテルポンプであって、
前記カテーテルポンプは、心室内手術用に構成されること、
を特徴とするカテーテルポンプ。
【請求項5】
請求項1から4のいずれか1項に記載のカテーテルポンプであって、
前記カテーテルポンプはロータリポンプであること、
を特徴とするカテーテルポンプ。
【請求項6】
請求項2に記載のカテーテルポンプであって、
前記導管(8)は、前記液体が前記遠位端に向かって流れる第1の導管領域(8a)と前記液体が前記近位端に向かって流れる第2の導管領域(8b)を含み、
前記供給装置は、
前記液体を前記第1の導管領域(8a)に供給する第1の膜型ポンプ(10)と、
前記液体を前記第2の導管領域(8b)から吸引する第2の膜型ポンプ(19)と、を備え、
前記第1の膜型ポンプ(10)は、前記連結筐体(5)を介して前記液体を前記第1の導管領域(8a)に供給し、
前記制御装置(11)は、生成される圧力および/または送出速度の点で前記第1の膜型ポンプ(10)と前記第2の膜型ポンプ(19)を個別に制御する、
ことを特徴とするカテーテルポンプ。
【請求項7】
請求項6に記載のカテーテルポンプであって、
前記液体の移動方向が、前記液体を前記第1の導管領域(8a)を通じて前記中空カテーテルの前記近位端から前記中空カテーテルの前記遠位端へと輸送し、前記第2の導管領域(8b)を通じて回収容器に戻す方向となるように構成される、
ことを特徴とするカテーテルポンプ。
【請求項8】
請求項6または7に記載のカテーテルポンプであって、
前記第1の膜型ポンプ(10)と前記第2の膜型ポンプ(19)は、前記液体の移動方向が逆転されるように制御される、
ことを特徴とするカテーテルポンプ。
【請求項9】
請求項8に記載のカテーテルポンプであって、
前記液体の移動方向が周期的に逆転されるように構成される、
ことを特徴とするカテーテルポンプ。
【請求項10】
請求項6から8のいずれか1項に記載のカテーテルポンプであって、
各ポンプに液体圧力センサ(15、22)が割り当てられること、
を特徴とするカテーテルポンプ。
(【請求項11】以降は省略されています)
発明の詳細な説明
【技術分野】
【0001】
本発明は、電気工学と機械学の分野に属し、医用工学の分野において特に有利に利用できる。
続きを表示(約 1,300 文字)
【0002】
具体的には、本発明は導管への液体の供給に関する。例えば、導管に液体を充填するのは、その導管の壁を冷却するため、またはその導管内に配置された可動部品を冷却もしくは潤滑させるため、および/またはこれらの部品をガスフリーの状態とするために必要であるかもしれない。この目的のために、原則として、この種の導管、例えばカニューレに、冷却液および/または潤滑液を供給することが知られている。液体は、原則としてポンプによって導管の中に、または導管を通じて移動されてもよい。
【背景技術】
【0003】
ここで、特に医療応用の場合、一方で、導管内に製作され、導管内で液体により運ばれるような摩耗部品がなく、他方で、導管内で液体が移動される速度ができるだけ低速であるが精密に制御されることがしばしば重要である。これに加えて、導管からの液体の損失を最小限にすることが望ましいかもしれない。
【0004】
例えば、特許文献1のような先行技術は、熱交換流体をカテーテルから、およびカテーテルへと輸送するポンプを有する熱交換システムを開示している。インペラホイールの形態の流動検出器が記載されており、熱交換流体により移動されるインペラホイールの回転速度は流速に対応する。インペラホイールの速度は、光バリアによって外部から測定され、これはインペラホイールの個々のブレードが前記バリアを通過するたびに中断される。
【0005】
医用膜型ポンプが特許文献2から知られており、これはインシュリンを少量ずつ輸送するために使用される。そこには、拍動送出モードについても記載されている。
【0006】
特許文献3は、外部に向かう戻り導管を有するカテーテルをフラッシュすることによって、カテーテル内の堆積物をできるかぎり最小化する方法を開示している。とりわけ、そこにはパルス式のフラッシュが記載されており、これは電磁弁によって制御できる。
【先行技術文献】
【特許文献】
【0007】
独国実用新案第20 2005 021 999 U1号
旧東独特許第202 805 A1号
独国特許第694 09 587 T2号
【発明の概要】
【発明が解決しようとする課題】
【0008】
先行技術の背景に照らし、本発明の目的はしたがって、導管に液体を供給する供給装置およびこのような供給措置の動作方法を考案することであり、低い流速で液体の流れを制御された方法で制御できるようにする単純な設計のソリューションが求められる。
【課題を解決するための手段】
【0009】
この目的は、本発明によれば、特許請求の範囲の独立項による供給装置と方法によって達成される。特別な実施形態は従属項に記載されている。
【0010】
本発明はしたがって、導管に液体を供給し、膜型ポンプを有する供給装置の操作方法に関する。この方法は、膜型ポンプが、生成される圧力および/または送出速度の点で制御されることを特徴とする。
(【0011】以降は省略されています)
この特許をJ-PlatPat(特許庁公式サイト)で参照する
関連特許
個人
貼付剤
21日前
個人
簡易担架
3日前
個人
足踏み器具
10日前
個人
短下肢装具
3か月前
個人
腋臭防止剤
3日前
個人
洗井間専家。
7か月前
個人
排尿補助器具
1か月前
個人
前腕誘導装置
4か月前
個人
嚥下鍛錬装置
4か月前
個人
ホバーアイロン
7か月前
個人
腰ベルト
24日前
個人
歯の修復用材料
4か月前
個人
バッグ式オムツ
5か月前
個人
ウォート指圧法
1か月前
個人
胸骨圧迫補助具
2か月前
個人
アイマスク装置
2か月前
個人
矯正椅子
5か月前
個人
汚れ防止シート
1か月前
個人
排尿排便補助器具
5日前
個人
湿布連続貼り機。
3か月前
個人
陣痛緩和具
4か月前
個人
歯の保護用シール
5か月前
個人
美容セット
12日前
個人
哺乳瓶冷まし容器
3か月前
個人
シャンプー
6か月前
株式会社大野
骨壷
4か月前
個人
性行為補助具
3か月前
個人
治療用酸化防御装置
2か月前
株式会社コーセー
化粧料
1か月前
個人
エア誘導コルセット
2か月前
株式会社八光
剥離吸引管
5か月前
個人
こむら返り応急治し具
10日前
個人
高気圧環境装置
5か月前
株式会社ダリヤ
毛髪化粧料
1か月前
個人
手指運動ツール
3か月前
株式会社コロナ
サウナ装置
6か月前
続きを見る
他の特許を見る