TOP
|
特許
|
意匠
|
商標
特許ウォッチ
Twitter
他の特許を見る
10個以上の画像は省略されています。
公開番号
2025170018
公報種別
公開特許公報(A)
公開日
2025-11-14
出願番号
2025141511,2024194448
出願日
2025-08-27,2020-07-20
発明の名称
ビデオ信号処理方法及び装置
出願人
ウィルス インスティテュート オブ スタンダーズ アンド テクノロジー インコーポレイティド
代理人
個人
,
個人
,
個人
主分類
H04N
19/119 20140101AFI20251107BHJP(電気通信技術)
要約
【課題】2次変換を用いるビデオ信号処理方法を提供する。
【解決手段】ビデオ信号復号化装置は、プロセッサを含み、前記プロセッサは、既に設定された条件に基づき、現在変換ブロック(transform block,TB)の分割方向を示す結果値を決定し、前記結果値に基づき、前記現在変換ブロックを複数個の変換ブロックに分割し、前記複数個の変換ブロックを用いてビデオ信号を復号化するが、前記既に設定された条件は、前記現在変換ブロックのカラー成分(color component)に関連した条件を含むことを特徴とする。
【選択図】図46
特許請求の範囲
【請求項1】
プロセッサを含むビデオ信号復号化装置であって、
前記プロセッサは、
現在変換ブロックの分割方向が垂直方向または水平方向であることを示す結果値を決定し、
前記結果値に基づき、前記現在変換ブロックを複数個の変換ブロックに分割し、
前記複数個の変換ブロックに基づいて前記現在変換ブロックを復号化する
ように構成され、
前記結果値は、前記現在変換ブロックの幅と最大変換ブロック幅とを比較した結果と、第1値と第2値とを比較した結果とに基づいて決定され、
前記最大変換ブロック幅は、前記現在変換ブロックに関連したクロマフォーマット、前記現在変換ブロックのカラー成分、および最大変換サイズに基づいて決定され、
i)前記現在変換ブロックの前記カラー成分がルーマ成分である場合、
前記第1値は、前記現在変換ブロックの前記幅と1を掛けることによって取得され、
前記第2値は、前記現在変換ブロックの高さと1を掛けることによって取得され、
ii)前記現在変換ブロックの前記カラー成分がクロマ成分である場合、
前記第1値は、前記現在変換ブロックの前記幅とSubWidthCを掛けることによって取得され、
前記第2値は、前記現在変換ブロックの前記高さとSubHeightCを掛けることによって取得され、
前記SubWidthCおよび前記SubHeightCのそれぞれは、前記現在変換ブロックに関連した前記クロマフォーマットに基づいて決定される変数である、
ビデオ信号復号化装置。
続きを表示(約 2,800 文字)
【請求項2】
前記現在変換ブロックの前記カラー成分がルーマ成分である場合、前記最大変換ブロック幅は、前記最大変換サイズであり、
前記現在変換ブロックの前記カラー成分がクロマ成分である場合、前記最大変換ブロック幅は、前記最大変換サイズを前記SubWidthCで割ったものである、
請求項1に記載のビデオ信号復号化装置。
【請求項3】
前記現在変換ブロックの前記カラー成分がクロマ成分であり、前記現在変換ブロックに関連した前記クロマフォーマットが4:2:0である場合、前記SubWidthCは2であり、前記SubHeightCは2であり、
前記現在変換ブロックの前記カラー成分がクロマ成分であり、前記現在変換ブロックに関連した前記クロマフォーマットが4:2:2である場合、前記SubWidthCは2であり、前記SubHeightCは1であり、
前記現在変換ブロックの前記カラー成分がクロマ成分であり、前記現在変換ブロックに関連した前記クロマフォーマットが4:4:4である場合、前記SubWidthCは1であり、前記SubHeightCは1である、
請求項1に記載のビデオ信号復号化装置。
【請求項4】
前記現在変換ブロックの前記幅が前記最大変換ブロック幅以下であるか、又は前記第1値が前記第2値以下である場合、前記結果値は、前記分割方向が前記水平方向であることを示す値である0と決定され、
前記現在変換ブロックの前記幅が前記最大変換ブロック幅よりも大きく、前記第1値が前記第2値よりも大きい場合、前記結果値は、前記分割方向が前記垂直方向であることを示す値である1と決定される、
請求項1に記載のビデオ信号復号化装置。
【請求項5】
前記結果値が0であると決定された場合、
前記複数個の変換ブロックのそれぞれの幅は、前記現在変換ブロックの前記幅と同じであり、
前記複数個の変換ブロックのそれぞれの高さは、前記現在変換ブロックの前記高さを2で割ったものであり、
前記結果値が1であると決定された場合、
前記複数個の変換ブロックのそれぞれの幅は、前記現在変換ブロックの前記幅を2で割ったものであり、
前記複数個の変換ブロックのそれぞれの高さは、前記現在変換ブロックの前記高さと同じである、
請求項4に記載のビデオ信号復号化装置。
【請求項6】
プロセッサを含むビデオ信号符号化装置であって、
前記プロセッサは、
復号化方法を用いてデコーダによって復号化されるべきビットストリームを取得するよう構成され、
前記復号化方法は、
現在変換ブロックの分割方向が垂直方向又は水平方向であることを示す結果値を決定する段階と、
前記結果値に基づき、前記現在変換ブロックを複数個の変換ブロックに分割する段階と、
前記複数個の変換ブロックに基づいて前記現在変換ブロックを復号化する段階と
を含み、
前記結果値は、前記現在変換ブロックの幅と最大変換ブロック幅とを比較した結果と、第1値と第2値とを比較した結果とに基づいて決定され、
前記最大変換ブロック幅は、前記現在変換ブロックに関連したクロマフォーマット、前記現在変換ブロックのカラー成分、および最大変換サイズに基づいて決定され、
i)前記現在変換ブロックの前記カラー成分がルーマ成分である場合、
前記第1値は、前記現在変換ブロックの前記幅と1を掛けることによって取得され、
前記第2値は、前記現在変換ブロックの高さと1を掛けることによって取得され、
ii)前記現在変換ブロックの前記カラー成分がクロマ成分である場合、
前記第1値は、前記現在変換ブロックの前記幅とSubWidthCを掛けることによって取得され、
前記第2値は、前記現在変換ブロックの前記高さとSubHeightCを掛けることによって取得され、
前記SubWidthCおよび前記SubHeightCのそれぞれは、前記現在変換ブロックに関連した前記クロマフォーマットに基づいて決定される変数である、
ビデオ信号符号化装置。
【請求項7】
前記現在変換ブロックの前記カラー成分がルーマ成分である場合、前記最大変換ブロック幅は、前記最大変換サイズであり、
前記現在変換ブロックの前記カラー成分がクロマ成分である場合、前記最大変換ブロック幅は、前記最大変換サイズを前記SubWidthCで割ったものである、
請求項6に記載のビデオ信号符号化装置。
【請求項8】
前記現在変換ブロックの前記カラー成分がクロマ成分であり、前記現在変換ブロックに関連した前記クロマフォーマットが4:2:0である場合、前記SubWidthCは2であり、前記SubHeightCは2であり、
前記現在変換ブロックの前記カラー成分がクロマ成分であり、前記現在変換ブロックに関連した前記クロマフォーマットが4:2:2である場合、前記SubWidthCは2であり、前記SubHeightCは1であり、
前記現在変換ブロックの前記カラー成分がクロマ成分であり、前記現在変換ブロックに関連した前記クロマフォーマットが4:4:4である場合、前記SubWidthCは1であり、前記SubHeightCは1である、
請求項6に記載のビデオ信号符号化装置。
【請求項9】
前記現在変換ブロックの前記幅が前記最大変換ブロック幅以下であるか、又は前記第1値が前記第2値以下である場合、前記結果値は、前記分割方向が前記水平方向であることを示す値である0と決定され、
前記現在変換ブロックの前記幅が前記最大変換ブロック幅よりも大きく、前記第1値が前記第2値よりも大きい場合、前記結果値は、前記分割方向が前記垂直方向であることを示す値である1と決定される、
請求項6に記載のビデオ信号符号化装置。
【請求項10】
前記結果値が0であると決定された場合、
前記複数個の変換ブロックのそれぞれの幅は、前記現在変換ブロックの前記幅と同じであり、
前記複数個の変換ブロックのそれぞれの高さは、前記現在変換ブロックの前記高さを2で割ったものであり、
前記結果値が1であると決定された場合、
前記複数個の変換ブロックのそれぞれの幅は、前記現在変換ブロックの前記幅を2で割ったものであり、
前記複数個の変換ブロックのそれぞれの高さは、前記現在変換ブロックの前記高さと同じである、
請求項9に記載のビデオ信号符号化装置。
(【請求項11】以降は省略されています)
発明の詳細な説明
【技術分野】
【0001】
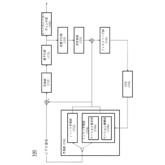
本発明はビデオ信号処理方法及び装置に関し、特にビデオ信号を符号化又は復号するビデオ信号処理方法及び装置に関する。
続きを表示(約 1,400 文字)
【背景技術】
【0002】
圧縮符号化とは、デジタル化した情報を通信回線を介して伝送するか、貯蔵媒体に適合した形態に貯蔵するための一連の信号処理技術を意味する。圧縮符号化の対象としては音声、映像、文字などの対象が存在するが、特に映像を対象とする圧縮符号化を行う技術をビデオ映像圧縮と称する。ビデオ信号に対する圧縮符号化は、空間的な相関関係、時間的な相関関係、確率的な相関関係などを考慮して剰余情報を除去することで行われる。しかし、最近の多様なメディア及びデータ伝送媒体の発展によって、より高効率のビデオ信号処理方法及び装置が求められている。
【発明の概要】
【発明が解決しようとする課題】
【0003】
本発明の目的は、ビデオ信号のコーディング効率を上げることにある。
【0004】
本発明の目的は、変換ユニット(ブロック)の分割を用いてビデオ信号のコーディング効率を上げることにある。
【0005】
本発明の目的は、画面内予測方法においてエンコーダが選択した予測モードを効率的に受信することにある。
【課題を解決するための手段】
【0006】
本明細書は、2次変換を用いるビデオ信号処理方法を提供する。
【0007】
具体的に、ビデオ信号復号化装置において、プロセッサを含み、前記プロセッサは、既に設定された条件に基づき、現在変換ブロック(transform block,TB)の分割方向を示す結果値を決定し、前記結果値に基づき、前記現在変換ブロックを複数個の変換ブロックに分割し、前記複数個の変換ブロックを用いてビデオ信号を復号化するが、前記既に設定された条件は、前記現在変換ブロックのカラー成分(color component)に関連した条件を含むことを特徴とする。
【0008】
また、本明細書において、前記既に設定された条件は、前記現在変換ブロックの幅と最大変換ブロック幅とを比較した結果に関連した条件をさらに含み、前記最大変換ブロック幅は、前記現在変換ブロックに関連したクロマフォーマット(chroma format)、前記現在変換ブロックのカラー成分及び最大変換サイズに基づいて決定されることを特徴とする。
【0009】
また、本明細書において、前記既に設定された条件は、前記現在変換ブロックの幅に第1値を掛けた値である第1幅値と、前記現在変換ブロックの高さに第2値を掛けた値である第1高さ値とを比較した結果に関連した条件をさらに含み、前記第1値及び前記第2値はそれぞれ、現在変換ブロックの幅及び現在変換ブロックの高さに関連した値であり、前記現在変換ブロックのカラー成分が、ルーマであれば、それぞれ1に設定され、クロマであれば、前記現在変換ブロックに関連したクロマフォーマットに基づいてそれぞれ決定されることを特徴とする。
【0010】
また、本明細書において、前記現在変換ブロックの幅が前記最大変換ブロック幅よりも大きく、前記第1幅値が前記第1高さ値よりも大きい場合に、前記結果値は、前記分割方向が垂直方向であることを示す値である1と決定され、前記複数個の変換ブロックのそれぞれの幅は、前記変換ブロックの幅を2で割った値であり、前記複数個の変換ブロックのそれぞれの高さは、前記変換ブロックの高さと同じ値であることを特徴とする。
(【0011】以降は省略されています)
この特許をJ-PlatPat(特許庁公式サイト)で参照する
関連特許
個人
イヤーピース
10日前
個人
イヤーマフ
24日前
個人
監視カメラシステム
1か月前
キーコム株式会社
光伝送線路
1か月前
個人
スイッチシステム
18日前
個人
スキャン式車載用撮像装置
1か月前
サクサ株式会社
中継装置
1か月前
サクサ株式会社
中継装置
1か月前
WHISMR合同会社
収音装置
2か月前
キヤノン株式会社
撮像装置
2か月前
アイホン株式会社
電気機器
2か月前
サクサ株式会社
無線通信装置
1か月前
キヤノン電子株式会社
画像読取装置
10日前
キヤノン電子株式会社
画像読取装置
1か月前
株式会社リコー
画像形成装置
2か月前
サクサ株式会社
無線システム
1か月前
株式会社リコー
画像形成装置
26日前
個人
ワイヤレスイヤホン対応耳掛け
1か月前
サクサ株式会社
無線通信装置
1か月前
ヤマハ株式会社
放音制御装置
18日前
キヤノン電子株式会社
画像読取装置
2か月前
キヤノン電子株式会社
画像読取装置
18日前
株式会社リコー
画像形成装置
2か月前
個人
映像表示装置、及びARグラス
19日前
キヤノン株式会社
画像処理装置
13日前
キヤノン株式会社
撮像システム
2か月前
キヤノン電子株式会社
シート搬送装置
10日前
個人
発信機及び発信方法
1か月前
日本電気株式会社
海底分岐装置
1か月前
パテントフレア株式会社
超高速電波通信
2か月前
シャープ株式会社
端末装置
1か月前
キヤノン電子株式会社
画像処理システム
1か月前
有限会社フィデリックス
マイクロフォン
1か月前
株式会社NTTドコモ
端末
1か月前
株式会社NTTドコモ
端末
1か月前
株式会社松平商会
携帯機器カバー
2か月前
続きを見る
他の特許を見る