TOP
|
特許
|
意匠
|
商標
特許ウォッチ
Twitter
他の特許を見る
10個以上の画像は省略されています。
公開番号
2025170003
公報種別
公開特許公報(A)
公開日
2025-11-14
出願番号
2025141013,2024176505
出願日
2025-08-27,2014-12-15
発明の名称
流体透過性ヒーター組立品を持つエアロゾル発生システム
出願人
フィリップ・モーリス・プロダクツ・ソシエテ・アノニム
代理人
個人
,
個人
,
個人
,
個人
,
個人
,
個人
主分類
A24F
40/46 20200101AFI20251107BHJP(たばこ;葉巻たばこ;紙巻たばこ;喫煙具)
要約
【課題】エアロゾル発生システムに適切なヒーター組立品を提供すること等。
【解決手段】流体透過性電気ヒーター組立品を備えたエアロゾル発生システムが提供されており、ヒーター組立品は、電気的に絶縁された基体と、電気的に絶縁された基体内に形成されている開口部と、電気的に絶縁された基体に固定された第一の面を持つヒーター要素とを含み、ヒーター要素は、開口部を横切って、また第一および第二の導電性接点部分に接続された複数の導電性フィラメントを含み、第一および第二の導電性接点部分は開口部の反対側に互いに向かい合って配置されているが、ここで第一および第二の導電性接点部分は外部電源と接触できるように構成されている。
【選択図】図6
特許請求の範囲
【請求項1】
流体透過性電気ヒーター組立品を備えたエアロゾル発生システムであって、前記ヒーター組立品が、
電気的に絶縁された基体と、
前記電気的に絶縁された基体内に形成されている開口部と、
前記電気的に絶縁された基体に固定されたヒーター要素とを含み、前記ヒーター要素が前記開口部を横切って、かつ第一および第二の導電性接点部分に接続された複数の導電性フィラメントを含み、前記第一および第二の導電性接点部分が互いに前記開口部の反対側に位置し、また前記複数の導電性フィラメントが隙間を形成し、前記フィラメントによって形成される前記隙間が75μm~25μmの幅を持ち、
前記第一および第二の導電性接点部分が外部電源と接触できるように構成されている、エアロゾル発生システム。
続きを表示(約 880 文字)
【請求項2】
複数の導電性フィラメントが前記ヒーター組立品の面積の10%~50%の面積を覆う、請求項1に記載のエアロゾル発生システム。
【請求項3】
前記導電性フィラメントの電気抵抗が、前記接点部分の電気抵抗よりも少なくとも2桁大きい、請求項1または2に記載のエアロゾル発生システム。
【請求項4】
前記ヒーター要素が前記電気的に絶縁された基体に固定された第一の面を持ち、かつ前記第一および第二の導電性接点部分が前記第一の面と反対にある前記ヒーター要素の第二の面にある外部電源と接触できるように構成されている、請求項1~3のいずれか1項に記載のエアロゾル発生システム。
【請求項5】
前記導電性フィラメントが実質的に平坦な面内にある、請求項1~4のいずれか1項に記載のエアロゾル発生システム。
【請求項6】
前記導電性フィラメントが互いに平行に配列されたフィラメントのアレイから成る、請求項1~5のいずれか1項に記載のエアロゾル発生システム。
【請求項7】
前記導電性フィラメントの面積が25mm
2
未満の、請求項1~6のいずれか1項に記載のエアロゾル発生システム。
【請求項8】
前記第一および第二の導電性接点部分が前記導電性フィラメントに固定された平面の接点部分を含む、請求項1~7のいずれか1項に記載のエアロゾル発生システム。
【請求項9】
前記ヒーター組立品が第一の材料でできた少なくとも一つのフィラメントおよび前記第一の材料とは異なる第二の材料でできた少なくとも一つのフィラメントを含む、請求項1~8のいずれか1項に記載のエアロゾル発生システム。
【請求項10】
液体エアロゾル形成基体を含むハウジングを含む液体貯蔵部分をさらに含み、前記ヒーター組立品が前記液体貯蔵部分の前記ハウジングに固定されている、請求項1~9のいずれか1項に記載のエアロゾル発生システム。
(【請求項11】以降は省略されています)
発明の詳細な説明
【技術分野】
【0001】
本発明は、液体を気化するのに適したヒーター組立品を含むエアロゾル発生システムに関連する。特に、本発明は、電気的に作動する喫煙システムなど、手持ち式のエアロゾル発生システムに関連する。
続きを表示(約 1,500 文字)
【背景技術】
【0002】
加熱してエアロゾルを形成することにより液体を気化する電気的に作動する喫煙システムは、一般に、液体を保持する毛細管材料の周りに巻かれたワイヤーのコイルを備える。ワイヤーを通過して電流は、毛細管材料内の液体を気化するワイヤーの抵抗加熱を引き起こす。毛細管材料は一般に、空気が芯を通って引き込まれ蒸気に混入されるように、気流経路内に保持される。その後、蒸気は冷却されエアロゾルを形成する。
【0003】
このタイプのシステムは、エアロゾルの生成については有効であり、また低コストかつ繰り返し可能な方法での製造には困難が伴う。また、芯およびコイル組立品は、関連付けられた電気的接続とともに、壊れやすく取扱いが困難となる可能性がある。
【0004】
製造が安価でありかつ丈夫な手持ち式電気的に作動する喫煙システムなど、エアロゾル発生システムに適切なヒーター組立品を提供することが望ましい。エアロゾル発生システムの先行するヒーター組立品よりも効率が良いヒーター組立品を提供することがさらに望ましい。
【発明の概要】
【0005】
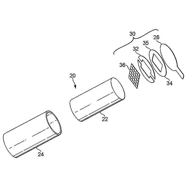
一つの態様において、流体透過性電気ヒーター組立品を備えたエアロゾル発生システムが提供されており、ヒーター組立品は、電気的に絶縁された基体と、電気的に絶縁された基体内に形成されている開口部と、電気的に絶縁された基体に固定されたヒーター要素とを含み、ヒーター要素は、開口部を横切って、また第一および第二の導電性接点部分に接続された複数の導電性フィラメントを含み、第一および第二の導電性接点部分は開口部の反対側に互いに向かい合って配置されているが、ここで第一および第二の導電性接点部分は外部電源と接触できるように構成されている。
【0006】
複数の導電性フィラメントは、フィラメントのメッシュまたはアレイを形成してもよく、または織物または不織布を含んでもよい。
【0007】
有利なことに、ヒーター要素は、電気的に絶縁された基体に固定された第一の面を持ち、かつ第一および第二の導電性接点部分は、ヒーター要素の第一の面と反対の第二の面にある外部電源と接触できるように構成される。
【0008】
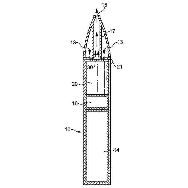
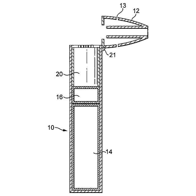
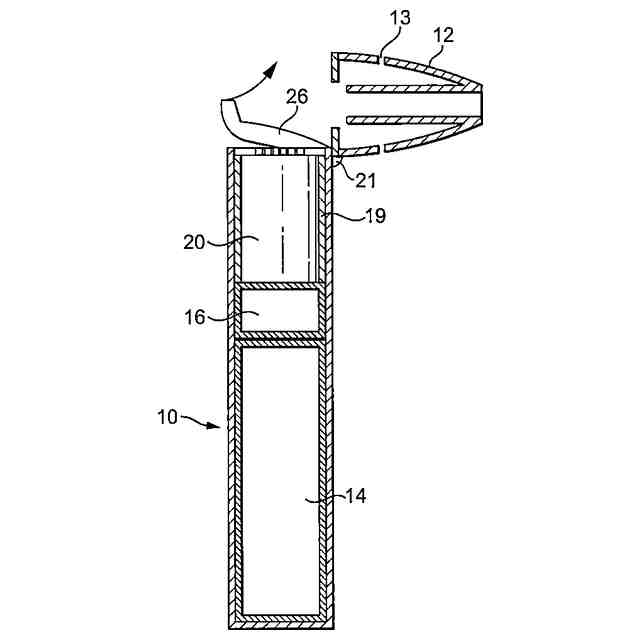
システムは、液体エアロゾル形成基体を含むハウジングを含む液体貯蔵部分をさらに備えうるが、ここでヒーター組立品は液体貯蔵部分のハウジングに固定される。ハウジングは剛直なハウジングであり、流体に対して不透過性であることが好ましい。本明細書で使用される場合、「剛直なハウジング」とは、自立型のハウジングを意味する。液体貯蔵部分の剛直なハウジングは、ヒーター組立品に対する機械的な支持を提供することが好ましい。
【0009】
液体貯蔵部分は、液体エアロゾル形成基体をヒーター組立品に伝達するよう構成された毛細管材料を備えうる。
【0010】
エアロゾル発生システムにこのタイプのヒーター組立品を提供することは、従来的な芯およびコイルの配置に比べていくつかの利点を持つ。フィラメントのメッシュまたはアレイを含むヒーター要素により、気化される液体と接触するヒーターの面積が大きくなる。ヒーター組立品は、容易に入手可能な材料を使用して、かつ大量生産技術を使用して安価に製造できる。ヒーター組立品は丈夫で、製造中の取扱いおよびエアロゾル発生システムの他の部品への固定が許容され、特に取り外し可能なカートリッジの部品を形成できる。ヒーター要素の部品を形成する導電性接点部分の提供により、信頼性がありかつ単純な電源へのヒーター組立品の接続が許容される。
(【0011】以降は省略されています)
この特許をJ-PlatPat(特許庁公式サイト)で参照する
関連特許
日本たばこ産業株式会社
香味吸引物品
2か月前
日本たばこ産業株式会社
喫煙システム
3か月前
日本たばこ産業株式会社
口腔用組成物
3か月前
日本たばこ産業株式会社
香味発生物品
2か月前
日本たばこ産業株式会社
香味吸引システム
3か月前
日本たばこ産業株式会社
香味吸引システム
3か月前
Future Technology株式会社
エアロゾル吸引カートリッジ
2か月前
日本たばこ産業株式会社
低香味原料を含むたばこセグメント
2か月前
Future Technology株式会社
たばこ用組成物、E-リキッド、たばこ製品
18日前
日本たばこ産業株式会社
粒状再生セルロースを含有する口腔用組成物
3か月前
日本たばこ産業株式会社
香味発生物品および香味吸引システム
3か月前
Future Technology株式会社
喫煙器具
2か月前
日本たばこ産業株式会社
たばこ材料、その製造方法、および非燃焼加熱型喫煙物品
2か月前
Future Technology株式会社
芳香カートリッジ
1か月前
Future Technology株式会社
被加熱芳香発生基材
3日前
Future Technology株式会社
タバコ充填物集積体
2か月前
Future Technology株式会社
喫煙具用カートリッジ
2か月前
Future Technology株式会社
喫煙具用カートリッジ
1か月前
Future Technology株式会社
喫煙具用カートリッジ
2か月前
Future Technology株式会社
電子タバコカートリッジ
24日前
Future Technology株式会社
被加熱芳香カートリッジ
2か月前
Future Technology株式会社
電子タバコカートリッジ
2か月前
Future Technology株式会社
電子タバコカートリッジ
2か月前
Future Technology株式会社
電子タバコカートリッジ
2か月前
日本たばこ産業株式会社
吸引装置、基材、及び制御方法
3日前
Future Technology株式会社
加熱式タバコ用カートリッジ
1か月前
Future Technology株式会社
加熱式タバコ用カートリッジ
2か月前
日本たばこ産業株式会社
非燃焼加熱型スティック、吸引システム
1か月前
ケーティー アンド ジー コーポレイション
エアロゾル生成システム
1か月前
日本たばこ産業株式会社
香味吸引器及び喫煙システム
1か月前
日本たばこ産業株式会社
香味吸引器及び喫煙システム
1か月前
日本たばこ産業株式会社
吸引装置、制御方法、及びプログラム
24日前
日本たばこ産業株式会社
吸引装置、制御方法、及びプログラム
24日前
日本たばこ産業株式会社
エアロゾル生成装置の電源ユニット
1か月前
日本たばこ産業株式会社
エアロゾル生成装置の電源ユニット
1か月前
日本たばこ産業株式会社
ヒータアッセンブリ及び香味吸引器
2か月前
続きを見る
他の特許を見る