TOP
|
特許
|
意匠
|
商標
特許ウォッチ
Twitter
他の特許を見る
10個以上の画像は省略されています。
公開番号
2025169991
公報種別
公開特許公報(A)
公開日
2025-11-14
出願番号
2025140583,2022550397
出願日
2025-08-26,2021-07-29
発明の名称
基地局、通信方法及び集積回路
出願人
パナソニック インテレクチュアル プロパティ コーポレーション オブ アメリカ
,
Panasonic Intellectual Property Corporation of America
代理人
弁理士法人鷲田国際特許事務所
主分類
H04W
72/20 20230101AFI20251107BHJP(電気通信技術)
要約
【課題】協調通信における通信効率を向上する。
【解決手段】基地局は、協調通信の種別に依存しないパラメータと種別に依存するパラメータとを含む制御信号を、他の基地局から受信する受信回路と、制御信号に基づいて、協調通信を行う制御回路と、を具備し、制御信号のフォーマットは、種別に基づいて決定され、種別に依存するパラメータのフィールド長は、種別に応じて可変である。
【選択図】図5
特許請求の範囲
【請求項1】
協調通信の種別に依存しないパラメータと前記種別に依存するパラメータとを含む制御信号を、他の基地局から受信する受信回路と、
前記制御信号に基づいて、前記協調通信を行う制御回路と、
を具備し、
前記制御信号のフォーマットは、前記種別に基づいて決定され、
前記種別に依存するパラメータのフィールド長は、前記種別に応じて可変である、
基地局。
続きを表示(約 980 文字)
【請求項2】
前記種別を示す情報は、前記種別に依存しないパラメータに含まれる、
請求項1に記載の基地局。
【請求項3】
前記他の基地局の識別情報は、前記種別に依存しないパラメータに含まれる、
請求項2に記載の基地局。
【請求項4】
前記制御信号には、前記基地局自身に接続する端末に個別の端末個別情報が含まれ、
前記種別を示す情報は、前記端末個別情報に含まれる、
請求項1に記載の基地局。
【請求項5】
前記制御信号は、複数の端末に個別の端末個別情報を含み、
前記複数の端末毎の前記種別を示す情報は、前記端末個別情報に含まれ、
前記端末個別情報の前記フォーマットは、前記種別に基づいて決定される、
請求項1に記載の基地局。
【請求項6】
前記端末個別情報のサイズは、前記種別間で共通、又は、前記種別毎に異なる、
請求項5に記載の基地局。
【請求項7】
前記制御信号のフォーマットは、複数の前記フォーマットのうちから選択基準に基づいて選択された何れか一つのフォーマットであり、
前記受信回路は、選択された前記フォーマットの種別を示す情報を含む前記制御信号を受信する、
請求項1に記載の基地局。
【請求項8】
基地局は、
協調通信の種別に依存しないパラメータと前記種別に依存するパラメータとを含む制御信号を、他の基地局から受信し、
前記制御信号に基づいて、前記協調通信を行い、
前記制御信号のフォーマットは、前記種別に基づいて決定され、
前記種別に依存するパラメータのフィールド長は、前記種別に応じて可変である、
通信方法。
【請求項9】
協調通信の種別に依存しないパラメータと前記種別に依存するパラメータとを含む制御信号を、他の基地局から受信する、処理と、
前記制御信号に基づいて、前記協調通信を行う、処理と、
を制御する、集積回路であって、
前記制御信号のフォーマットは、前記種別に基づいて決定され、
前記種別に依存するパラメータのフィールド長は、前記種別に応じて可変である、
集積回路。
発明の詳細な説明
【技術分野】
【0001】
本開示は、基地局、通信装置及び通信方法に関する。
続きを表示(約 2,100 文字)
【背景技術】
【0002】
The Institute of Electrical and Electronics Engineers(IEEE)において、規格IEEE 802.11ax(以下、「11ax」とも呼ぶ)の後継規格にあたる次世代無線ローカルエリアネットワーク(Local Area Network:LAN)向けの規格IEEE 802.11be(以下、「11be」とも呼ぶ)の検討が進められている。例えば、IEEE 802.axはHigh Efficiency(HE)とも呼ばれ、IEEE 802.beはExtream High Throughput(EHT)とも呼ばれる。
【先行技術文献】
【非特許文献】
【0003】
IEEE 802.11-19/0804r0, Multi-AP Transmission Procedure
IEEE 802.11-19/1788r1, Coordinated OFDMA Operation
IEEE 802.11-19/1102r0, A unified transmission procedure for multi-AP coordination
IEEE 802.11-20/0033r1, coordinated spatial reuse operation
IEEE 802.11-20/0576r1, Coordinated Spatial Reuse Protocol
【発明の概要】
【0004】
しかしながら、無線LAN等の無線通信における協調通信の制御方法については十分に検討されていない。
【0005】
本開示の非限定的な実施例は、協調通信における通信効率を向上できる基地局、通信装置及び通信方法の提供に資する。
【0006】
本開示の一実施例に係る基地局は、協調通信の種別に基づいて、制御信号のフォーマットを決定する制御回路と、前記フォーマットによって、前記制御信号を他の基地局へ送信する送信回路と、を具備する。
【0007】
なお、これらの包括的または具体的な態様は、システム、装置、方法、集積回路、コンピュータプログラム、または、記録媒体で実現されてもよく、システム、装置、方法、集積回路、コンピュータプログラムおよび記録媒体の任意な組み合わせで実現されてもよい。
【0008】
本開示の一実施例によれば、協調通信における通信効率を向上できる。
【0009】
本開示の一実施例における更なる利点および効果は、明細書および図面から明らかにされる。かかる利点および/または効果は、いくつかの実施形態並びに明細書および図面に記載された特徴によってそれぞれ提供されるが、1つまたはそれ以上の同一の特徴を得るために必ずしも全てが提供される必要はない。
【図面の簡単な説明】
【0010】
Multi-AP(MAP) Triggerフレームフォーマットの一例を示す図
MAPの構成例を示す図
MAPタイプ毎の通知情報の一例を示す図
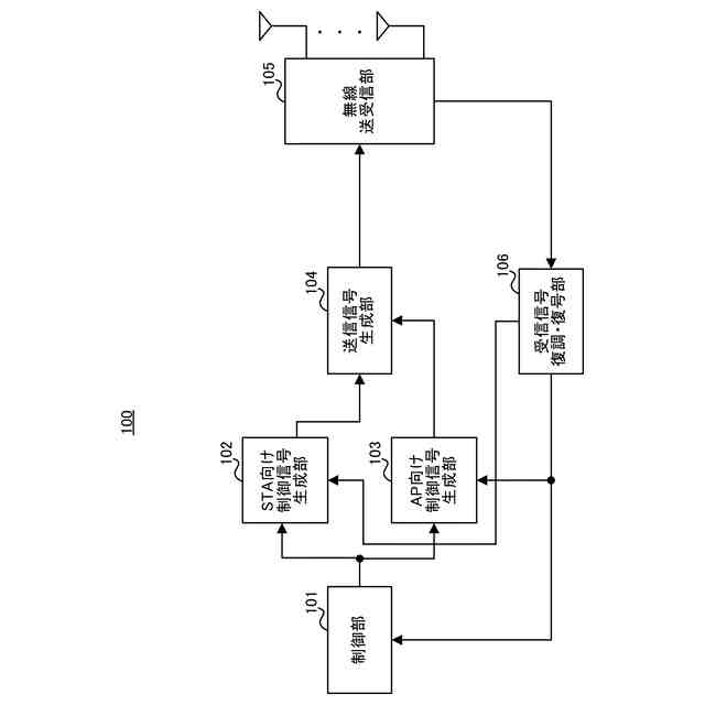
実施の形態1に係るAPの一部の構成例を示すブロック図
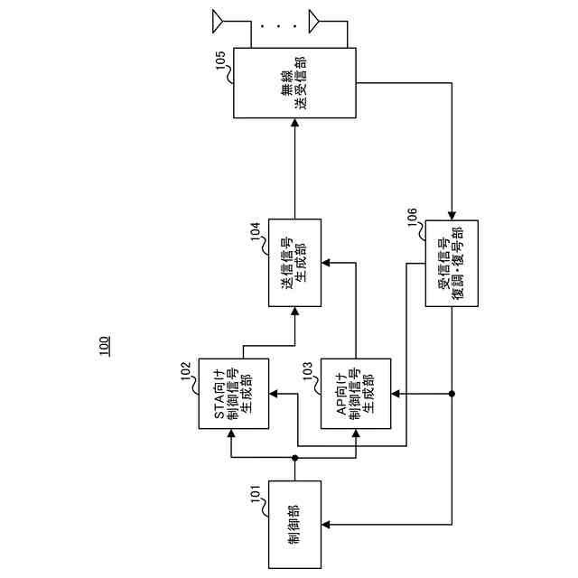
実施の形態1に係るAPの構成例を示すブロック図
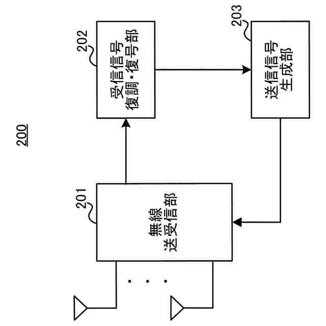
実施の形態1に係るSTAの構成例を示すブロック図
実施の形態1に係るMAP Triggerフレームフォーマットの一例を示す図
Frame Controlフィールドの定義例を示す図
MAPタイプの定義例を示す図
MAPタイプの定義例を示す図
実施の形態2に係るMAP Triggerフレームフォーマットの一例を示す図
Trigger Type subfieldの定義例を示す図
実施の形態3に係るMAP Triggerフレームフォーマットの一例を示す図
Trigger Type subfieldの定義例を示す図
実施の形態4に係るMAP Triggerフレームフォーマットの一例を示す図
実施の形態5に係るMAP Triggerフレームフォーマットの一例を示す図
実施の形態4及び実施の形態5の比較例を示す図
実施の形態6に係るMAP Triggerフレームフォーマットの一例を示す図
実施の形態6に係るMAP Triggerフレームフォーマットの一例を示す図
Total MAP Type及びMAP Type Indexの定義例を示す図
実施の形態7に係るMAP Triggerフレームフォーマットの一例を示す図
実施の形態8に係るMAP Triggerフレームフォーマットの一例を示す図
Station(STA)毎にMAPタイプが異なる場合のMAPタイプの指示例を示す図
実施の形態6、7及び8の比較例を示す図
実施の形態9に係るMAP Triggerフレームフォーマットの一例を示す図
【発明を実施するための形態】
(【0011】以降は省略されています)
この特許をJ-PlatPat(特許庁公式サイト)で参照する
関連特許
個人
イヤーピース
10日前
個人
イヤーマフ
24日前
個人
監視カメラシステム
1か月前
個人
スイッチシステム
18日前
キーコム株式会社
光伝送線路
1か月前
個人
スキャン式車載用撮像装置
1か月前
サクサ株式会社
中継装置
1か月前
サクサ株式会社
中継装置
1か月前
WHISMR合同会社
収音装置
2か月前
キヤノン株式会社
撮像装置
2か月前
アイホン株式会社
電気機器
2か月前
キヤノン電子株式会社
画像読取装置
18日前
株式会社リコー
画像形成装置
2か月前
サクサ株式会社
無線通信装置
1か月前
ヤマハ株式会社
放音制御装置
18日前
株式会社リコー
画像形成装置
2か月前
株式会社リコー
画像形成装置
26日前
キヤノン電子株式会社
画像読取装置
2か月前
個人
ワイヤレスイヤホン対応耳掛け
1か月前
サクサ株式会社
無線通信装置
1か月前
キヤノン電子株式会社
画像読取装置
10日前
サクサ株式会社
無線システム
1か月前
個人
映像表示装置、及びARグラス
19日前
キヤノン電子株式会社
画像読取装置
1か月前
キヤノン株式会社
画像処理装置
13日前
キヤノン株式会社
撮像システム
2か月前
日本電気株式会社
海底分岐装置
1か月前
個人
発信機及び発信方法
1か月前
キヤノン電子株式会社
シート搬送装置
10日前
株式会社NTTドコモ
端末
1か月前
シャープ株式会社
端末装置
1か月前
株式会社NTTドコモ
端末
1か月前
株式会社NTTドコモ
端末
1か月前
株式会社NTTドコモ
端末
1か月前
パテントフレア株式会社
超高速電波通信
2か月前
沖電気工業株式会社
画像形成装置
1か月前
続きを見る
他の特許を見る