TOP
|
特許
|
意匠
|
商標
特許ウォッチ
Twitter
他の特許を見る
10個以上の画像は省略されています。
公開番号
2025169941
公報種別
公開特許公報(A)
公開日
2025-11-14
出願番号
2025093403,2023524447
出願日
2025-06-04,2021-10-19
発明の名称
電界効果トランジスタを使用する電動工具デバイスにおける電流感知
出願人
ミルウォーキー エレクトリック ツール コーポレイション
代理人
弁理士法人ITOH
主分類
H02M
7/48 20070101AFI20251107BHJP(電力の発電,変換,配電)
要約
【課題】シャント抵抗を使用することなく、電圧に基づいて電界効果トランジスタを流れる電流を測定する
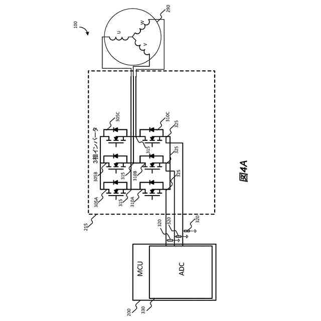
【解決手段】電動工具デバイス100は、ハウジングと、電源インターフェースと、電源インターフェースと電動工具デバイス100の負荷290との間に接続されたハウジング内の電界効果トランジスタと、電界効果トランジスタに結合された電子プロセッサ200と、を含む。電子プロセッサ200は、電界効果トランジスタを制御して負荷290を駆動し、電界効果トランジスタの端子における電圧を測定するように構成される。電子プロセッサ200はまた、シャント抵抗を使用することなく、電圧に基づいて電界効果トランジスタを流れる電流を判定するように構成される。
【選択図】図4A
特許請求の範囲
【請求項1】
電動工具デバイスであって、
ハウジングと、
電源インターフェースと、
前記電源インターフェースと当該電動工具デバイスの負荷との間に接続された前記ハウジング内の電界効果トランジスタと、
前記電源インターフェースと前記負荷との間に結合されたインバータ回路であって、前記電界効果トランジスタは、インバータ回路のコンポーネントである、インバータ回路と、
前記電界効果トランジスタの電流感知端子と接地との間に結合されたバイアス抵抗であって、前記電流感知端子と前記バイアス抵抗との間の接続点が、電圧を測定するために使用される、バイアス抵抗と、
前記電界効果トランジスタに接続された電子プロセッサと、を含み、前記電子プロセッサは、
前記電界効果トランジスタを制御して前記負荷を駆動し、
前記電界効果トランジスタの前記電流感知端子における電圧を測定し、
シャント抵抗を使用することなく、前記電流感知端子における前記電圧に基づいて、前記電流感知端子において前記電界効果トランジスタを通じて流れる電流を判定する、
ように構成される、
電動工具デバイス。
続きを表示(約 1,500 文字)
【請求項2】
前記電界効果トランジスタは、前記インバータ回路のローサイド電界効果トランジスタである、請求項1に記載の電動工具デバイス。
【請求項3】
前記電界効果トランジスタは、前記インバータ回路のハイサイド電界効果トランジスタである、請求項1に記載の電動工具デバイス。
【請求項4】
前記電圧を受け取って、前記電圧を前記電子プロセッサ用のデジタル値に変換するように構成された、アナログ-デジタルコンバータを更に備える、請求項1に記載の電動工具デバイス。
【請求項5】
当該電動工具デバイスは、解体ハンマであり、
前記ハウジングは、チゼルを受容するように構成された工具ホルダを含む、
請求項1に記載の電動工具デバイス。
【請求項6】
前記電動工具デバイスが、チェーンソーである、請求項1に記載の電動工具デバイス。
【請求項7】
ハウジングと、
前記ハウジング内のモータと、
電源インターフェースと前記モータとの間に結合された前記ハウジング内のインバータ回路であって、
前記電源インターフェースの正電源端子と前記モータとの間に結合された複数のハイサイド電界効果トランジスタ(FET)と、
前記モータと前記電源インターフェースの負電源端子との間に結合された複数のローサイドFETと、
前記複数のハイサイドFET及び前記複数のローサイドFETの各FETの各ソース端子と接地との間に結合されたバイアス抵抗であって、各ソース端子と前記バイアス抵抗との間の接続点が電圧を測定するために使用される、バイアス抵抗と、を含む、
インバータ回路と、
前記複数のハイサイドFET及び前記複数のローサイドFETに結合された電子プロセッサであって、
前記複数のハイサイドFET及び前記複数のローサイドFETの第1のペアを活性化して、前記モータの第1の相を活性化し、
活性化されている前記モータの前記第1の相に応じて、第1の活性化FETを使用して前記モータを通じて流れる第1の電流を測定し、
前記第1の活性化FETの第1のソース端子における第1の電圧を測定し、
前記第1の電圧に基づいて前記第1の電流を判定し、
前記複数のハイサイドFET及び前記複数のローサイドFETの第2のペアを活性化して、前記モータの第2の相を活性化し、
活性化されている前記モータの前記第2の相に応じて、第2の活性化FETを使用して前記モータを通じて流れる第2の電流を測定し、
前記複数のハイサイドFET及び前記複数のローサイドFETの第3のペアを活性化して、前記モータの第3の相を活性化し、
活性化されている前記モータの前記第3の相に応じて、第3の活性化FETを使用して前記モータを通じて流れる第3の電流を測定する、
ように構成された、
電子プロセッサと、を備える、
電動工具。
【請求項8】
前記第1の活性化FETは、前記複数のローサイドFETのうちの1つである、請求項7に記載の電動工具。
【請求項9】
前記第1の活性化FETは、前記複数のハイサイドFETのうちの1つである、請求項7に記載の電動工具。
【請求項10】
前記電子プロセッサは、
前記第2の活性化FETの第2のソース端子における第2の電圧を測定し、
前記第2の電圧に基づいて前記第2の電流を判定する、ように更に構成されている、
請求項7に記載の電動工具。
(【請求項11】以降は省略されています)
発明の詳細な説明
【技術分野】
【0001】
(関連出願の参照)
本出願は、2020年10月20日出願の米国仮特許出願第63/094,100号明細書の利益を主張するものであり、この出願の内容全体が参照により本明細書に組み込まれる。
続きを表示(約 900 文字)
【発明の概要】
【0002】
本明細書に記載の電動工具デバイスは、ハウジングと、電源インターフェースと、電源インターフェースと電動工具デバイスの負荷との間に接続されたハウジング内の電界効果トランジスタと、電界効果トランジスタに結合された電子プロセッサと、を含む。電子プロセッサは、電界効果トランジスタを制御して負荷を駆動し、電界効果トランジスタの端子における電圧を測定するように構成される。電子プロセッサはまた、シャント抵抗を使用することなく、電圧に基づいて電界効果トランジスタを流れる電流を判定するように構成される。
【0003】
いくつかの態様では、端子は、電界効果トランジスタのソースである。
【0004】
いくつかの態様では、電動工具デバイスはまた、電源インターフェースと負荷との間に結合されたインバータ回路を含み、電界効果トランジスタは、インバータ回路の構成要素である。
【0005】
いくつかの態様では、電界効果トランジスタは、インバータ回路のローサイド電界効果トランジスタである。
【0006】
いくつかの態様では、電動工具デバイスはまた、ローサイド電界効果トランジスタの電流感知端子と接地との間に結合されたバイアス抵抗を含む。電流感知端子とバイアス抵抗との間の接続点は、電圧の測定に使用される。
【0007】
いくつかの態様では、電界効果トランジスタは、インバータ回路のハイサイド電界効果トランジスタである。
【0008】
いくつかの態様では、電動工具デバイスはまた、電圧を受け取り、電圧を電子プロセッサ用のデジタル値に変換するように構成されたアナログ-デジタルコンバータを含む。
【0009】
いくつかの態様では、電動工具デバイスは、解体ハンマであり、ハウジングは、チゼルを受容するように構成された工具ホルダを含む。
【0010】
いくつかの態様では、電動工具デバイスは、チェーンソーである。
(【0011】以降は省略されています)
この特許をJ-PlatPat(特許庁公式サイト)で参照する
関連特許
他の特許を見る